LEMON Manuals: Even more car manuals for everyone: 1960-2025
Home >> Toyota >> 2017 >> RAV4 LE, AWD >> Repair and Diagnosis (Single Page) >> Accessories & Equipment >> Infotainment >> Navigation System - Diagnostics & Symptom Tests - (Except Hybrid) >> Navigation System >> Symptom Tests >> Vehicle Speed Signal Circuit between Navigation Receiver Assembly and Combination Meter [11/2013 - 10/2015] >> Procedure
April 5, 2026: LEMON Manuals is launched! Read the announcement.

Vehicle Speed Signal Circuit between Navigation Receiver Assembly and Combination Meter [11/2013 - 10/2015]: Procedure

  1. CHECK COMBINATION METER ASSEMBLY (OUTPUT WAVEFORM) 
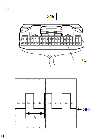
    1. Check the output waveform.
      GTY445355Courtesy of © TOYOTA, LICENSE AGREEMENT TMS1002
      *a Component with harness connected
      (Combination Meter Assembly)
      1. Remove the combination meter assembly with the connector(s) still connected.

        Refer to REMOVAL [12/2012 - ] .

      2. Connect an oscilloscope to terminal G16-6 (+S) and body ground.
      3. Turn the ignition switch to ON.
      4. Turn a wheel slowly.
      5. Check the signal waveform according to the condition(s) in the table below.
        Item Condition
        Measurement terminal G16-6 (+S) - Body ground
        Tool setting 5 V/DIV., 20 ms./DIV.
        Vehicle condition Wheel being rotated

        OK

        The waveform is similar to that shown in the illustration.

        HINT: 

        When the system is functioning normally, one wheel revolution generates 4 pulses. As the vehicle speed increases, the width indicated by (A) in the illustration narrows.

      Result Proceed to
      OK
      NG

    Result: 

    NG 

    GO TO METER / GAUGE SYSTEM. Refer to  HOW TO PROCEED WITH TROUBLESHOOTING [12/2012 - ]  . 

    Result: 

    OK 

    See step  2

  2. CHECK HARNESS AND CONNECTOR (NAVIGATION RECEIVER ASSEMBLY - COMBINATION METER ASSEMBLY) 
    1. Disconnect the G143 navigation receiver assembly connector.
    2. Disconnect the G16 combination meter assembly connector.
    3. Measure the resistance according to the value(s) in the table below.

      Standard Resistance

      Tester Connection Condition Specified Condition
      G143-17 (SPD) - G16-6 (+S) Always Below 1 Ω
      G143-17 (SPD) - Body ground Always 10 kΩ or higher
      Result Proceed to
      OK
      NG

    Result: 

    OK 

    PROCEED TO NEXT SUSPECTED AREA SHOWN IN PROBLEM SYMPTOMS TABLE. Refer to  PROBLEM SYMPTOMS TABLE [11/2013 - 10/2015]  . 

    Result: 

    NG 

    REPAIR OR REPLACE HARNESS OR CONNECTOR