LEMON Manuals: Even more car manuals for everyone: 1960-2025
Home >> Toyota >> 2017 >> RAV4 XLE, AWD >> Repair and Diagnosis (Single Page) >> Accessories & Equipment >> Anti-Theft Systems >> Smart Key System (Entry Function) - Diagnostic Codes & Symptom Tests - (Except Hybrid) >> SMART KEY SYSTEM (for Entry Function) >> Symptom Tests >> All Door Entry Lock/Unlock Functions and Wireless Functions do not Operate [12/2012 - 08/2016] >> Procedure
April 5, 2026: LEMON Manuals is launched! Read the announcement.

All Door Entry Lock/Unlock Functions and Wireless Functions do not Operate [12/2012 - 08/2016]: Procedure

  1. INSPECT BATTERY VOLTAGE 
    1. Measure the voltage of the vehicle battery.

      Standard voltage

      11 to 14 V

      HINT: 

      It may be possible to tell whether the vehicle battery is discharged by operating the horn.

      If the voltage is below 11 V, recharge or replace the vehicle battery before proceeding.

    Result: 

    NEXT 

    See step  2

  2. CHECK FOR DTC 
    1. Open the driver door using the mechanical key built into the electrical key transmitter sub-assembly.
    2. Connect the Techstream and check for DTCs.

      Refer to DTC CHECK / CLEAR [12/2012 - ] .

      Body Electrical > Smart Key > Trouble Codes 

      HINT: 

      When using the Techstream with the engine switch off to troubleshoot: Connect the Techstream to the DLC3 and turn a courtesy light switch on and off at 1.5-second intervals until communication between the Techstream and vehicle begins.

      Result Proceed to
      DTC is not output
      DTC is output

    Result: 

    DTC is output 

    GO TO DIAGNOSTIC TROUBLE CODE CHART. Refer to  DIAGNOSTIC TROUBLE CODE CHART [12/2012 - 08/2016]  . 

    Result: 

    DTC is not output 

    See step  3

  3. CHECK POWER DOOR LOCK CONTROL SYSTEM 
    1. When the door control switch on the multiplex network master switch assembly on the driver door is operated, check that the doors unlock and lock according to the switch operation.

      Refer to OPERATION CHECK [12/2012 - ] .

      OK

      Door locks operate normally.

      Result Proceed to
      Door locks operate normally
      Door locks do not operate

    Result: 

    Door locks do not operate 

    GO TO POWER DOOR LOCK CONTROL SYSTEM. Refer to  HOW TO PROCEED WITH TROUBLESHOOTING [12/2012 - ]  . 

    Result: 

    Door locks operate normally 

    See step  4

  4. CHECK KEY DIAGNOSTIC MODE 
    1. Check the following antennas in key diagnostic mode.

      Refer to OPERATION CHECK [12/2012 - 08/2016] .

    2. Select either channel 1 or channel 2 and perform the key diagnostic mode inspection for each channel.

      HINT: 

      If the buzzer sounds with [CH1] displayed but not with [CH2], the electrical key transmitter sub-assembly cannot be detected by channel 2 due to a malfunction, such as wave interference.

      1. Check the electrical key antenna (for driver door):

        When the electrical key transmitter sub-assembly is brought within 0.7 to 1 m (2.30 to 3.28 ft.) of the front door outside handle assembly (for driver door), check that the wireless door lock buzzer sounds.

        GTY367216Courtesy of © TOYOTA, LICENSE AGREEMENT TMS1002
        *a 0.7 to 1 m (2.30 to 3.28 ft.)

        Body Electrical > Smart Key > Utility 

        Tester Display
        Communication Check(Key Diag Mode)
      2. Check the electrical key antenna (for front passenger door):

        When the electrical key transmitter sub-assembly is brought within 0.7 to 1 m (2.30 to 3.28 ft.) of the front door outside handle assembly (for front passenger door), check that the wireless door lock buzzer sounds.

        Body Electrical > Smart Key > Utility 

        Tester Display
        Communication Check(Key Diag Mode)
        GTY376709Courtesy of © TOYOTA, LICENSE AGREEMENT TMS1002
        *a 0.7 to 1 m (2.30 to 3.28 ft.)
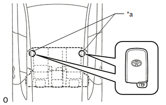
      3. Check the No. 1 indoor electrical key antenna (front floor):
        GTY376005Courtesy of © TOYOTA, LICENSE AGREEMENT TMS1002
        *a Inspection Point

        When the electrical key transmitter sub-assembly is at either inspection point, check that the wireless door lock buzzer sounds.

        Body Electrical > Smart Key > Utility 

        Tester Display
        Communication Check(Key Diag Mode)
      4. Check the No. 2 indoor electrical key antenna (rear floor):
        GTY383665Courtesy of © TOYOTA, LICENSE AGREEMENT TMS1002
        *a Inspection Point

        When the electrical key transmitter sub-assembly is at either inspection point, check that the wireless door lock buzzer sounds.

        Body Electrical > Smart Key > Utility 

        Tester Display
        Communication Check(Key Diag Mode)
      5. Check the electrical key antenna (outside luggage):
        GTY375357Courtesy of © TOYOTA, LICENSE AGREEMENT TMS1002
        *a 0.7 to 1 m (2.30 to 3.28 ft.)

        When the electrical key transmitter sub-assembly is brought within 0.7 to 1 m (2.30 to 3.28 ft.) of the electrical key antenna (outside luggage), check that the wireless door lock buzzer sounds.

        Body Electrical > Smart Key > Utility 

        Tester Display
        Communication Check(Key Diag Mode)

        OK

        Wireless door lock buzzer sounds.

      Result Proceed to
      Diagnostic mode inspections fail for both channels A
      Diagnostic mode inspections succeed for both channels B
      Diagnostic mode inspection succeeds for only one of the channels C

    Result: 

    See step  10

    Result: 

    See step  11

    Result: 

    See step  5

  5. CHECK ELECTRICAL KEY TRANSMITTER SUB-ASSEMBLY 
    1. Check if there are any other registered electrical key transmitter sub-assemblies.
      Result Proceed to
      There are no other registered electrical key transmitter sub-assemblies A
      There is another registered electrical key transmitter sub-assemblies B

    Result: 

    See step  7

    Result: 

    See step  6

  6. ELECTRICAL KEY TRANSMITTER SUB-ASSEMBLY REGISTRATION (NEW ELECTRICAL KEY TRANSMITTER SUB-ASSEMBLY) 
    1. Register a new electrical key transmitter sub-assembly.

      Refer to REGISTRATION [12/2012 - ] .

    Result: 

    NEXT 

    See step  7

  7. CHECK ENTRY DOOR LOCK OPERATION 
    1. Using another registered electrical key transmitter sub-assembly, check if an entry lock/unlock operation can be performed twice in succession.

      OK

      Entry lock/unlock operate normally.

      Result Proceed to
      OK
      NG

    Result: 

    NG 

    See step  10

    Result: 

    OK 

    See step  8

  8. CHECK TRANSMITTER BATTERY 
    1. Check the transmitter battery level of the electrical key transmitter sub-assembly that was checked first.
      1. Press and hold the lock switch of the transmitter for 5 seconds and check the number of times that the transmitter LED illuminates.

        HINT: 

        • The electrical key transmitter sub-assembly sends voltage information to the certification ECU (smart key ECU assembly) when it is being used. The certification ECU (smart key ECU assembly) displays "Yes" for the "Key Low Battery" item of the Data List when this voltage information indicates 2.2 V or less.

          Refer to DATA LIST / ACTIVE TEST [12/2012 - 08/2016] .

        • Even if the transmitter battery is depleted, it is still possible to start the engine by holding the electrical key transmitter sub-assembly against the engine switch, depressing the brake pedal and pressing the engine switch.
        Result Proceed to
        Transmitter LED does not illuminate when switch is pressed and held A
        Transmitter LED illuminates 3 times or more when switch is pressed and held B
        Transmitter LED illuminates once or twice but not a third time C

    Result: 

    REPLACE ELECTRICAL KEY TRANSMITTER SUB-ASSEMBLY. Refer to  REMOVAL [12/2012 - ]  . 

    Result: 

    REPLACE TRANSMITTER BATTERY. Refer to  REPLACEMENT [12/2012 - ]  . 

    Result: 

    See step  9

  9. INSPECT TRANSMITTER BATTERY (VOLTAGE) 
    1. Remove the transmitter battery.

      Refer to REPLACEMENT [12/2012 - ] .

    2. Inspect the transmitter battery.

      Refer to INSPECTION [12/2012 - ] .

      Result Proceed to
      OK
      NG

    Result: 

    OK 

    REPLACE ELECTRICAL KEY TRANSMITTER SUB-ASSEMBLY. Refer to  REMOVAL [12/2012 - ]  . 

    Result: 

    NG 

    REPLACE TRANSMITTER BATTERY. Refer to  REPLACEMENT [12/2012 - ]  . 

  10. CHECK WAVE ENVIRONMENT 
    1. Bring the electrical key transmitter sub-assembly near the door control receiver and perform a wireless and entry function operation check.

      Refer to OPERATION CHECK [12/2012 - 08/2016] .

      HINT: 

      • When the electrical key transmitter sub-assembly is brought near the door control receiver, the possibility of wave interference decreases, and it can be determined if wave interference is causing the problem symptom.
      • If the inspection result is that the problem only occurs in certain locations or at certain times of day, the possibility of wave interference is high. Also, added vehicle components may cause wave interference. If installed, remove them and perform the operation check.
      • There may be wave interference if the vehicle is near broadcasting antennas, large video displays, wireless garage door opener systems, wireless security cameras, home security systems, etc. In this case, move the vehicle to a different location and check if there is any improvement.
      • If a tool for checking electric waves, such as a signal strength meter, is available, move around the area while observing both the LF band (used by the vehicle antenna to form the detection area) and RF band (used by the electrical key transmitter sub-assembly for transmission) to check for locations where there is wave interference.

      OK

      Wireless and entry functions operate normally.

      Result Proceed to
      OK
      NG

    Result: 

    OK 

    AFFECTED BY WAVE INTERFERENCE 

    Result: 

    NG 

    See step  12

  11. CHECK WAVE ENVIRONMENT 
    1. Bring the electrical key transmitter sub-assembly that was checked first near the door control receiver and select the failed channel (the channel in which the buzzer did not sound) to recheck the key diagnostic mode.

      Refer to OPERATION CHECK [12/2012 - 08/2016] .

      HINT: 

      • When the electrical key transmitter sub-assembly is brought near the door control receiver, the possibility of wave interference decreases, and it can be determined if wave interference is causing the problem symptom.
      • If the inspection result is that the problem only occurs in certain locations or at certain times of day, the possibility of wave interference is high. Also, added vehicle components may cause wave interference. If installed, remove them and perform the operation check.
      • There may be wave interference if the vehicle is near broadcasting antennas, large video displays, wireless garage door opener systems, wireless security cameras, home security systems, etc. In this case, move the vehicle to a different location and check if there is any improvement.
      • If a tool for checking electric waves, such as a signal strength meter, is available, move around the area while observing both the LF band (used by the vehicle antenna to form the detection area) and RF band (used by the electrical key transmitter sub-assembly for transmission) to check for locations where there is wave interference.

      OK

      Wireless door lock buzzer sounds.

      Result Proceed to
      OK
      NG

    Result: 

    OK 

    AFFECTED BY WAVE INTERFERENCE 

    Result: 

    NG 

    See step  22

  12. CHECK CERTIFICATION ECU (SMART KEY ECU ASSEMBLY) 
    1. Measure the voltage according to the value(s) in the table below.
      GTY374438Courtesy of © TOYOTA, LICENSE AGREEMENT TMS1002
      *a Component with harness connected.
      (Certification ECU (Smart Key ECU Assembly))
      - -
    2. Connect the Techstream to the DLC3.
    3. Turn the engine switch on (IG).
    4. Turn the Techstream on.
    5. Enter the following menus: Body Electrical / Power Source Control / Data List.
    6. Read the Data List according to the display on the Techstream.

      Body Electrical > Power Source Control > Data List 

      Tester Display Measurement Item Range Normal Condition Diagnostic Note
      Power Supply Condition Power supply state IG2 ON, ST ON, All OFF, IG1 ON or ACC ON ALL OFF: Engine switch off (ACC and IG)
      ACC ON: Engine switch on (ACC) (ACC relay on)
      IG1 ON: Engine switch on (IG) (IG1 relay on)
      IG2 ON: Engine switch on (IG) (IG2 relay on)
      ST ON: Sending engine start request signal
      Since the IG1 and IG2 relays turn on at approximately the same time, IG1 ON may not be displayed (the IG1 relay turns on for a very short time).

      Body Electrical > Power Source Control > Data List 

      Tester Display
      Power Supply Condition
    7. Measure the voltage while checking the Data List on the Techstream.

      Standard Voltage

      Tester Connection Switch Condition Specified Condition
      G84-6 (IG1D) - Body ground Engine switch off Below 1 V
      Engine switch on (ACC) Below 1 V
      Engine switch on (IG) 9 V or higher
      G82-9 (IG2D) - Body ground Engine switch off Below 1 V
      Engine switch on (ACC) Below 1 V
      Engine switch on (IG) 9 V or higher
      G84-4 (ACCD) - Body ground Engine switch off Below 1 V
      Engine switch on (IG) 9 V or higher
      Engine switch on (ACC) 9 V or higher

      HINT: 

      Using the Techstream, measure the voltage while confirming the power source mode on the Data List.

      Result Proceed to
      OK
      NG

    Result: 

    NG 

    REPLACE CERTIFICATION ECU (SMART KEY ECU ASSEMBLY). Refer to  REMOVAL [12/2012 - 10/2015]  or  REMOVAL [10/2015 - ]  . 

    Result: 

    OK 

    See step  13

  13. READ VALUE USING TECHSTREAM (IG SW) 
    1. Connect the Techstream to the DLC3.
    2. Turn the engine switch on (IG).
    3. Turn the Techstream on.
    4. Enter the following menus: Body Electrical / Start Key / Data List.
    5. Read the Data List according to the display on the Techstream.

      Body Electrical > Smart Key > Data List 

      Tester Display Measurement Item Range Normal Condition Diagnostic Note
      Ignition Switch Engine switch on (IG) ON or OFF ON: Engine switch on (IG)
      OFF: Engine switch off
      • Displays whether the IG power source signal input is on or off.
      • Use this Data List item to help determine the cause when all smart key system /wireless functions do not operate.
      • If the electrical key transmitter sub-assembly is brought inside the vehicle and the engine switch is pressed twice without depressing the brake pedal, the engine switch will turn on (IG). At this time, the key ID code transmitted from the electrical key transmitter sub-assembly and the key ID code stored in the certification ECU (smart key ECU assembly) are compared, and the L code stored in the certification ECU (smart key ECU assembly) and the code stored in the steering lock ECU (steering lock actuator assembly) are compared, and if all codes match, the power source mode is considered on (IG) at that time.

      Body Electrical > Smart Key > Data List 

      Tester Display
      Ignition Switch

      OK

      The display is as specified in the normal condition column.

      Result Proceed to
      OK
      NG

    Result: 

    NG 

    CHECK RELAY CONTACT SIDE CIRCUIT 

    Result: 

    OK 

    See step  14

  14. READ VALUE USING TECHSTREAM (ACC SW, IG SW) 
    1. Connect the Techstream to the DLC3.
    2. Turn the engine switch on (IG).
    3. Turn the Techstream on.
    4. Enter the following menus: Body Electrical / Main Body / Data List.
    5. Read the Data List according to the display on the Techstream.

      Body Electrical > Main Body > Data List 

      Tester Display Measurement Item Range Normal Condition Diagnostic Note
      ACC SW Engine switch status ON or OFF ON: Engine switch on (ACC)
      OFF: Engine switch off
      "ON" is also displayed for this item when the engine switch is on (IG)
      IG SW Engine switch status ON or OFF ON: Engine switch on (IG)
      OFF: Engine switch off
      "OFF" is also displayed for this item when the engine switch is on (ACC)

      Body Electrical > Main Body > Data List 

      Tester Display
      ACC SW
      IG SW

      OK

      The display is as specified in the normal condition column.

      Result Proceed to
      OK
      NG

    Result: 

    NG 

    TROUBLESHOOT MAIN BODY ECU (MULTIPLEX NETWORK BODY ECU). Refer to  TERMINALS OF ECU [12/2012 - 08/2016]  . 

    Result: 

    OK 

    See step  15

  15. CHECK HARNESS AND CONNECTOR (CERTIFICATION ECU - BATTERY AND BODY GROUND) 
    1. Disconnect the G82 certification ECU (smart key ECU assembly) connector.
      GTY375481Courtesy of © TOYOTA, LICENSE AGREEMENT TMS1002
      *a Front view of wire harness connector
      (to Certification ECU [Smart Key ECU Assembly])
    2. Measure the resistance according to the value(s) in the table below.

      Standard Resistance

      Tester Connection Condition Specified Condition
      G82-11 (E) - Body ground Always Below 1 Ω
    3. Measure the voltage according to the value(s) in the table below.

      Standard Voltage

      Tester Connection Condition Specified Condition
      G82-10 (CUTB) - Body ground Always 11 to 14 V
      G82-2 (+B) - Body ground Always 11 to 14 V
      Result Proceed to
      OK
      NG

    Result: 

    NG 

    REPAIR OR REPLACE HARNESS OR CONNECTOR 

    Result: 

    OK 

    See step  16

  16. CHECK HARNESS AND CONNECTOR (CERTIFICATION ECU - DOOR CONTROL RECEIVER) 
    1. for 12 Pin Type:
      1. Disconnect the G83 certification ECU (smart key ECU assembly) connector.
      2. Disconnect the M11 door control receiver connector.
      3. Measure the resistance according to the value(s) in the table below.

        Standard Resistance

        Tester Connection Condition Specified Condition
        G83-5 (RCO) - M11-10 (+5) Always Below 1 Ω
        G83-17 (RDAM) - M11-9 (DATA) Always 10 kΩ or higher
        G83-6 (CSEL) - M11-6 (CSEL) Always 10 kΩ or higher
        G83-5 (RCO) or M11-10 (+5) - Body ground Always 10 kΩ or higher
        G83-17 (RDAM) or M11-9 (DATA) - Body ground Always 10 kΩ or higher
        G83-6 (CSEL) or M11-6 (CSEL) - Body ground Always 10 kΩ or higher
      4. Connect the G83 certification ECU (smart key ECU assembly) connector.
    2. except 12 Pin Type:
      1. Disconnect the G83 certification ECU (smart key ECU assembly) connector.
      2. Disconnect the M10 door control receiver connector.
      3. Measure the resistance according to the value(s) in the table below.

        Standard Resistance

        Tester Connection Condition Specified Condition
        G83-5 (RCO) - M10-4 (+5) Always Below 1 Ω
        G83-17 (RDAM) - M10-5 (DATA) Always 10 kΩ or higher
        G83-6 (CSEL) - M10-2 (CSEL) Always 10 kΩ or higher
        G83-5 (RCO) or M10-4 (+5) - Body ground Always 10 kΩ or higher
        G83-17 (RDAM) or M10-5 (DATA) - Body ground Always 10 kΩ or higher
        G83-6 (CSEL) or M10-2 (CSEL) - Body ground Always 10 kΩ or higher
      4. Connect the G83 certification ECU (smart key ECU assembly) connector.
      Result Proceed to
      OK
      NG

    Result: 

    NG 

    REPAIR OR REPLACE HARNESS OR CONNECTOR 

    Result: 

    OK 

    See step  17

  17. CHECK DOOR CONTROL RECEIVER 
    1. for 12 Pin Type:
      GTY374532Courtesy of © TOYOTA, LICENSE AGREEMENT TMS1002
      *a Component with harness connected
      (Door Control Receiver)
      1. Connect the door control receiver connector.
      2. Measure the resistance according to the value(s) in the table below.

        Standard Resistance

        Tester Connection Condition Specified Condition
        M11-12 (E) - Body ground Always Below 1 Ω
    2. except 12 Pin Type:
      GTY363900Courtesy of © TOYOTA, LICENSE AGREEMENT TMS1002
      *a Component with harness connected
      (Door Control Receiver)
      1. Connect the door control receiver connector.
      2. Measure the resistance according to the value(s) in the table below.

        Standard Resistance

        Tester Connection Condition Specified Condition
        M10-1 (GND) - Body ground Always Below 1 Ω
      Result Proceed to
      OK
      NG

    Result: 

    NG 

    REPLACE DOOR CONTROL RECEIVER. Refer to  REMOVAL [12/2012 - 10/2015]  or  REMOVAL [10/2015 - ]  . 

    Result: 

    OK 

    See step  18

  18. CHECK CERTIFICATION ECU (SMART KEY ECU ASSEMBLY) 
    1. for 12 Pin Type:
      1. Measure the voltage according to the value(s) in the table below.

        Standard Voltage

        Tester Connection Condition Specified Condition
        M11-10 (+5) - M11-12 (E) Procedure 
        • Engine switch off
        • Electrical key transmitter sub-assembly switch not pressed
        Below 1 V
        Procedure 
        • Engine switch off
        • Electrical key transmitter sub-assembly switch pressed
        4.5 to 5.5 V
        M11-6 (CSEL) - M11-12 (E) Engine switch off and all doors closed Below 1 V → 4.4 to 6.5 V → Below 1 V
        M11-1 (IG) - M11-12 (E) Engine switch on (IG) 10 to 16 V
        GTY374530Courtesy of © TOYOTA, LICENSE AGREEMENT TMS1002
        *a Component with harness connected
        (Door Control Receiver)
    2. except 12 Pin Type:
      1. Measure the voltage according to the value(s) in the table below.

        Standard Voltage

        Tester Connection Condition Specified Condition
        M10-4 (+5) - M10-1 (GND) Procedure 
        • Engine switch off
        • Electrical key transmitter sub-assembly switch not pressed
        Below 1 V
        Procedure 
        • Engine switch off
        • Electrical key transmitter sub-assembly switch pressed
        4.5 to 5.5 V
        M10-2 (CSEL) - M10-1 (GND) Engine switch off and all doors closed Below 1 V → 4.4 to 6.5 V → Below 1 V
        GTY363906Courtesy of © TOYOTA, LICENSE AGREEMENT TMS1002
        *a Component with harness connected
        (Door Control Receiver)
      Result Proceed to
      OK
      NG

    Result: 

    NG 

    REPLACE CERTIFICATION ECU (SMART KEY ECU ASSEMBLY). Refer to  REMOVAL [12/2012 - 10/2015]  or  REMOVAL [10/2015 - ]  . 

    Result: 

    OK 

    See step  19

  19. CHECK DOOR CONTROL RECEIVER 
    1. for 12 Pin Type:
      1. Measure the voltage according to the value(s) in the table below.

        Standard Voltage

        Tester Connection Condition Specified Condition
        M11-9 (DATA) - M11-12 (E) Procedure 
        • All doors closed
        • All doors locked
        • Electrical key transmitter sub-assembly switch pressed
        Below 1 V → 10 to 16 V→ Below 1 V
        GTY374529Courtesy of © TOYOTA, LICENSE AGREEMENT TMS1002
        *a Component with harness connected
        (Door Control Receiver)
    2. except 12 Pin Type:
      1. Measure the voltage according to the value(s) in the table below.

        Standard Voltage

        Tester Connection Condition Specified Condition
        M10-5 (DATA) - M10-1 (GND) Procedure 
        • All doors closed
        • All doors locked
        • Electrical key transmitter sub-assembly switch pressed
        Below 1 V → 10 to 16 V → Below 1 V
        GTY363901Courtesy of © TOYOTA, LICENSE AGREEMENT TMS1002
        *a Component with harness connected
        (Door Control Receiver)
      Result Proceed to
      OK
      NG

    Result: 

    NG 

    REPLACE DOOR CONTROL RECEIVER. Refer to  REMOVAL [12/2012 - 10/2015]  or  REMOVAL [10/2015 - ]  . 

    Result: 

    OK 

    See step  20

  20. REPLACE CERTIFICATION ECU (SMART KEY ECU ASSEMBLY) 
    1. Replace the certification ECU (smart key ECU assembly) with a new one.

      Refer to REMOVAL [12/2012 - 10/2015] or REMOVAL [10/2015 - ] .

    Result: 

    NEXT 

    See step  21

  21. CHECK WIRELESS DOOR LOCK CONTROL SYSTEM 
    1. Check that the wireless door lock functions operate normally.

      Refer to OPERATION CHECK [12/2012 - ] .

      OK

      Wireless door lock functions operate normally.

      Result Proceed to
      OK
      NG

    Result: 

    OK 

    END (CERTIFICATION ECU [SMART KEY ECU ASSEMBLY] WAS DEFECTIVE) 

    Result: 

    NG 

    REPLACE MAIN BODY ECU (MULTIPLEX NETWORK BODY ECU). Refer to  REMOVAL [12/2012 - ]  . 

  22. CHECK ELECTRICAL KEY TRANSMITTER SUB-ASSEMBLY 
    1. Check if there are any other registered electrical key transmitter sub-assemblies.
      Result Proceed to
      There are no other registered electrical key transmitter sub-assemblies A
      There is another registered electrical key transmitter sub-assemblies B

    Result: 

    See step  24

    Result: 

    See step  23

  23. ELECTRICAL KEY TRANSMITTER SUB-ASSEMBLY REGISTRATION (NEW ELECTRICAL KEY TRANSMITTER SUB-ASSEMBLY) 
    1. Register a new electrical key transmitter sub-assembly.

      Refer to REGISTRATION [12/2012 - ] .

    Result: 

    NEXT 

    See step  24

  24. CHECK WAVE ENVIRONMENT 
    1. Bring another registered electrical key transmitter sub-assembly near the door control receiver and select the failed channel (the channel in which the buzzer did not sound) to recheck the key diagnostic mode.

      Refer to OPERATION CHECK [12/2012 - 08/2016] .

      HINT: 

      • When the electrical key transmitter sub-assembly is brought near the door control receiver, the possibility of wave interference decreases, and it can be determined if wave interference is causing the problem symptom.
      • If the inspection result is that the problem only occurs in certain locations or at certain times of day, the possibility of wave interference is high. Also, added vehicle components may cause wave interference. If installed, remove them and perform the operation check.
      • There may be wave interference if the vehicle is near broadcasting antennas, large video displays, wireless garage door opener systems, wireless security cameras, home security systems, etc. In this case, move the vehicle to a different location and check if there is any improvement.
      • If a tool for checking electric waves, such as a signal strength meter, is available, move around the area while observing both the LF band (used by the vehicle antenna to form the detection area) and RF band (used by the electrical key transmitter sub-assembly for transmission) to check for locations where there is wave interference.

      OK

      Wireless door lock buzzer sounds.

      Result Proceed to
      OK
      NG

    Result: 

    OK 

    END (ELECTRICAL KEY TRANSMITTER SUB-ASSEMBLY WAS DEFECTIVE) 

    Result: 

    NG 

    See step  25

  25. CHECK HARNESS AND CONNECTOR (CERTIFICATION ECU - DOOR CONTROL RECEIVER) 
    1. for 12 Pin Type:
      1. Disconnect the G83 certification ECU (smart key ECU assembly) connector.
      2. Disconnect the M11 door control receiver connector.
      3. Measure the resistance according to the value(s) in the table below.

        Standard Resistance

        Tester Connection Condition Specified Condition
        M11-6 (CSEL) - G83-6 (CSEL) Always Below 1 Ω
        M11-6 (CSEL) or G83-6 (CSEL) - Body ground Always 10 kΩ or higher
      4. Connect the G83 certification ECU (smart key ECU assembly) connector.
    2. except 12 Pin Type:
      1. Disconnect the G83 certification ECU (smart key ECU assembly) connector.
      2. Disconnect the M10 door control receiver connector.
      3. Measure the resistance according to the value(s) in the table below.

        Standard Resistance

        Tester Connection Condition Specified Condition
        M10-2 (CSEL) - G83-6 (CSEL) Always Below 1 Ω
        M10-2 (CSEL) or G83-6 (CSEL) - Body ground Always 10 kΩ or higher
      4. Connect the G83 certification ECU (smart key ECU assembly) connector.
      Result Proceed to
      OK
      NG

    Result: 

    NG 

    REPAIR OR REPLACE HARNESS OR CONNECTOR 

    Result: 

    OK 

    See step  26

  26. CHECK CERTIFICATION ECU (SMART KEY ECU ASSEMBLY) 
    1. for 12 Pin Type:
      1. Connect the M11 door control receiver connector.
        GTY374527Courtesy of © TOYOTA, LICENSE AGREEMENT TMS1002
        *a Component with harness connected
        (Door Control Receiver)
      2. Measure the voltage according to the value(s) in the table below.

        Standard Voltage

        Tester Connection Condition Specified Condition
        M11-6 (CSEL) - M11-12 (E) Engine switch off and all doors closed Below 1 V → 4.5 to 6 V → Below 1 V
    2. except 12 Pin Type:
      1. Connect the M10 door control receiver connector.
        GTY363903Courtesy of © TOYOTA, LICENSE AGREEMENT TMS1002
        *a Component with harness connected
        (Door Control Receiver)
      2. Measure the voltage according to the value(s) in the table below.

        Standard Voltage

        Tester Connection Condition Specified Condition
        M10-2 (CSEL) - M10-1 (GND) Engine switch off and all doors closed Below 1 V → 4.5 to 6 V → Below 1 V
      Result Proceed to
      OK
      NG

    Result: 

    NG 

    REPLACE CERTIFICATION ECU (SMART KEY ECU ASSEMBLY). Refer to  REMOVAL [12/2012 - 10/2015]  or  REMOVAL [10/2015 - ]  . 

    Result: 

    OK 

    See step  27

  27. CHECK DOOR CONTROL RECEIVER 
    1. for 12 Pin Type:
      1. Measure the voltage according to the value(s) in the table below.

        HINT: 

        Inspection should be performed while the electrical key antenna check in key diagnostic mode is being performed on the failed channel (the channel in which the buzzer did not sound).

        Standard Voltage

        Tester Connection Condition Specified Condition
        M11-9 (DATA) - M11-12 (E) Procedure 
        • All doors closed
        • All doors locked
        • Electrical key transmitter sub-assembly switch pressed*
        Below 1 V → 10 to 16 V → Below 1 V

        *: While the electrical key antennas are being inspected in key diagnostic mode.

        Refer to OPERATION CHECK [12/2012 - 08/2016] .

        GTY374531Courtesy of © TOYOTA, LICENSE AGREEMENT TMS1002
        *a Component with harness connected
        (Door Control Receiver)
    2. except 12 Pin Type:
      1. Measure the voltage according to the value(s) in the table below.

        HINT: 

        Inspection should be performed while the electrical key antenna check in key diagnostic mode is being performed on the failed channel (the channel in which the buzzer did not sound).

        Standard Voltage

        Tester Connection Condition Specified Condition
        M10-5 (DATA) - M10-1 (GND) Procedure 
        • All doors closed
        • All doors locked
        • Electrical key transmitter sub-assembly switch pressed*
        Below 1 V → 10 to 16 V → Below 1 V

        *: While the electrical key antennas are being inspected in key diagnostic mode.

        GTY363901Courtesy of © TOYOTA, LICENSE AGREEMENT TMS1002
        *a Component with harness connected
        (Door Control Receiver)

        Refer to OPERATION CHECK [12/2012 - 08/2016] .

      Result Proceed to
      OK
      NG

    Result: 

    NG 

    REPLACE DOOR CONTROL RECEIVER. Refer to  REMOVAL [12/2012 - 10/2015]  or  REMOVAL [10/2015 - ]  . 

    Result: 

    OK 

    See step  28

  28. REPLACE CERTIFICATION ECU (SMART KEY ECU ASSEMBLY) 
    1. Replace the certification ECU (smart key ECU assembly) with a new one.

      Refer to REMOVAL [12/2012 - 10/2015] or REMOVAL [10/2015 - ] .

    Result: 

    NEXT 

    See step  29

  29. CHECK WIRELESS DOOR LOCK CONTROL SYSTEM 
    1. Check that the wireless door lock functions operate normally.

      Refer to OPERATION CHECK [12/2012 - ] .

      OK

      Wireless door lock functions operate normally.

      Result Proceed to
      OK
      NG

    Result: 

    OK 

    END (CERTIFICATION ECU [SMART KEY ECU ASSEMBLY] WAS DEFECTIVE) 

    Result: 

    NG 

    REPLACE MAIN BODY ECU (MULTIPLEX NETWORK BODY ECU). Refer to  REMOVAL [12/2012 - ]  .