LEMON Manuals: Even more car manuals for everyone: 1960-2025
Home >> Toyota >> 2017 >> RAV4 XLE, AWD >> Repair and Diagnosis (Single Page) >> Body & Frame >> Door Locks >> Smart Key System (Start Function) (Diagnostics - Introduction) (Except Hybrid) >> SMART KEY SYSTEM (For Start Function) >> Operation Check [08/2016 - ] >> Operation Check [08/2016 - ]
April 5, 2026: LEMON Manuals is launched! Read the announcement.

Operation Check [08/2016 - ]

  1. OPERATION DESCRIPTION 
    1. Push-button start function:
      1. When the key is in a detection area inside the vehicle and the brake pedal is depressed, the engine is started by pressing the engine switch.
      2. When the key is in a detection area inside the vehicle and the brake pedal is not depressed, the power source mode is changed by pressing the engine switch. The power source mode changes in the following order every time the engine switch is pressed: off → on (ACC) → on (IG) → off.
      3. After getting into the vehicle while carrying the key when the engine switch is off, if the engine switch is pressed while not depressing the brake pedal, the power source mode changes to on (ACC) and the key warning light display.
        GTY708825Courtesy of © TOYOTA, LICENSE AGREEMENT TMS1002
        *a Key Warning Light Display
      4. After getting into the vehicle while carrying the key when the engine switch is off, if the engine switch is pressed 2 times without depressing the brake pedal, the power source mode changes to on (IG) and the key warning light display.
        GTY708825Courtesy of © TOYOTA, LICENSE AGREEMENT TMS1002
        *a Key Warning Light Display
      5. After getting into the vehicle while carrying the key when the engine switch is off, if the brake pedal is depressed while the shift lever is in P or N, the key warning light is displayed.
        GTY698066Courtesy of © TOYOTA, LICENSE AGREEMENT TMS1002
        *a Key Warning Light Display
      6. The engine starts if the engine switch is pressed when the key warning light is displayed.
    2. Changing the power source mode when the key does not operate correctly due to wave interference or key battery depletion:
      1. Unlock the door using the built-in mechanical key and get into the vehicle while carrying the key.
      2. While depressing the brake pedal, and facing the logo side of the key towards the engine switch, hold the key near the engine switch.
      3. A buzzer in the combination meter assembly sounds and the power source mode changes to on (IG). Pressing the engine switch without depressing the brake pedal turns the power source mode from on (IG) to off.
    3. Starting the engine when the key does not operate correctly due to wave interference or key battery depletion:
      1. Unlock the door using the built-in mechanical key and get into the vehicle while carrying the key.
      2. While depressing the brake pedal with the shift lever in P or N*, while facing the logo side of the key towards the engine switch, hold the key near the engine switch.

        HINT: 

        *: This is only applicable when the steering wheel unlocked.

      3. A buzzer in the combination meter assembly sounds, the power source mode changes to on (IG) and the key warning light is displayed.
      4. Press the engine switch with the brake pedal depressed to start the engine.
  2. CHECK PUSH-BUTTON START FUNCTION 
    1. CHECK PUSH-BUTTON START FUNCTION
      1. Get into the vehicle while carrying the key with the engine switch off. With the shift lever in P, check that the key warning light illuminates in green when the brake pedal is depressed. Then check that the engine starts when the engine switch is pressed after the key warning light illuminates in green.
      2. While the brake pedal is released and the key is being carried, check that the power source mode changes in the following order when the engine switch is pressed: off → on (ACC) → on (IG) → off.

        HINT: 

        When the engine switch is pressed with the engine switch on (IG) and the shift lever not in P, the power source mode does not change to off, but changes to on (ACC).

      3. With the shift lever in P, check that the steering lock operates when a door is opened.

        HINT: 

        When the engine switch is pressed after the vehicle is stopped, the engine stops and all the power turns off. However, if the shift lever is not in P when the engine switch is pressed with the vehicle stopped, the power source mode does not change to off, but changes to on (ACC).

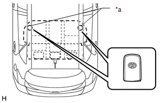
      4. Check the push-button start function operation range for the front side. Place the key in either of the two locations making sure that the key is oriented as shown in the illustration, and then check that the engine can be started.
        GTY377016Courtesy of © TOYOTA, LICENSE AGREEMENT TMS1002
        *a Inspection Point
        NOTE:
        • Even if the key is in a vehicle interior key detection area, the key may not be properly detected if the key is on the instrument panel, in the glove box or on the floor.
        • If the key is within 0.2 m (0.66 ft.) of the shift lever, communication may not be possible.

        HINT: 

        Perform this inspection for both inspection points.

      5. Check the push-button start function operation range for the rear side. Place the key in either of the two locations making sure that the key is oriented as shown in the illustration, and then check that the engine can be started.
        GTY382613Courtesy of © TOYOTA, LICENSE AGREEMENT TMS1002
        *a Inspection Point
        NOTE:
        • Even if the key is in a vehicle interior key detection area, the key may not be properly detected if the key is on the instrument panel, in the glove box or on the floor.
        • If the key is within 0.2 m (0.66 ft.) of the center of the rear seat, communication may not be possible.

        HINT: 

        Perform this inspection for both inspection points.

  3. CHECK TRANSMITTER BATTERY SAVING FUNCTION 
    1. Check the transmitter battery saving function:
      1. Press the unlock switch of the electrical key transmitter sub-assembly twice while pressing the lock switch and check that the electrical key transmitter sub-assembly LED blinks 4 times and enters transmitter battery saving mode.
      2. Check that the smart key system does not operate while in transmitter battery saving mode.

        HINT: 

        To cancel transmitter battery saving mode, press a button of the electrical key transmitter sub-assembly.

  4. CHECK POWER SOURCE MODE CHANGING FUNCTION 
    1. Check the engine switch.
      1. Check that the power source mode changes according to the chart below.
        Shift Position Brake Pedal Power Source Mode when Engine Switch Pressed
        P Released Off → on (ACC) → on (IG) → off
        P Released Engine running → off
        P Released On (ACC)*1 → off
        P Depressed Off → engine starts
        P Depressed On (ACC) → engine starts
        P Depressed On (IG) → engine starts
        P Depressed Engine running → off
        P Depressed On (ACC)*1 → off
        N Released Off → on (ACC) → on (IG) (after power source mode changes to on (IG), power source mode changes between on (IG) and on (ACC) every time engine switch is pressed)
        N Released Engine running → on (ACC)
        N Depressed Off → engine starts*2
        N Depressed On (ACC) → engine starts*2
        N Depressed On (IG) → engine starts*2
        N Depressed Engine running → on (ACC)
        Not P or N Released Off → on (ACC) → on (IG) (after power source mode changes to on (IG), power source mode changes between on (IG) and on (ACC) every time engine switch is pressed)
        Not P or N Released Engine running → on (ACC)
        Not P or N Depressed Off → on (IG)
        Not P or N Depressed On (ACC) → on (IG)
        Not P or N Depressed Engine running → on (ACC)

        HINT: 

        • *1: This situation is only applicable when the power source mode has changed from on (IG) to on (ACC). However, this situation is not applicable when an emergency stop is performed by pressing and holding the engine switch for 2 seconds or more or by quickly pressing the engine switch 3 times or more.
        • *2: This situation is only applicable when the steering is unlocked.
  5. CHECK POWER SOURCE MODE INDICATION 
    1. Check the key warning light.
      GTY598915Courtesy of © TOYOTA, LICENSE AGREEMENT TMS1002
      *a Key Warning Light
      *b Key Warning Light Display
      MULTI-INFORMATION DISPLAY INSPECTION

      Power Source Mode Indicator
      Off
      (Excluding condition in which the engine can be started)
      Off
      On (ACC)
      (Excluding condition in which the engine can be started)
      Key warning light displayed
      On (IG)
      (Excluding condition in which the engine can be started)
      Key warning light displayed
      Condition in which the engine can be started*1 Key warning light displayed
      Engine started Off

      HINT: 

      *1: Indicates the condition in which the engine can be started by pressing the engine switch while either of the following conditions is met:

      • Condition 1

        All of the following conditions are met:

        • The power source mode was turned from on (IG) to on (ACC).
        • Key verification is OK*2 or immobiliser is unset (engine switch is on (ACC) or on (IG)).
        • The shift lever is in N and the steering is unlocked.
        • The stop light switch is on.
      • Condition 2

        All of the following conditions are met:

        • The power source mode was not turned from on (IG) to on (ACC).
        • Key verification is OK*2 or immobiliser is unset (engine switch is on (ACC) or on (IG)).
        • The stop light switch is on.
        • The shift lever is in P, or the shift lever is in N with the steering unlocked.

      *2: When the electrical key transmitter sub-assembly is in the cabin, the ID code sent as a result from communication between the electrical key transmitter sub-assembly and certification ECU (smart key ECU assembly) and the ID code calculated by the certification ECU (smart key ECU assembly) are compared. If the ID codes match each other, the vehicle recognizes that the electrical key transmitter sub-assembly is in the cabin.