LEMON Manuals: Even more car manuals for everyone: 1960-2025
Home >> Toyota >> 2017 >> Sienna LE, AWD >> Repair and Diagnosis (Single Page) >> Accessories & Equipment >> Wiper/Washer Systems >> Wiper System / Washer System (W/ Rain Sensor) - Diagnostics & Circuit Tests >> WIPER AND WASHER SYSTEM(w/ Rain Sensor) >> Speed Signal Circuit [12/2015 - ] >> Procedure
April 5, 2026: LEMON Manuals is launched! Read the announcement.

Speed Signal Circuit [12/2015 - ]: Procedure

  1. CHECK COMBINATION METER SYSTEM 
    1. The circuit that sends vehicle speed signals to the combination meter system is inspected in the meter section (Refer to Speed Signal Circuit [12/2015 - 08/2016] Refer to Speed Signal Circuit [08/2016 - 11/2017] Refer to Speed Signal Circuit [11/2017 - ] ).

    Result: 

    NEXT 

    See step  2

  2. CHECK HARNESS AND CONNECTOR (WINDSHIELD WIPER RELAY ASSEMBLY - COMBINATION METER) 
    1. Disconnect the D78 windshield wiper relay assembly connector and D145 combination meter connector.
    2. Measure the resistance according to the value(s) in the table below.

      Standard Resistance

      Tester Connection Condition Specified Condition
      D78-19 (SPD) - D145-3 (+S) Always Below 1 Ω
      D78-19 (SPD) or D145-3 (+S) - Body ground Always 10 kΩ or higher

    Result: 

    NG 

    REPAIR OR REPLACE HARNESS OR CONNECTOR 

    Result: 

    OK 

    See step  3

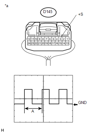
  3. INSPECT COMBINATION METER (SPEED SENSOR SIGNAL) 
    1. Check the output waveform.
      GTY704296Courtesy of © TOYOTA, LICENSE AGREEMENT TMS1002
      1. Remove the combination meter assembly with the connector still connected (Refer to REMOVAL [12/2015 - ] ).
      2. Connect an oscilloscope to terminal D145-3 (+S) and body ground.
      3. Turn the ignition switch to ON.
      4. Turn a wheel slowly.
      5. Check the signal waveform according to the condition(s) in the table below.
        Item Condition
        Tool setting 5 V/DIV., 20 ms./DIV.
        Vehicle condition Driving at approx. 20 km/h (12 mph)

        OK

        The waveform is displayed as shown in the illustration.

        HINT: 

        When the system is functioning normally, one wheel revolution generates 4 pulses. As the vehicle speed increases, the width indicated by (A) in the illustration narrows.

      TEXT IN ILLUSTRATION

      *a Component with harness connected
      (Combination Meter Assembly)

    Result: 

    OK 

    PROCEED TO NEXT SUSPECTED AREA SHOWN IN PROBLEM SYMPTOMS TABLE 

    (Refer to PROBLEM SYMPTOMS TABLE [12/2015 - ] )

    Result: 

    NG 

    REPLACE COMBINATION METER 

    (Refer to REMOVAL [12/2015 - ] )