LEMON Manuals: Even more car manuals for everyone: 1960-2025
Home >> Toyota >> 2017 >> Sienna LE, AWD >> Repair and Diagnosis >> Transmission >> Transfer Case >> Active Torque Control 4WD System - Diagnostics - Introduction >> Active Torque Control 4WD System >> System Diagram [12/2015 - 08/2016] >> System Diagram [12/2015 - 08/2016]
April 5, 2026: LEMON Manuals is launched! Read the announcement.

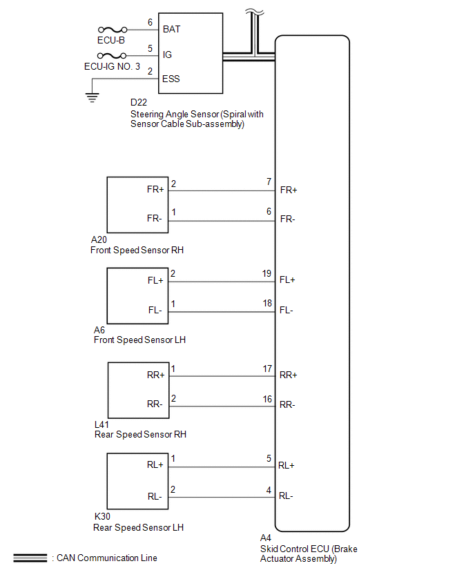
System Diagram [12/2015 - 08/2016]

Fig 1: Active Torque Control 4WD System Circuit Diagram (1 Of 2)
GTY738024Courtesy of © TOYOTA, LICENSE AGREEMENT TMS1002
Fig 2: Active Torque Control 4WD System Circuit Diagram (2 Of 2)
GTY722352Courtesy of © TOYOTA, LICENSE AGREEMENT TMS1002