LEMON Manuals: Even more car manuals for everyone: 1960-2025
Home >> Toyota >> 2017 >> Yaris iA Automatic Trans >> Repair and Diagnosis >> Engine Performance >> Remove, Overhaul & Install >> Engine Control System (Service Information) >> Oil Control Valve >> Inspection >> Procedure
April 5, 2026: LEMON Manuals is launched! Read the announcement.

Oil Control Valve: Inspection: Procedure

  1. INSPECT OIL CONTROL VALVE 
    1. Coil Resistance Inspection
      1. Disconnect the negative battery cable.

        Refer to REMOVAL

      2. Remove the plug hole plate.

        Refer to REMOVAL

      3. Disconnect the OCV connector.

        Refer to REMOVAL 

      4. Measure the resistance between terminals 1 and 2 using an ohmmeter.

        OCV coil resistance

        6.9 to 7.5 ohms [20 °C (68 °F)]

        If not as specified, replace the OCV.

        Refer to REMOVAL 

        GTY490602Courtesy of © TOYOTA, LICENSE AGREEMENT TMS1002
        *a Oil Control Valve (OCV)
      5. Install in the reverse order of removal.
    2. Spool Valve Operation Inspection
      1. Disconnect the negative battery cable.

        Refer to REMOVAL

      2. Remove the plug hole plate.

        Refer to REMOVAL

      3. Remove the ignition coil.

        Refer to REMOVAL 

      4. Remove the cylinder head cover.

        Refer to REMOVAL

      5. Remove the OCV.

        Refer to REMOVAL 

      6. Verify that the spool valve in the OCV is in the maximum valve timing retard position as indicated in the figure.
        GTY487461Courtesy of © TOYOTA, LICENSE AGREEMENT TMS1002
        *a Spool Valve (Maximum Valve Timing Retard Position)

        If not as specified, replace the OCV.

        Refer to REMOVAL 

      7. Verify that the battery is fully charged.

        Refer to INSPECTION

        If not as specified, recharge the battery.

        Refer to PROCEDURE - Step 5

        HINT: 

        • When applying battery positive voltage between the OCV terminals, the connection can be either of the following:
          • Positive battery cable to terminal 1, negative battery cable to terminal 2
          • Positive battery cable to terminal 1, negative battery cable to terminal 2
        GTY490602Courtesy of © TOYOTA, LICENSE AGREEMENT TMS1002
        *a Oil Control Valve (OCV)
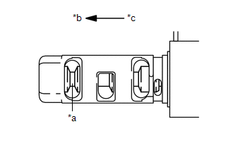
      8. Apply battery positive voltage between the OCV terminals and verify that the spool valve operates and moves to the maximum valve timing advance position.

        If not as specified, replace the OCV.

        Refer to REMOVAL 

        GTY490726Courtesy of © TOYOTA, LICENSE AGREEMENT TMS1002
        *a Spool Valve (Maximum Valve Timing Retard Position)
        *b Valve Timing Advance
        *c Valve Timing Retard
      9. Stop applying battery positive voltage and verify that the spool valve returns to the maximum valve timing retard position.

        If not as specified, replace the OCV.

        Refer to REMOVAL 

      10. Install the OCV.

        Refer to INSTALLATION