LEMON Manuals: Even more car manuals for everyone: 1960-2025
Home >> Toyota >> 2019 >> Avalon XLE >> Repair and Diagnosis (Single Page) >> Electrical >> Fuses & Circuit Breakers >> OEM Junction Block, Ecu & Fuse/Relay Locations (Except Hybrid) >> Relay Block Identification >> Engine Room Relay Block Assembly And Engine Room Junction Block Assembly Inner Circuit
April 5, 2026: LEMON Manuals is launched! Read the announcement.

Engine Room Relay Block Assembly And Engine Room Junction Block Assembly Inner Circuit

Fig 1: Engine Room R/B Assembly And Engine Room J/B Assembly Relay & Inner Circuit Diagram (1 Of 5)
G00584439Courtesy of © TOYOTA, LICENSE AGREEMENT TMS1002
ENGINE ROOM R/B AND J/B INNER CIRCUIT RELAY IDENTIFICATION

RELAY DESCRIPTION
ST Relay
MG CLT Relay
Fig 2: Engine Room R/B Assembly And Engine Room J/B Assembly Relay & Inner Circuit Diagram (2 Of 5)
G00584440Courtesy of © TOYOTA, LICENSE AGREEMENT TMS1002
Fig 3: Engine Room R/B Assembly And Engine Room J/B Assembly Relay & Inner Circuit Diagram (3 Of 5)
G00584441Courtesy of © TOYOTA, LICENSE AGREEMENT TMS1002
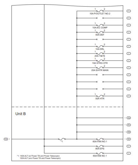
Fig 4: Engine Room R/B Assembly And Engine Room J/B Assembly Relay & Inner Circuit Diagram (4 Of 5)
G00584442Courtesy of © TOYOTA, LICENSE AGREEMENT TMS1002
ENGINE ROOM R/B AND J/B INNER CIRCUIT RELAY IDENTIFICATION

RELAY DESCRIPTION
H-LP RH Relay
WIPER Relay
H-LP LH Relay
DRL Relay
EFI-MAIN NO. 2 Relay
Fig 5: Engine Room R/B Assembly And Engine Room J/B Assembly Relay & Inner Circuit Diagram (5 Of 5)
G00584443Courtesy of © TOYOTA, LICENSE AGREEMENT TMS1002
ENGINE ROOM R/B AND J/B INNER CIRCUIT RELAY IDENTIFICATION

RELAY DESCRIPTION
D INJ Relay
HORN Relay
EFI-MAIN NO. 1 Relay
WASHER Relay
IG2 NO. 1 Relay
EFI-MAIN NO. 3 Relay
DIM Relay
DEF Relay