LEMON Manuals: Even more car manuals for everyone: 1960-2025
Home >> Toyota >> 2019 >> C-HR LE >> Repair and Diagnosis (Single Page) >> Engine Performance >> System >> Engine Control System (W/ Canister Pump) - Circuit / Symptom Tests >> SFI SYSTEM (w/ Canister Pump Module) >> Circuit Tests >> VC Output Circuit [02/2017 - ] >> Procedure
April 5, 2026: LEMON Manuals is launched! Read the announcement.

VC Output Circuit [02/2017 - ]: Procedure

  1. CHECK COMMUNICATION BETWEEN TECHSTREAM AND ECM 
    1. Connect the Techstream to the DLC3.
    2. Turn the ignition switch to ON.
    3. Turn the Techstream on.
    4. Check the communication between the Techstream and ECM.

      HINT: 

      The Data List item "Engine and ECT" can be checked.

      Result

      Result Proceed to
      Communication is not possible A
      Communication is possible B

    Result: 

    PROCEED TO NEXT SUSPECTED AREA SHOWN IN PROBLEM SYMPTOMS TABLE. Refer to  PROBLEM SYMPTOMS TABLE [02/2017 - 05/2018]  , or refer to  PROBLEM SYMPTOMS TABLE [05/2018 - 09/2019]  , or refer to  PROBLEM SYMPTOMS TABLE [09/2019 - ] 

    Result: 

    See step  2

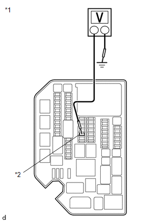
  2. CHECK TERMINAL VOLTAGE (EFI NO. 3 FUSE) 
    1. Measure the voltage according to the value(s) in the table below.
      GTY751910Courtesy of © TOYOTA, LICENSE AGREEMENT TMS1002
      *1 No. 1 Engine Room Relay Block
      *2 EFI NO. 3 FUSE

      Standard Voltage

      Tester Connection Condition Specified Condition
      1 (EFI NO. 3 FUSE) - Body ground Always 11 to 14 V

      HINT: 

      • Check that a EFI NO. 3 fuse is installed the relay block.
      • If the result is not as specified, since current is not flowing to the +B and +B2 terminals of the ECM, the system may not be started.

      Result

      Proceed to
      OK
      NG

    Result: 

    NG 

    CHECK ECU POWER SOURCE CIRCUIT. Refer to  ECM Power Source Circuit [02/2017 - ]  

    Result: 

    OK 

    See step  3

  3. CHECK COMMUNICATION BETWEEN THE TECHSTREAM AND ECM (ACCELERATOR PEDAL SENSOR ASSEMBLY) 
    1. Disconnect the A46 accelerator pedal sensor assembly connector.
    2. Turn the ignition switch to ON.
    3. Turn the Techstream on.
    4. Check the communication between the Techstream and ECM.

      HINT: 

      The Data List item "Engine and ECT" can be checked.

      Result

      Result Proceed to
      Communication is not possible A
      Communication is possible B

    Result: 

    REPLACE ACCELERATOR PEDAL SENSOR ASSEMBLY. Refer to  REMOVAL [02/2017 - ] 

    Result: 

    See step  4

  4. CHECK COMMUNICATION BETWEEN THE TECHSTREAM AND ECM (CAMSHAFT POSITION SENSOR (FOR INTAKE CAMSHAFT)) 
    1. Disconnect the C19 camshaft position sensor (for intake camshaft) connector.
    2. Turn the ignition switch to ON.
    3. Turn the Techstream on.
    4. Check the communication between the Techstream and ECM.

      HINT: 

      The Data List item "Engine and ECT" can be checked.

      Result

      Result Proceed to
      Communication is not possible A
      Communication is possible B

    Result: 

    REPLACE CAMSHAFT POSITION SENSOR (FOR INTAKE CAMSHAFT). Refer to  REMOVAL [02/2017 - ] 

    Result: 

    See step  5

  5. CHECK COMMUNICATION BETWEEN THE TECHSTREAM AND ECM (CAMSHAFT POSITION SENSOR (FOR EXHAUST CAMSHAFT)) 
    1. Disconnect the C41 camshaft position sensor (for exhaust camshaft) connector.
    2. Turn the ignition switch to ON.
    3. Turn the Techstream on.
    4. Check the communication between the Techstream and ECM.

      HINT: 

      The Data List item "Engine and ECT" can be checked.

      Result

      Result Proceed to
      Communication is not possible A
      Communication is possible B

    Result: 

    REPLACE CAMSHAFT POSITION SENSOR (FOR EXHAUST CAMSHAFT). Refer to  REMOVAL [02/2017 - ] 

    Result: 

    See step  6

  6. CHECK COMMUNICATION BETWEEN THE TECHSTREAM AND ECM (LEAK DETECTION PUMP SUB-ASSEMBLY) 
    1. Disconnect the O3 leak detection pump sub-assembly connector.
    2. Turn the ignition switch to ON.
    3. Turn the Techstream on.
    4. Check the communication between the Techstream and ECM.

      HINT: 

      The Data List item "Engine and ECT" can be checked.

      Result

      Result Proceed to
      Communication is not possible A
      Communication is possible B

    Result: 

    REPLACE LEAK DETECTION PUMP SUB-ASSEMBLY. Refer to  REMOVAL [02/2017 - ] 

    Result: 

    See step  7

  7. CHECK COMMUNICATION BETWEEN THE TECHSTREAM AND ECM (MASS AIR FLOW METER) 
    1. Disconnect the C5 mass air flow meter.
    2. Turn the ignition switch to ON.
    3. Turn the Techstream on.
    4. Check the communication between the Techstream and ECM.

      HINT: 

      The Data List item "Engine and ECT" can be checked.

      Result

      Result Proceed to
      Communication is not possible A
      Communication is possible B

      HINT: 

      Perform "Inspection After Repair" after replacing the mass air flow meter.

      Refer to INITIALIZATION [02/2017 - ]

    Result: 

    REPLACE MASS AIR FLOW METER. Refer to  REMOVAL [02/2017 - 10/2017]  , or refer to  REMOVAL [10/2017 - 12/2021]  , or refer to  REMOVAL [12/2021 - ] 

    Result: 

    See step  8

  8. CHECK COMMUNICATION BETWEEN THE TECHSTREAM AND ECM (THROTTLE BODY ASSEMBLY) 
    1. Disconnect the C4 throttle body assembly connector.
    2. Turn the ignition switch to ON.
    3. Turn the Techstream on.
    4. Check the communication between the Techstream and ECM.

      HINT: 

      The Data List item "Engine and ECT" can be checked.

      Result

      Result Proceed to
      Communication is not possible A
      Communication is possible B

      HINT: 

      Perform "Inspection After Repair" after replacing the throttle body assembly.

      Refer to INITIALIZATION [02/2017 - ]

    Result: 

    REPLACE THROTTLE BODY ASSEMBLY. Refer to  REMOVAL [02/2017 - 10/2017]  , or refer to  REMOVAL [10/2017 - 12/2021]  , or refer to  REMOVAL [12/2021 - ] 

    Result: 

    See step  9

  9. CHECK COMMUNICATION BETWEEN THE TECHSTREAM AND ECM (VALVEMATIC SHAFT SENSOR (CAMSHAFT POSITION SENSOR)) 
    1. Disconnect the C71 VALVEMATIC shaft sensor (camshaft position sensor) connector.
    2. Turn the ignition switch to ON.
    3. Turn the Techstream on.
    4. Check the communication between the Techstream and ECM.

      HINT: 

      The Data List item "Engine and ECT" can be checked.

      Result

      Result Proceed to
      Communication is not possible A
      Communication is possible B

    Result: 

    REPLACE CAMSHAFT POSITION SENSOR (VALVEMATIC SHAFT SENSOR (CAMSHAFT POSITION SENSOR)). Refer to  REMOVAL [02/2017 - ] 

    Result: 

    See step  10

  10. CHECK COMMUNICATION BETWEEN THE TECHSTREAM AND ECM (MANIFOLD ABSOLUTE PRESSURE SENSOR) 
    1. Disconnect the C2 manifold absolute pressure sensor connector.
    2. Turn the ignition switch to ON.
    3. Turn the Techstream on.
    4. Check the communication between the Techstream and ECM.

      HINT: 

      The Data List item "Engine and ECT" can be checked.

      Result

      Result Proceed to
      Communication is not possible A
      Communication is possible B

    Result: 

    REPLACE MANIFOLD ABSOLUTE PRESSURE SENSOR. Refer to  REMOVAL [02/2017 - ] 

    Result: 

    See step  11

  11. CHECK COMMUNICATION BETWEEN THE TECHSTREAM AND ECM (OIL PRESSURE SENSOR) 
    1. Disconnect the C44 oil pressure sensor connector.
    2. Turn the ignition switch to ON.
    3. Turn the Techstream on.
    4. Check the communication between the Techstream and ECM.

      HINT: 

      The Data List item "Engine and ECT" can be checked.

      Result

      Result Proceed to
      Communication is not possible A
      Communication is possible B

    Result: 

    REPLACE OIL PRESSURE SENSOR. Refer to  REMOVAL [02/2017 - ] 

    Result: 

    See step  12

  12. CHECK HARNESS AND CONNECTOR 
    1. Disconnect the A46 accelerator pedal sensor assembly connector.
    2. Disconnect the C19 camshaft position sensor (for intake camshaft) connector.
    3. Disconnect the C41 camshaft position sensor (for exhaust camshaft) connector.
    4. Disconnect the O3 leak detection pump sub-assembly connector.
    5. Disconnect the C5 mass air flow meter connector.
    6. Disconnect the C4 throttle body assembly connector.
    7. Disconnect the C71 VALVEMATIC shaft sensor (camshaft position sensor) connector.
    8. Disconnect the C2 manifold absolute pressure sensor connector.
    9. Disconnect the C44 oil pressure sensor connector.
    10. Disconnect the A38 and C63 ECM connectors.
    11. Measure the resistance according to the value(s) in the table below.

      Standard Resistance

      Tester Connection Condition Specified Condition
      A38-49 (VCPA) - Body ground and other terminals Always 10 kΩ or higher
      C63-116 (VCV1) - Body ground and other terminals Always 10 kΩ or higher
      C63-111 (VCE1) - Body ground and other terminals Always 10 kΩ or higher
      A38-55 (VCPP) - Body ground and other terminals Always 10 kΩ or higher
      C63-103 (VCVG) - Body ground and other terminals Always 10 kΩ or higher
      C63-134 (VCTA) - Body ground and other terminals Always 10 kΩ or higher
      C63-117 (VSVS) - Body ground and other terminals Always 10 kΩ or higher
      C63-110 (VCPT) - Body ground and other terminals Always 10 kΩ or higher
      C63-77 (VCPM) - Body ground and other terminals Always 10 kΩ or higher
      1 (EFI NO. 2 fuse holder) - A38-2(+B) Always Below 1 Ω
      1 (EFI NO. 2 fuse holder) - A38-3(+B2) Always Below 1 Ω

      Result

      Proceed to
      OK
      NG

    Result: 

    OK 

    REPLACE ECM. Refer to  REMOVAL [02/2017 - 10/2017]  , or refer to  REMOVAL [10/2017 - 08/2020]  , or refer to  REMOVAL [08/2020 - 12/2021]  , or refer to  REMOVAL [12/2021 - ] 

    Result: 

    NG 

    REPAIR OR REPLACE HARNESS OR CONNECTOR