LEMON Manuals: Even more car manuals for everyone: 1960-2025
Home >> Toyota >> 2019 >> Prius LE AWD-e >> Repair and Diagnosis (Single Page) >> Brakes >> Traction Control >> Electronically Controlled Brake System - Diagnostic Codes (3 Of 5) >> Electronically Controlled Brake System >> DTC C1413: Front Speed Sensor RH Circuit Output; DTC C1414: Front Speed Sensor LH Circuit Output [11/2015 - 12/2018] >> Procedure
April 5, 2026: LEMON Manuals is launched! Read the announcement.

DTC C1413: Front Speed Sensor RH Circuit Output; DTC C1414: Front Speed Sensor LH Circuit Output [11/2015 - 12/2018]: Procedure

  1. CLEAR DTC 
    1. Clear the DTCs.

      Chassis > ABS/VSC/TRAC > Clear DTCs 

      Result

      Proceed to
      NEXT

    Result: 

    NEXT 

    See step  2

  2. CHECK DTC 
    1. Turn the power switch off.
    2. Turn the power switch on (IG).
    3. Check if the same DTC is output.

      Chassis > ABS/VSC/TRAC > Trouble Codes 

      Result

      Result Proceed to
      C1413 is output A
      C1414 is output B

    Result: 

    See step  11

    Result: 

    See step  3

  3. READ VALUE USING TECHSTREAM (MOMENTARY INTERRUPTION) 
    1. Using the Techstream, check for any momentary interruptions in the wire harness and connector corresponding to a DTC.

      Chassis > ABS/VSC/TRAC > Data List 

      Tester Display Measurement Item Range Normal Condition Diagnostic Note
      FR Speed Sensor Voltage Open Front speed sensor RH voltage open detection Error or Normal Error: Momentary interruption
      Normal: Normal
      -

      Chassis > ABS/VSC/TRAC > Data List 

      Tester Display
      FR Speed Sensor Voltage Open
    2. Check for any momentary interruptions in the wire harness and connectors.
      NOTE:

      Perform the above inspection before removing the sensor and connector.

      Result

      Result Proceed to
      The value of FR Speed Sensor Voltage Open is always Normal A
      The value of FR Speed Sensor Voltage Open outputs Error one or more times B

    Result: 

    See step  7

    Result: 

    See step  4

  4. READ VALUE USING TECHSTREAM (FRONT SPEED SENSOR RH) 
    1. Select the Data List on the Techstream.

      Chassis > ABS/VSC/TRAC > Data List 

      Tester Display Measurement Item Range Normal Condition Diagnostic Note
      FR Wheel Speed Front speed sensor RH Min.: 0 km/h (0 mph), Max.: 326.4 km/h (203 mph) Vehicle stopped: 0 km/h (0 mph) When driving at constant speed: No large fluctuations

      Chassis > ABS/VSC/TRAC > Data List 

      Tester Display
      FR Wheel Speed
    2. Check the front speed sensor RH output value.

      Result

      Result Proceed to
      The value of FR Wheel Speed changes in accordance with the vehicle speed A
      Other than above B

    Result: 

    See step  7

    Result: 

    See step  5

  5. CLEAR DTC 
    1. Clear the DTCs.

      Chassis > ABS/VSC/TRAC > Clear DTCs 

      Result

      Proceed to
      NEXT

    Result: 

    NEXT 

    See step  6

  6. RECONFIRM DTC 
    1. Turn the power switch off.
    2. Turn the power switch on (READY).
    3. Perform a road test.
    4. Check if the same DTC is output.

      Chassis > ABS/VSC/TRAC > Trouble Codes 

      Result

      Result Proceed to
      C1413 is not output A
      C1413 is output B

    Result: 

    USE SIMULATION METHOD TO CHECK. Refer to  HOW TO PROCEED WITH TROUBLESHOOTING [11/2015 - 12/2018] 

    Result: 

    REPLACE BRAKE BOOSTER WITH MASTER CYLINDER ASSEMBLY. Refer to  REMOVAL [11/2015 - 12/2018] 

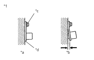
  7. CHECK FRONT SPEED SENSOR RH INSTALLATION 
    1. Turn the power switch off.
      GTY483599Courtesy of © TOYOTA, LICENSE AGREEMENT TMS1002
      *1 Front Speed Sensor RH
      *a OK
      *b NG
      *c 8.5 N*m
      *d No Clearance
    2. Check the front speed sensor RH installation.

      OK

      There is no clearance between the sensor and the front steering knuckle.

      The installation bolt is tightened properly.

      Torque 

      8.5 N*m (87 kgf*cm, 75 in.*lbf)

      Result

      Proceed to
      OK
      NG

    Result: 

    NG 

    REINSTALL OR REPLACE FRONT SPEED SENSOR RH. Refer to  REMOVAL [11/2015 - ] 

    Result: 

    OK 

    See step  8

  8. CHECK FRONT SPEED SENSOR RH AND FRONT SPEED SENSOR ROTOR RH (CHECK FOR FOREIGN MATTER) 
    1. Remove the front speed sensor RH and the component with the front speed sensor rotor RH.

      HINT: 

      for Front Speed Sensor RH: Refer to REMOVAL [11/2015 - ]

      for Front Speed Sensor Rotor RH: Refer to REMOVAL [11/2015 - 12/2018]

    2. Check the front speed sensor tip RH and front speed sensor rotor RH.

      OK

      The front speed sensor tip RH and front speed sensor rotor RH are free of scratches, oil, and foreign matter.

      NOTE:
      • If there is oil or foreign matter on the front speed sensor RH, clean the front speed sensor RH and then check the front speed sensor rotor RH.
      • If the front speed sensor RH is damaged, replace the front speed sensor RH with a new one.
      • Check the front speed sensor RH signal after cleaning or replacement.

        Refer to TEST MODE PROCEDURE [11/2015 - 12/2018]

      Result

      Proceed to
      OK
      NG

    Result: 

    NG 

    CLEAN OR REPLACE FRONT SPEED SENSOR RH AND FRONT SPEED SENSOR ROTOR RH 

    Result: 

    OK 

    See step  9

  9. CHECK HARNESS AND CONNECTOR (BRAKE BOOSTER WITH MASTER CYLINDER ASSEMBLY - FRONT SPEED SENSOR RH) 
    1. Make sure that there is no looseness at the locking part and the connecting part of the connectors.

      OK

      The connector is securely connected.

    2. Disconnect the A41 skid control ECU (brake booster with master cylinder assembly) connector.
    3. Disconnect the A31 front speed sensor RH connector.
    4. Check both the connector case and the terminals for deformation and corrosion.

      OK

      No deformation or corrosion.

    5. Measure the resistance according to the value(s) in the table below.

      Standard Resistance

      (A41, A31)

      (A41)

      (A31)

      Tester Connection Condition Specified Condition
      A41-3 (FR+) - A31-1 (FR+) Always Below 1 Ω
      A41-3 (FR+) or A31-1 (FR+) - Body ground Always 10 kΩ or higher
      A41-4 (FR-) - A31-2 (FR-) Always Below 1 Ω
      A41-4 (FR-) or A31-2 (FR-) - Body ground Always 10 kΩ or higher

      Result

      Proceed to
      OK
      NG

    Result: 

    NG 

    REPAIR OR REPLACE HARNESS OR CONNECTOR 

    Result: 

    OK 

    See step  10

  10. INSPECT BRAKE BOOSTER WITH MASTER CYLINDER ASSEMBLY (SENSOR OUTPUT) 
    1. Reconnect the A41 skid control ECU (brake booster with master cylinder assembly) connector.
      GTY692549Courtesy of © TOYOTA, LICENSE AGREEMENT TMS1002
      *a Front view of wire harness connector
      (to Front Speed Sensor RH)
    2. Turn the power switch on (IG).
    3. Measure the voltage according to the value(s) in the table below.

      Standard Voltage

      (A31)

      (A31)

      Tester Connection Condition Specified Condition
      A31-1 (FR+) - Body ground Power switch on (IG) 8 to 14 V
      NOTE:

      Check the front speed sensor RH signal after replacement.

      Refer to TEST MODE PROCEDURE [11/2015 - 12/2018]

      Result

      Proceed to
      OK
      NG

    Result: 

    OK 

    REPLACE FRONT SPEED SENSOR RH. Refer to  REMOVAL [11/2015 - ] 

    Result: 

    NG 

    REPLACE BRAKE BOOSTER WITH MASTER CYLINDER ASSEMBLY. Refer to  REMOVAL [11/2015 - 12/2018] 

  11. READ VALUE USING TECHSTREAM (MOMENTARY INTERRUPTION) 
    1. Using the Techstream, check for any momentary interruptions in the wire harness and connector corresponding to a DTC.

      Chassis > ABS/VSC/TRAC > Data List 

      Tester Display Measurement Item Range Normal Condition Diagnostic Note
      FL Speed Sensor Voltage Open Front speed sensor LH voltage open detection Error or Normal Error: Momentary interruption
      Normal: Normal
      -

      Chassis > ABS/VSC/TRAC > Data List 

      Tester Display
      FL Speed Sensor Voltage Open
    2. Check for any momentary interruptions in the wire harness and connectors.
      NOTE:

      Perform the above inspection before removing the sensor and connector.

      Result

      Result Proceed to
      The value of FL Speed Sensor Voltage Open is always Normal A
      The value of FL Speed Sensor Voltage Open outputs Error one or more times B

    Result: 

    See step  15

    Result: 

    See step  12

  12. READ VALUE USING TECHSTREAM (FRONT SPEED SENSOR LH) 
    1. Select the Data List on the Techstream.

      Chassis > ABS/VSC/TRAC > Data List 

      Tester Display Measurement Item Range Normal Condition Diagnostic Note
      FL Wheel Speed Front speed sensor LH Min.: 0 km/h (0 mph), Max.: 326.4 km/h (203 mph) Vehicle stopped: 0 km/h (0 mph) When driving at constant speed: No large fluctuations

      Chassis > ABS/VSC/TRAC > Data List 

      Tester Display
      FL Wheel Speed
    2. Check the front speed sensor LH output value.

      Result

      Result Proceed to
      The value of FL Wheel Speed changes in accordance with the vehicle speed A
      Other than above B

    Result: 

    See step  15

    Result: 

    See step  13

  13. CLEAR DTC 
    1. Clear the DTCs.

      Chassis > ABS/VSC/TRAC > Clear DTCs 

      Result

      Proceed to
      NEXT

    Result: 

    NEXT 

    See step  14

  14. RECONFIRM DTC 
    1. Turn the power switch off.
    2. Turn the power switch on (READY).
    3. Perform a road test.
    4. Check if the same DTC is output.

      Chassis > ABS/VSC/TRAC > Trouble Codes 

      Result

      Result Proceed to
      C1414 is not output A
      C1414 is output B

    Result: 

    USE SIMULATION METHOD TO CHECK. Refer to  HOW TO PROCEED WITH TROUBLESHOOTING [11/2015 - 12/2018] 

    Result: 

    REPLACE BRAKE BOOSTER WITH MASTER CYLINDER ASSEMBLY. Refer to  REMOVAL [11/2015 - 12/2018] 

  15. CHECK FRONT SPEED SENSOR LH INSTALLATION 
    1. Turn the power switch off.
      GTY483599Courtesy of © TOYOTA, LICENSE AGREEMENT TMS1002
      *1 Front Speed Sensor LH
      *a OK
      *b NG
      *c 8.5 N*m
      *d No Clearance
    2. Check the front speed sensor LH installation.

      OK

      There is no clearance between the sensor and the front steering knuckle.

      The installation bolt is tightened properly.

      Torque 

      8.5 N*m (87 kgf*cm, 75 in.*lbf)

      Result

      Proceed to
      OK
      NG

    Result: 

    NG 

    REINSTALL OR REPLACE FRONT SPEED SENSOR LH. Refer to  REMOVAL [11/2015 - ] 

    Result: 

    OK 

    See step  16

  16. CHECK FRONT SPEED SENSOR LH AND FRONT SPEED SENSOR ROTOR LH (CHECK FOR FOREIGN MATTER) 
    1. Remove the front speed sensor LH and the component with the front speed sensor rotor LH.

      HINT: 

      for Front Speed Sensor LH: Refer to REMOVAL [11/2015 - ]

      for Front Speed Sensor Rotor LH: Refer to REMOVAL [11/2015 - 12/2018]

    2. Check the front speed sensor tip LH and front speed sensor rotor LH.

      OK

      The front speed sensor tip LH and front speed sensor rotor LH are free of scratches, oil, and foreign matter.

      NOTE:
      • If there is oil or foreign matter on the front speed sensor LH, clean the front speed sensor LH and then check the front speed sensor rotor LH.
      • If the front speed sensor LH is damaged, replace the front speed sensor LH with a new one.
      • Check the front speed sensor LH signal after cleaning or replacement.

        Refer to TEST MODE PROCEDURE [11/2015 - 12/2018]

      Result

      Proceed to
      OK
      NG

    Result: 

    NG 

    CLEAN OR REPLACE FRONT SPEED SENSOR LH AND FRONT SPEED SENSOR ROTOR LH 

    Result: 

    OK 

    See step  17

  17. CHECK HARNESS AND CONNECTOR (BRAKE BOOSTER WITH MASTER CYLINDER ASSEMBLY - FRONT SPEED SENSOR LH) 
    1. Make sure that there is no looseness at the locking part and the connecting part of the connectors.

      OK

      The connector is securely connected.

    2. Disconnect the A41 skid control ECU (brake booster with master cylinder assembly) connector.
    3. Disconnect the A15 front speed sensor LH connector.
    4. Check both the connector case and the terminals for deformation and corrosion.

      OK

      No deformation or corrosion.

    5. Measure the resistance according to the value(s) in the table below.

      Standard Resistance

      (A41, A15)

      (A41)

      (A15)

      Tester Connection Condition Specified Condition
      A41-31 (FL+) - A15-1 (FL+) Always Below 1 Ω
      A41-31 (FL+) or A15-1 (FL+) - Body ground Always 10 kΩ or higher
      A41-32 (FL-) - A15-2 (FL-) Always Below 1 Ω
      A41-32 (FL-) or A15-2 (FL-) - Body ground Always 10 kΩ or higher

      Result

      Proceed to
      OK
      NG

    Result: 

    NG 

    REPAIR OR REPLACE HARNESS OR CONNECTOR 

    Result: 

    OK 

    See step  18

  18. INSPECT BRAKE BOOSTER WITH MASTER CYLINDER ASSEMBLY (SENSOR OUTPUT) 
    1. Reconnect the A41 skid control ECU (brake booster with master cylinder assembly) connector.
      GTY692550Courtesy of © TOYOTA, LICENSE AGREEMENT TMS1002
      *a Front view of wire harness connector
      (to Front Speed Sensor LH)
    2. Turn the power switch on (IG).
    3. Measure the voltage according to the value(s) in the table below.

      Standard Voltage

      (A15)

      (A15)

      Tester Connection Condition Specified Condition
      A15-1 (FL+) - Body ground Power switch on (IG) 8 to 14 V
      NOTE:

      Check the front speed sensor LH signal after replacement.

      Refer to TEST MODE PROCEDURE [11/2015 - 12/2018]

      Result

      Proceed to
      OK
      NG

    Result: 

    OK 

    REPLACE FRONT SPEED SENSOR LH. Refer to  REMOVAL [11/2015 - ] 

    Result: 

    NG 

    REPLACE BRAKE BOOSTER WITH MASTER CYLINDER ASSEMBLY. Refer to  REMOVAL [11/2015 - 12/2018]