LEMON Manuals: Even more car manuals for everyone: 1960-2025
Home >> Toyota >> 2019 >> RAV4 LE, AWD >> Repair and Diagnosis (Single Page) >> Accessories & Equipment >> Anti-Theft Systems >> Smart Key System (For Start, Except HV) - Diagnostics - Introduction (1 Of 3) >> SMART KEY SYSTEM (for Start Function, Gasoline Model) >> System Diagram [11/2018 - 08/2020] >> System Diagram [11/2018 - 08/2020]
April 5, 2026: LEMON Manuals is launched! Read the announcement.

System Diagram [11/2018 - 08/2020]

  1. SMART KEY SYSTEM (for Start Function) 
    Fig 1: Smart Key System Diagram (For Start Function) (1 Of 7)
    GTY871965Courtesy of © TOYOTA, LICENSE AGREEMENT TMS1002
    Fig 2: Smart Key System Diagram (For Start Function) (2 Of 7)
    GTY873611Courtesy of © TOYOTA, LICENSE AGREEMENT TMS1002
    Fig 3: Smart Key System Diagram (For Start Function) (3 Of 7)
    GTY1117091Courtesy of © TOYOTA, LICENSE AGREEMENT TMS1002
    Fig 4: Smart Key System Diagram (For Start Function) (4 Of 7)
    GTY1110515Courtesy of © TOYOTA, LICENSE AGREEMENT TMS1002
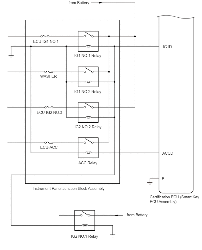
    Fig 5: Smart Key System Diagram (For Start Function) (5 Of 7)
    GTY839970Courtesy of © TOYOTA, LICENSE AGREEMENT TMS1002
    Fig 6: Smart Key System Diagram (For Start Function) (6 Of 7)
    GTY839968Courtesy of © TOYOTA, LICENSE AGREEMENT TMS1002
    Fig 7: Smart Key System Diagram (For Start Function) (7 Of 7)
    GTY881050Courtesy of © TOYOTA, LICENSE AGREEMENT TMS1002
  2. SMART KEY SYSTEM (for Entry Function) 

    Refer to SYSTEM DIAGRAM [11/2018 - 10/2023]