LEMON Manuals: Even more car manuals for everyone: 1960-2025
Home >> Toyota >> 2019 >> RAV4 LE, AWD >> Repair and Diagnosis (Single Page) >> Restraints >> Air Bag, SRS >> Airbag System (W/ OCS) - Diagnostic Codes (4 Of 4) & Symptom Tests >> AIRBAG SYSTEM (w/ Occupant Classification System) >> DTC B1900: Short in P/T Squib (RH) Circuit; DTC B1901: Open in P/T Squib (RH) Circuit; DTC B1902: Short in P/T Squib (RH) Circuit (to Ground); DTC B1903: Short in P/T Squib (RH) Circuit (to +B) [02/2019 - 08/2020] >> Procedure
April 5, 2026: LEMON Manuals is launched! Read the announcement.

DTC B1900: Short in P/T Squib (RH) Circuit; DTC B1901: Open in P/T Squib (RH) Circuit; DTC B1902: Short in P/T Squib (RH) Circuit (to Ground); DTC B1903: Short in P/T Squib (RH) Circuit (to +B) [02/2019 - 08/2020]: Procedure

  1. CHECK CONNECTORS 
    1. Turn the ignition switch off.
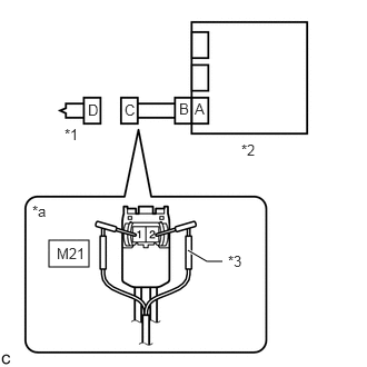
      GTY826018Courtesy of © TOYOTA, LICENSE AGREEMENT TMS1002
      *1 Front Seat Outer Belt Assembly RH
      *2 Airbag ECU Assembly
      *3 Floor Wire
    2. Disconnect the cable from the negative (-) auxiliary battery terminal, and wait for at least 90 seconds.
    3. Check that the connectors are properly connected to the front seat outer belt assembly RH and airbag ECU assembly.

      OK

      The connectors are properly connected.

      HINT: 

      If the connectors are not properly connected, reconnect the connectors and proceed to the next inspection.

    4. Disconnect the connectors from the front seat outer belt assembly RH and airbag ECU assembly.
    5. Check that the terminals of the connectors are not deformed or damaged.

      OK

      The terminals are not deformed or damaged.

    6. Check that the floor wire connector (on the front seat outer belt assembly RH side) is not loose, deformed or damaged.

      OK

      The connector locking button is not disengaged, and the claw of the lock is not deformed or damaged.

    7. Check that the short springs of the activation prevention mechanism of the floor wire connector are not deformed or damaged.

      OK

      The short springs are not deformed or damaged.

      Result

      Proceed to
      OK
      NG

    Result: 

    NG 

    REPLACE FLOOR WIRE 

    Result: 

    OK 

    See step  2

  2. CHECK FRONT SEAT OUTER BELT ASSEMBLY RH 
    1. Connect the connector to the airbag ECU assembly.
      GTY933614Courtesy of © TOYOTA, LICENSE AGREEMENT TMS1002
      *1 Front Seat Outer Belt Assembly RH
      *2 Airbag ECU Assembly
      *3 SST
      *a Front view of wire harness connector
      (to Front Seat Outer Belt Assembly RH)
    2. Connect the white wire side of SST (resistance: 2.1 Ω) to connector C.
      WARNING:

      Never connect the tester to the front seat outer belt assembly RH for measurement, as this may lead to a serious injury due to airbag deployment.

      NOTE:
      • Do not forcibly insert SST into the terminals of the connector when connecting SST.
      • Insert SST straight into the terminals of the connector.
      • SST: 09843-18061 
    3. Connect the cable to the negative (-) auxiliary battery terminal, and wait for at least 2 seconds.
    4. Turn the ignition switch to ON, and wait for at least 60 seconds.
    5. Clear the DTCs stored in memory.

      Refer to DTC CHECK / CLEAR [11/2018 - 08/2020]

      Body Electrical > SRS Airbag > Clear DTCs 

    6. Turn the ignition switch off.
    7. Turn the ignition switch to ON, and wait for at least 60 seconds.
    8. Check for DTCs.

      Refer to DTC CHECK / CLEAR [11/2018 - 08/2020]

      Body Electrical > SRS Airbag > Trouble Codes 

      Result

      Proceed to
      DTCs B1900, B1901, B1902 and B1903 are not output
      DTC B1900, B1901, B1902 or B1903 is output

      HINT: 

      Codes other than DTC B1900, B1901, B1902 and B1903 may be output at this time, but they are not related to this check.

    9. Turn the ignition switch off.
    10. Disconnect the cable from the negative (-) auxiliary battery terminal, and wait for at least 90 seconds.
    11. Disconnect SST from connector C.

    Result: 

    DTCs B1900, B1901, B1902 and B1903 are not output 

    REPLACE FRONT SEAT OUTER BELT ASSEMBLY RH. Refer to  REMOVAL [02/2019 - 10/2019]  , or refer to  REMOVAL [10/2019 - 08/2020] 

    Result: 

    DTC B1900, B1901, B1902 or B1903 is output 

    See step  3

  3. CHECK FLOOR WIRE 
    1. Disconnect the floor wire from the airbag ECU assembly.
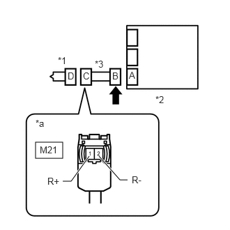
      GTY874772Courtesy of © TOYOTA, LICENSE AGREEMENT TMS1002
      *1 Front Seat Outer Belt Assembly RH
      *2 Airbag ECU Assembly
      *3 Floor Wire
      *a Front view of wire harness connector
      (to Front Seat Outer Belt Assembly RH)
      Release the activation prevention mechanism
    2. Check for a short to B+ in the circuit.
      1. Connect the cable to the negative (-) auxiliary battery terminal.
      2. Turn the ignition switch to ON.
      3. Measure the voltage according to the value(s) in the table below.

        Standard Voltage

        Tester Connection Switch Condition Specified Condition
        M21-1 (R+) - Body ground Ignition switch ON Below 1 V
        M21-2 (R-) - Body ground Ignition switch ON Below 1 V
      4. Turn the ignition switch off.
      5. Disconnect the cable from the negative (-) auxiliary battery terminal, and wait for at least 90 seconds.
    3. Check for an open in the circuit.
      1. Measure the resistance according to the value(s) in the table below.

        Standard Resistance

        Tester Connection Condition Specified Condition
        M21-1 (R+) - M21-2 (R-) Always Below 1 Ω
    4. Check for a short to ground in the circuit.
      1. Measure the resistance according to the value(s) in the table below.

        Standard Resistance

        Tester Connection Condition Specified Condition
        M21-1 (R+) - Body ground Always 1 MΩ or higher
        M21-2 (R-) - Body ground Always 1 MΩ or higher
    5. Check for a short in the circuit.
      1. Release the activation prevention mechanism built into connector B.

        Refer to SYSTEM DESCRIPTION [11/2018 - 08/2020]

      2. Measure the resistance according to the value(s) in the table below.

        Standard Resistance

        Tester Connection Condition Specified Condition
        M21-1 (R+) - M21-2 (R-) Always 1 MΩ or higher
      3. Restore the released activation prevention mechanism of connector B to the original condition.

      Result

      Proceed to
      OK
      NG

    Result: 

    NG 

    REPLACE FLOOR WIRE 

    Result: 

    OK 

    See step  4

  4. CHECK DTC 
    1. Connect the connectors to the front seat outer belt assembly RH and airbag ECU assembly.
      GTY788307Courtesy of © TOYOTA, LICENSE AGREEMENT TMS1002
      *1 Front Seat Outer Belt Assembly RH
      *2 Airbag ECU Assembly
    2. Connect the cable to the negative (-) auxiliary battery terminal, and wait for at least 2 seconds.
    3. Turn the ignition switch to ON, and wait for at least 60 seconds.
    4. Clear the DTCs stored in memory.

      Refer to DTC CHECK / CLEAR [11/2018 - 08/2020]

      Body Electrical > SRS Airbag > Clear DTCs 

    5. Turn the ignition switch off.
    6. Turn the ignition switch to ON, and wait for at least 60 seconds.
    7. Check for DTCs.

      Refer to DTC CHECK / CLEAR [11/2018 - 08/2020]

      Body Electrical > SRS Airbag > Trouble Codes 

      Result

      Proceed to
      DTCs B1900, B1901, B1902 and B1903 are not output
      DTC B1900, B1901, B1902 or B1903 is output

      HINT: 

      Codes other than DTC B1900, B1901, B1902 and B1903 may be output at this time, but they are not related to this check.

    Result: 

    DTCs B1900, B1901, B1902 and B1903 are not output 

    USE SIMULATION METHOD TO CHECK. Refer to  HOW TO PROCEED WITH TROUBLESHOOTING [11/2018 - ] 

    Result: 

    DTC B1900, B1901, B1902 or B1903 is output 

    REPLACE AIRBAG ECU ASSEMBLY. Refer to  REMOVAL [02/2019 - 10/2019]  , or refer to  REMOVAL [10/2019 - 08/2020]