LEMON Manuals: Even more car manuals for everyone: 1960-2025
Home >> Toyota >> 2019 >> RAV4 XLE Premium, AWD >> Repair and Diagnosis >> Engine Performance >> System >> Engine Control System (A25A-FKS) (W/O Canister Pump Module) - Diagnostics - Introduction (1 Of 2) >> SFI SYSTEM (w/o Canister Pump Module) >> System Diagram [11/2018 - 10/2019] >> System Diagram [11/2018 - 10/2019]
April 5, 2026: LEMON Manuals is launched! Read the announcement.

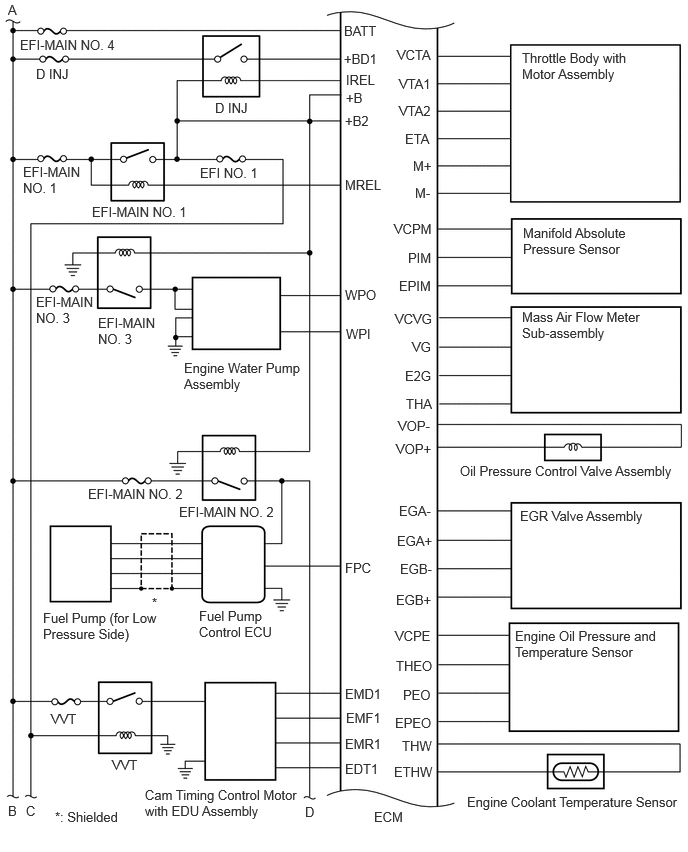
System Diagram [11/2018 - 10/2019]

GTY920486Courtesy of © TOYOTA, LICENSE AGREEMENT TMS1002
GTY939227Courtesy of © TOYOTA, LICENSE AGREEMENT TMS1002
GTY913427Courtesy of © TOYOTA, LICENSE AGREEMENT TMS1002
GTY892339Courtesy of © TOYOTA, LICENSE AGREEMENT TMS1002