LEMON Manuals: Even more car manuals for everyone: 1960-2025
Home >> Toyota >> 2019 >> Tundra TRD Pro >> Repair and Diagnosis >> Body & Frame >> Windows >> Power Window Control System (W/ Jam Protection Function) - Diagnostic Codes & Symptom Tests >> POWER WINDOW CONTROL SYSTEM (w/ Jam Protection Function) >> Driver Side Power Window does not Operate with Power Window Master Switch [08/2017 - ] >> Procedure
April 5, 2026: LEMON Manuals is launched! Read the announcement.

Driver Side Power Window does not Operate with Power Window Master Switch [08/2017 - ]: Procedure

  1. CHECK LIN COMMUNICATION SYSTEM 
    1. Check for LIN communication system DTCs related to the power window control system (Refer to HOW TO PROCEED WITH TROUBLESHOOTING [08/2015 - ] ).

      OK

      LIN communication system DTCs are not output.

    Result: 

    NG 

    GO TO LIN COMMUNICATION SYSTEM 

    (Refer to HOW TO PROCEED WITH TROUBLESHOOTING [08/2015 - ] )

    Result: 

    OK 

    See step  2

  2. CHECK FOR DTC (B2312) 
    1. Check if DTC B2312 is output (Refer to DTC CHECK / CLEAR [08/2015 - ] ).

      OK

      DTC B2312 is not output.

    Result: 

    NG 

    GO TO DTC (B2312) 

    (Refer to DTC B2312: Power Window Switch Malfunction [08/2017 - ] )

    Result: 

    OK 

    See step  3

  3. READ VALUE USING TECHSTREAM (DRIVER SIDE MOTOR) 
    1. Use the Data List to check if the driver side motor is functioning properly.
      D-DOOR MOTOR

      Tester Display Measurement Item/Range Normal Condition Diagnostic Note
      D Door P/W Up SW Driver side power window MANUAL UP switch signal / ON or OFF ON: Driver side switch operated
      OFF: Driver side switch not operated
      -
      D Door P/W Down SW Driver side power window MANUAL DOWN switch signal / ON or OFF ON: Driver side switch operated
      OFF: Driver side switch not operated
      -

      OK

      The Techstream display changes normally when master switch is operated.

    Result: 

    OK 

    REPLACE FRONT POWER WINDOW REGULATOR MOTOR ASSEMBLY LH 

    (Refer to REMOVAL [08/2017 - ] )

    Result: 

    NG 

    See step  4

  4. CHECK HARNESS AND CONNECTOR (MASTER SWITCH - BATTERY AND BODY GROUND) 
    1. Disconnect the master switch connector.
      Fig 1: Master Switch Connector End View
      GTY752457Courtesy of © TOYOTA, LICENSE AGREEMENT TMS1002
      *a Front view of wire harness connector
      (to Master Switch)
    2. Measure the voltage and resistance according to the value(s) in the table below.

      Standard Voltage

      Tester Connection Switch Condition Specified Condition
      N2-3 (B) - Body ground Always 11 to 14 V
      N2-13 (B) - Body ground Ignition switch ON 11 to 14 V

      Standard Resistance

      Tester Connection Condition Specified Condition
      N2-1 (E) - Body ground Always Below 1 Ω

    Result: 

    NG 

    REPAIR OR REPLACE HARNESS OR CONNECTOR 

    Result: 

    OK 

    See step  5

  5. CHECK HARNESS AND CONNECTOR (DRIVER SIDE MOTOR - BATTERY AND BODY GROUND) 
    1. Disconnect the motor connector.
      Fig 2: Driver Side Motor Connector End View
      GTY746252Courtesy of © TOYOTA, LICENSE AGREEMENT TMS1002
      *a Front view of wire harness connector
      (to Driver Side Motor)
    2. Measure the voltage and resistance according to the value(s) in the table below.

      Standard Voltage

      Tester Connection Condition Specified Condition
      N12-2 (B) - Body ground Always 11 to 14 V

      Standard Resistance

      Tester Connection Condition Specified Condition
      N12-1 (GND) - Body ground Always Below 1 Ω

    Result: 

    NG 

    REPAIR OR REPLACE HARNESS OR CONNECTOR 

    Result: 

    OK 

    See step  6

  6. CHECK HARNESS AND CONNECTOR (MASTER SWITCH - DRIVER SIDE MOTOR) 
    1. Disconnect the N2 master switch connector.
    2. Disconnect the N12 motor connector.
    3. Measure the resistance according to the value(s) in the table below.

      Standard Resistance

      Tester Connection Condition Specified Condition
      N2-4 (UP) - N12-10 (UP) Always Below 1 Ω
      N2-5 (DOWN) - N12-7 (DOWN) Always Below 1 Ω
      N2-4 (UP) - Body ground Always 10 kΩ or higher
      N2-5 (DOWN) - Body ground Always 10 kΩ or higher

    Result: 

    NG 

    REPAIR OR REPLACE HARNESS OR CONNECTOR 

    Result: 

    OK 

    See step  7

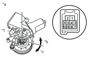
  7. INSPECT FRONT POWER WINDOW REGULATOR MOTOR ASSEMBLY LH 
    1. Remove the driver side motor (Refer to REMOVAL [08/2017 - ] ).
      Fig 3: Driver Side Motor Connector End View
      GTY754875Courtesy of © TOYOTA, LICENSE AGREEMENT TMS1002
      *1 Motor Gear
      *a Component without harness connected
      (Driver Side Motor)
      *b Counterclockwise
      *c Clockwise
    2. Apply positive (+) battery voltage to connector terminal 2 (B).
      NOTE:
      • Do not apply positive (+) battery voltage to any terminals except terminal 2 (B) to avoid damaging the pulse sensor inside the motor.
      • Reset the power window regulator motor (initialize the pulse sensor) after installing the power window regulator motor and regulator assembly to the door.
    3. Apply negative (-) battery voltage to connector terminals 1 (GND) and 7 (DOWN) / 10 (UP).
    4. Check that the motor gear rotates smoothly as follows.

      OK

      Measurement Condition Specified Condition
      Battery positive (+) → 2 (B)
      Battery negative (-): 1 (GND) (3 sec. or more) → 1 (GND) and 10 (UP) (within 1 sec.) → 1 (GND) (within 1 sec.) → 1 (GND) and 10 (UP)
      Motor gear rotates clockwise
      Battery positive (+) → 2 (B)
      Battery negative (-): 1 (GND) (3 sec. or more) → 1 (GND) and 7 (DOWN) (within 1 sec.) → 1 (GND) (within 1 sec.) → 1 (GND) and 7 (DOWN)
      Motor gear rotates counterclockwise

    Result: 

    OK 

    REPLACE POWER WINDOW REGULATOR MASTER SWITCH ASSEMBLY 

    (Refer to REMOVAL [08/2017 - ] )

    Result: 

    NG 

    REPLACE FRONT POWER WINDOW REGULATOR MOTOR ASSEMBLY LH 

    (Refer to REMOVAL [08/2017 - ] )