LEMON Manuals: Even more car manuals for everyone: 1960-2025
Home >> Toyota >> 2020 >> RAV4 Adventure >> Repair and Diagnosis (Single Page) >> Accessories & Equipment >> Anti-Theft Systems >> Smart Key System (For Start, Except HV) - Diagnostic Codes (1 Of 2) >> SMART KEY SYSTEM (for Start Function, Gasoline Model) >> DTC B2799-86: Engine Immobiliser System Signal (Some Circuit Quantity, Reported via Serial Data) Invalid [11/2018 - 08/2020] >> Procedure
April 5, 2026: LEMON Manuals is launched! Read the announcement.

DTC B2799-86: Engine Immobiliser System Signal (Some Circuit Quantity, Reported via Serial Data) Invalid [11/2018 - 08/2020]: Procedure

  1. CHECK VEHICLE TYPE 
    1. Check vehicle condition.

      Result

      Proceed to
      w/o Occupant Classification System
      w/ Occupant Classification System

    Result: 

    w/ Occupant Classification System 

    See step  9

    Result: 

    w/o Occupant Classification System 

    See step  2

  2. REGISTER ECU COMMUNICATION ID (ID CODE BOX (IMMOBILISER CODE ECU) - ECM) 
    1. Register the communication ID codes.

      HINT: 

      Refer to Registration.

      Refer to REGISTRATION [11/2018 - 10/2019] , or refer to REGISTRATION [10/2019 - 08/2020]

      Result

      Proceed to
      NEXT

    Result: 

    NEXT 

    See step  3

  3. CHECK ECM (TERMINAL EFII) 
    1. Using an oscilloscope, check the waveform.
      GTY943402Courtesy of © TOYOTA, LICENSE AGREEMENT TMS1002
      *a Component with harness connected
      (ID Code Box (Immobiliser Code ECU))
      *b Waveform
      *c Approximately 160 ms. *d Approximately 270 ms.

      Measurement Condition

      Tester Connection Condition Tool Setting Specified Condition
      G57-3 (EFII) - Body ground Within 3 seconds of engine start or within 3 seconds of engine switch turned on (IG) after cable disconnected and reconnected to battery 2 V/DIV., 500 ms./DIV. Pulse generation
      (See waveform)

      Result

      Result Proceed to
      Normal waveform A
      Terminal EFII stuck low (2.4 V or less) B
      Waveform length or shape is abnormal, or EFII terminal stuck at Hi (12 V) C

    Result: 

    See step  7

    Result: 

    REPLACE ECM. Refer to  REMOVAL [11/2018 - 08/2020] 

    Result: 

    See step  4

  4. CHECK ID CODE BOX (IMMOBILISER CODE ECU) (TERMINAL EFIO) 
    1. Using an oscilloscope, check the waveform.
      GTY845484Courtesy of © TOYOTA, LICENSE AGREEMENT TMS1002
      *a Component with harness connected
      (ID Code Box (Immobiliser Code ECU))
      *b Waveform
      *c Approximately 160 ms. *d Approximately 270 ms.

      Measurement Condition

      Tester Connection Condition Tool Setting Specified Condition
      G57-4 (EFIO) - Body ground Within 3 seconds of engine start or within 3 seconds of engine switch turned on (IG) after cable disconnected and reconnected to battery 2 V/DIV., 500 ms./DIV. Pulse generation
      (See waveform)

      Result

      Proceed to
      OK
      NG

    Result: 

    NG 

    REPLACE ID CODE BOX (IMMOBILISER CODE ECU). Refer to  REMOVAL [11/2018 - 02/2019]  , or refer to  REMOVAL [02/2019 - 10/2019]  , or refer to  REMOVAL [10/2019 - 08/2020] 

    Result: 

    OK 

    See step  5

  5. REGISTER ECU COMMUNICATION ID (ID CODE BOX (IMMOBILISER CODE ECU) - ECM) 
    1. Register the ECU communication ID codes.

      HINT: 

      Refer to Registration.

      Refer to REGISTRATION [11/2018 - 10/2019] , or refer to REGISTRATION [10/2019 - 08/2020]

      Result

      Proceed to
      NEXT

    Result: 

    NEXT 

    See step  6

  6. CHECK WHETHER ENGINE STARTS 
    1. Check that the engine starts.

      Result

      Result Proceed to
      Engine was started A
      Engine was not started B

    Result: 

    END (ECU COMMUNICATION ID HAS NOT BEEN REGISTERED) 

    Result: 

    REPLACE ECM. Refer to  REMOVAL [11/2018 - 08/2020] 

  7. CHECK ECM (TERMINAL IMO) 
    1. Disconnect the ECM connector.
      GTY839389Courtesy of © TOYOTA, LICENSE AGREEMENT TMS1002
      *a Front view of wire harness connector
      (to ECM)
    2. Measure the voltage according to the value(s) in the table below.

      Standard Voltage

      Tester Connection Switch Condition Specified Condition
      A24-25 (IMO) - Body ground Engine switch turned on (IG) using registered electrical key transmitter sub-assembly Terminal IMO stuck low (2.4 V or less)
      Terminal IMO stuck high (12 V)

      Result

      Result Proceed to
      Terminal IMO stuck low (2.4 V or less) A
      Terminal IMO stuck high (12 V) B

    Result: 

    REPLACE ECM. Refer to  REMOVAL [11/2018 - 08/2020] 

    Result: 

    See step  8

  8. CHECK HARNESS AND CONNECTOR (ID CODE BOX (IMMOBILISER CODE ECU) - ECM) 
    1. Disconnect the G57 ID code box (immobiliser code ECU) connector.
    2. Measure the resistance according to the value(s) in the table below.

      Standard Resistance

      Tester Connection Condition Specified Condition
      G57-3 (EFII) - A24-25 (IMO) Always Below 1 Ω
      G57-3 (EFII) or A24-25 (IMO) - Other terminals and body ground Always 10 kΩ or higher

      Result

      Proceed to
      OK
      NG

    Result: 

    OK 

    REPLACE ID CODE BOX (IMMOBILISER CODE ECU). Refer to  REMOVAL [11/2018 - 02/2019]  , or refer to  REMOVAL [02/2019 - 10/2019]  , or refer to  REMOVAL [10/2019 - 08/2020] 

    Result: 

    NG 

    REPAIR OR REPLACE HARNESS OR CONNECTOR 

  9. REGISTER ECU COMMUNICATION ID (CERTIFICATION ECU (SMART KEY ECU ASSEMBLY) - ECM) 
    1. Register the communication ID codes.

      HINT: 

      Refer to Registration.

      Refer to REGISTRATION [11/2018 - 10/2019] , or refer to REGISTRATION [10/2019 - 08/2020]

      Result

      Proceed to
      NEXT

    Result: 

    NEXT 

    See step  10

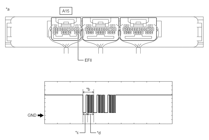
  10. CHECK ECM (TERMINAL EFII) 
    1. Using an oscilloscope, check the waveform.
      GTY855901Courtesy of © TOYOTA, LICENSE AGREEMENT TMS1002
      *a Component with harness connected
      (Certification ECU (Smart Key ECU Assembly))
      *b Waveform
      *c Approximately 160 ms. *d Approximately 270 ms.

      Measurement Condition

      Tester Connection Condition Tool Setting Specified Condition
      A15-3 (EFII) - Body ground Within 3 seconds of engine start or within 3 seconds of engine switch turned on (IG) after cable disconnected and reconnected to battery 2 V/DIV., 500 ms./DIV. Pulse generation
      (See waveform)

      Result

      Result Proceed to
      Normal waveform A
      Terminal EFII stuck low (2.4 V or less) B
      Waveform length or shape is abnormal, or EFII terminal stuck at Hi (12 V) C

    Result: 

    See step  14

    Result: 

    REPLACE ECM. Refer to  REMOVAL [11/2018 - 08/2020] 

    Result: 

    See step  11

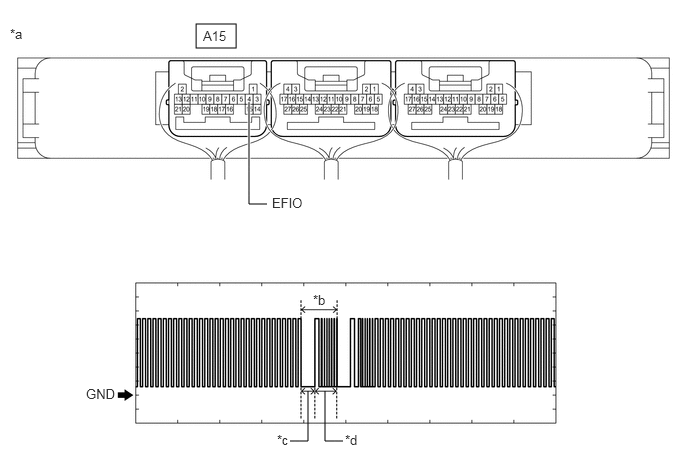
  11. CHECK CERTIFICATION ECU (SMART KEY ECU ASSEMBLY) (TERMINAL EFIO) 
    1. Using an oscilloscope, check the waveform.
      GTY851424Courtesy of © TOYOTA, LICENSE AGREEMENT TMS1002
      *a Component with harness connected
      (Certification ECU (Smart Key ECU Assembly))
      *b Waveform
      *c Approximately 160 ms. *d Approximately 270 ms.

      OK

      Tester Connection Condition Tool Setting Specified Condition
      A15-4 (EFIO) - Body ground Engine switch turned on (IG) using registered electrical key transmitter sub-assembly 2 V/DIV., 500 ms./DIV. Pulse generation
      (See waveform)

      Result

      Proceed to
      OK
      NG

    Result: 

    NG 

    REPLACE CERTIFICATION ECU (SMART KEY ECU ASSEMBLY). Refer to  REMOVAL [11/2018 - 02/2019]  , or refer to  REMOVAL [02/2019 - 10/2019]  , or refer to  REMOVAL [10/2019 - 08/2020] 

    Result: 

    OK 

    See step  12

  12. REGISTER ECU COMMUNICATION ID 
    1. Register the ECU communication ID code.

      HINT: 

      Refer to Registration.

      Refer to REGISTRATION [11/2018 - 10/2019] , or refer to REGISTRATION [10/2019 - 08/2020]

      Result

      Proceed to
      NEXT

    Result: 

    NEXT 

    See step  13

  13. CHECK WHETHER ENGINE STARTS 
    1. Check that the engine starts.

      Result

      Result Proceed to
      Engine was started A
      Engine was not started B

    Result: 

    END (ECU COMMUNICATION ID HAS NOT BEEN REGISTERED) 

    Result: 

    REPLACE ECM. Refer to  REMOVAL [11/2018 - 08/2020] 

  14. CHECK ECM (TERMINAL IMO) 
    1. Disconnect the ECM connector.
      GTY926446Courtesy of © TOYOTA, LICENSE AGREEMENT TMS1002
      *a Front view of wire harness connector
      (to ECM)
    2. Measure the voltage according to the value(s) in the table below.

      Standard Voltage

      Tester Connection Switch Condition Specified Condition
      A24-25 (IMO) - Body ground Engine switch turned on (IG) using registered electrical key transmitter sub-assembly Terminal IMO stuck low (2.4 V or less)
      Terminal IMO stuck high (12 V)

      Result

      Result Proceed to
      Terminal IMO stuck low (2.4 V or less) A
      Terminal IMO stuck high (12 V) B

    Result: 

    REPLACE ECM. Refer to  REMOVAL [11/2018 - 08/2020] 

    Result: 

    See step  15

  15. CHECK HARNESS AND CONNECTOR (CERTIFICATION ECU (SMART KEY ECU ASSEMBLY) - ECM) 
    1. Disconnect the A15 certification ECU (smart key ECU assembly) connector.
    2. Measure the resistance according to the value(s) in the table below.

      Standard Resistance

      Tester Connection Condition Specified Condition
      A15-3 (EFII) - A24-25 (IMO) Always Below 1 Ω
      A15-3 (EFII) or A24-25 (IMO) - Other terminals and body ground Always 10 kΩ or higher

      Result

      Proceed to
      OK
      NG

    Result: 

    OK 

    REPLACE CERTIFICATION ECU (SMART KEY ECU ASSEMBLY). Refer to  REMOVAL [11/2018 - 02/2019]  , or refer to  REMOVAL [02/2019 - 10/2019]  , or refer to  REMOVAL [10/2019 - 08/2020] 

    Result: 

    NG 

    REPAIR OR REPLACE HARNESS OR CONNECTOR