LEMON Manuals: Even more car manuals for everyone: 1960-2025
Home >> Toyota >> 2020 >> RAV4 XLE, AWD >> Repair and Diagnosis >> External Pages >> Different variant/trim >> Section 102 (Dynamic Torque Vectoring AWD System - Diagnostics - Introduction) >> Dynamic Torque Vectoring AWD System >> System Diagram [11/2018 - ] >> System Diagram [11/2018 - ]
April 5, 2026: LEMON Manuals is launched! Read the announcement.

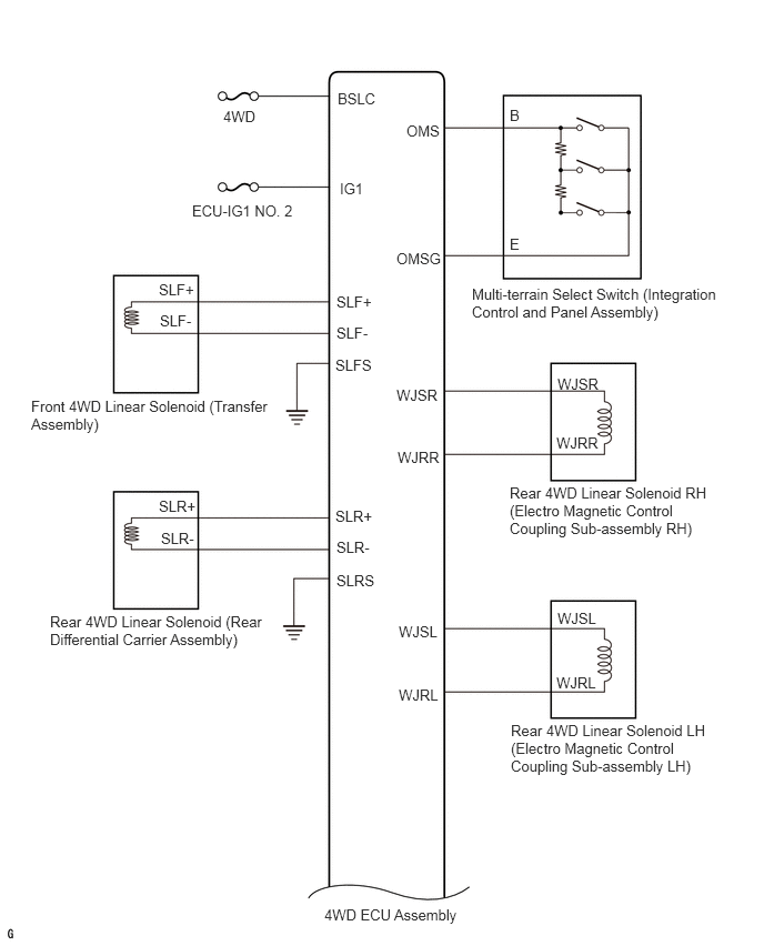
System Diagram [11/2018 - ]

WARNING: This page is about a different variant/trim than selected.
GTY891811Courtesy of © TOYOTA, LICENSE AGREEMENT TMS1002
GTY903413Courtesy of © TOYOTA, LICENSE AGREEMENT TMS1002
GTY1109425Courtesy of © TOYOTA, LICENSE AGREEMENT TMS1002