LEMON Manuals
: Even more car manuals for everyone: 1960-2025
Home
>>
Toyota
>>
2021
>>
4Runner TRD Pro
>>
Repair and Diagnosis
>>
Engine Performance
>>
Engine Control Systems
>>
Engine Control System - Service Information
>>
Mass Air Flow Meter
>>
Inspection [08/2015 - ]
>>
Procedure
April 5, 2026:
LEMON Manuals is launched!
Read the announcement.
Inspection [08/2015 - ]: Procedure
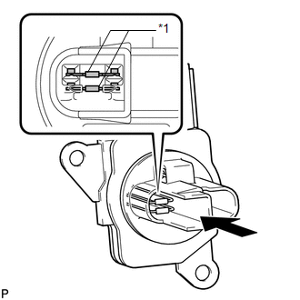
INSPECT MASS AIR FLOW METER
Perform a visual check for any foreign matter on the platinum hot wire (heater) of the mass air flow meter in the areas shown in the illustration.
Courtesy of © TOYOTA, LICENSE AGREEMENT TMS1002
OK
There is no foreign matter.
TEXT IN ILLUSTRATION
*1
Platinum Hot Wire (Heater)
If the result is not as specified, replace the mass air flow meter.