LEMON Manuals: Even more car manuals for everyone: 1960-2025
Home >> Toyota >> 2021 >> C-HR LE >> Repair and Diagnosis (Single Page) >> Restraints >> Air Bag, SRS >> Supplemental Restraint System - Diagnostic Codes (B1835-B1925) >> Airbag System >> DTC B1900: Short in Front P/T Squib RH Circuit; DTC B1901: Open in Front P/T Squib RH Circuit; DTC B1902: Short in Front P/T Squib RH Circuit (To Ground); DTC B1903: Short in Front P/T Squib RH Circuit (To B+) [09/2019 - ] >> Procedure
April 5, 2026: LEMON Manuals is launched! Read the announcement.

DTC B1900: Short in Front P/T Squib RH Circuit; DTC B1901: Open in Front P/T Squib RH Circuit; DTC B1902: Short in Front P/T Squib RH Circuit (To Ground); DTC B1903: Short in Front P/T Squib RH Circuit (To B+) [09/2019 - ]: Procedure

  1. CHECK CONNECTORS 
    1. Turn the ignition switch off.
      GTY425806Courtesy of © TOYOTA, LICENSE AGREEMENT TMS1002
      *1 Front Seat Outer Belt Assembly RH
      *2 Airbag Sensor Assembly
      *3 Floor Wire
    2. Disconnect the cable from the negative (-) battery terminal.
      WARNING:

      Wait at least 90 seconds after disconnecting the cable from the negative (-) battery terminal to disable the SRS system.

    3. Check that the connectors are properly connected to the front seat outer belt assembly RH and airbag sensor assembly.

      OK

      The connectors are properly connected.

      HINT: 

      If the connectors are not properly connected, reconnect the connectors and proceed to the next inspection.

    4. Disconnect the connectors from the front seat outer belt assembly RH and airbag sensor assembly.
    5. Check that the terminals of the connectors are not deformed or damaged.

      OK

      The terminals are not deformed or damaged.

    6. Check that the floor wire connector (on the front seat outer belt assembly RH side) is not loose, deformed or damaged.

      OK

      The connector locking button is not disengaged, and the claw of the lock is not deformed or damaged.

    7. Check that the short springs of the activation prevention mechanism of the floor wire connector are not deformed or damaged.

      OK

      The short springs are not deformed or damaged.

      Result

      Proceed to
      OK
      NG

    Result: 

    NG 

    REPLACE FLOOR WIRE 

    Result: 

    OK 

    See step  2

  2. CHECK FRONT SEAT OUTER BELT ASSEMBLY RH 
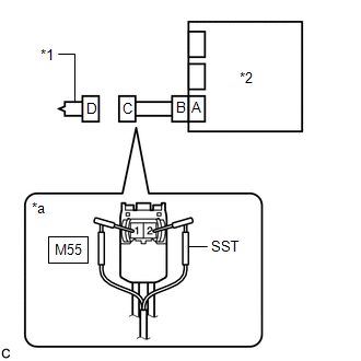
    1. Connect the connector to the airbag sensor assembly.
      GTY750553Courtesy of © TOYOTA, LICENSE AGREEMENT TMS1002
      *1 Front Seat Outer Belt Assembly RH
      *2 Airbag Sensor Assembly
      *a Front view of wire harness connector
      (to Front Seat Outer Belt Assembly RH)
    2. Connect SST (resistance 2.1 Ω) to connector C.
      WARNING:

      Never connect a tester to the front seat outer belt assembly RH for measurement, as this may lead to a serious injury due to pretensioner deployment.

      NOTE:
      • Do not forcibly insert SST into the terminals of the connector when connecting it.
      • Insert SST straight into the terminals of the connector.
      • SST: 09843-18061 
    3. Connect the cable to the negative (-) battery terminal.
    4. Clear the DTCs stored in memory.

      Refer to DTC CHECK / CLEAR [09/2019 - ]

      Body Electrical > SRS Airbag > Clear DTCs 

    5. Turn the ignition switch off.
    6. Turn the ignition switch to ON, and wait for at least 60 seconds.
    7. Check for DTCs.

      Refer to DTC CHECK / CLEAR [09/2019 - ]

      Body Electrical > SRS Airbag > Trouble Codes 

      OK

      DTC B1900, B1901, B1902 or B1903 is not output.

      HINT: 

      Codes other than DTCs B1900, B1901, B1902 and B1903 may be output at this time, but they are not related to this check.

    8. Turn the ignition switch off.
    9. Disconnect the cable from the negative (-) battery terminal.
      WARNING:

      Wait at least 90 seconds after disconnecting the cable from the negative (-) battery terminal to disable the SRS system.

    10. Disconnect SST from connector C.

      Result

      Proceed to
      OK
      NG

    Result: 

    OK 

    REPLACE FRONT SEAT OUTER BELT ASSEMBLY RH. Refer to  REMOVAL [10/2017 - 08/2020]  , or refer to  REMOVAL [08/2020 - 12/2021]  , or refer to  REMOVAL [12/2021 - ] 

    Result: 

    NG 

    See step  3

  3. CHECK FLOOR WIRE 
    1. Disconnect the floor wire from the airbag sensor assembly.
      GTY924657Courtesy of © TOYOTA, LICENSE AGREEMENT TMS1002
      *1 Front Seat Outer Belt Assembly RH
      *2 Airbag Sensor Assembly
      *3 Floor Wire
      *a Front view of wire harness connector
      (to Front Seat Outer Belt Assembly RH)
    2. Check for a short to B+ in the circuit.
      1. Connect the cable to the negative (-) battery terminal.
      2. Turn the ignition switch to ON.
      3. Measure the voltage according to the value(s) in the table below.

        Standard Voltage

        Tester Connection Switch Condition Specified Condition
        M55-1 (R+) - Body ground Ignition switch ON Below 1 V
        M55-2 (R-) - Body ground Ignition switch ON Below 1 V
      4. Turn the ignition switch off.
      5. Disconnect the cable from the negative (-) battery terminal.
        WARNING:

        Wait at least 90 seconds after disconnecting the cable from the negative (-) battery terminal to disable the SRS system.

    3. Check for an open in the circuit.
      1. Measure the resistance according to the value(s) in the table below.

        Standard Resistance

        Tester Connection Condition Specified Condition
        M55-1 (R+) - M55-2 (R-) Always Below 1 Ω
    4. Check for a short to ground in the circuit.
      1. Measure the resistance according to the value(s) in the table below.

        Standard Resistance

        Tester Connection Condition Specified Condition
        M55-1 (R+) - Body ground Always 1 MΩ or higher
        M55-2 (R-) - Body ground Always 1 MΩ or higher
    5. Check for a short in the circuit.
      1. Release the activation prevention mechanism built into connector B.

        Refer to DIAGNOSIS SYSTEM [09/2019 - ]

      2. Measure the resistance according to the value(s) in the table below.

        Standard Resistance

        Tester Connection Condition Specified Condition
        M55-1 (R+) - M55-2 (R-) Always 1 MΩ or higher
      3. Restore the released activation prevention mechanism of connector B to the original condition.

      Result

      Proceed to
      OK
      NG

    Result: 

    NG 

    REPLACE FLOOR WIRE 

    Result: 

    OK 

    See step  4

  4. CHECK DTC 
    1. Connect the connectors to the front seat outer belt assembly RH and airbag sensor assembly.
      GTY440123Courtesy of © TOYOTA, LICENSE AGREEMENT TMS1002
      *1 Front Seat Outer Belt Assembly RH
      *2 Airbag Sensor Assembly
    2. Connect the cable to the negative (-) battery terminal.
    3. Clear the DTCs stored in memory.

      Refer to DTC CHECK / CLEAR [09/2019 - ]

      Body Electrical > SRS Airbag > Clear DTCs 

    4. Turn the ignition switch off.
    5. Turn the ignition switch to ON, and wait for at least 60 seconds.
    6. Check for DTCs.

      Refer to DTC CHECK / CLEAR [09/2019 - ]

      Body Electrical > SRS Airbag > Trouble Codes 

      OK

      DTC B1900, B1901, B1902 or B1903 is not output.

      HINT: 

      Codes other than DTCs B1900, B1901, B1902 and B1903 may be output at this time, but they are not related to this check.

      Result

      Proceed to
      OK
      NG

    Result: 

    OK 

    USE SIMULATION METHOD TO CHECK. Refer to  HOW TO PROCEED WITH TROUBLESHOOTING [09/2019 - 08/2020]  , or refer to  HOW TO PROCEED WITH TROUBLESHOOTING [08/2020 - ] 

    Result: 

    NG 

    REPLACE AIRBAG SENSOR ASSEMBLY. Refer to  REMOVAL [09/2019 - 08/2020]  , or refer to  REMOVAL [08/2020 - ]