LEMON Manuals: Even more car manuals for everyone: 1960-2025
Home >> Toyota >> 2021 >> C-HR LE >> Repair and Diagnosis >> Engine Performance >> Remove, Overhaul & Install >> Engine Control System - Service Information >> Continuously Variable Valve Lift Controller >> Installation [10/2017 - 12/2021] >> Procedure
April 5, 2026: LEMON Manuals is launched! Read the announcement.

Installation [10/2017 - 12/2021]: Procedure

  1. INSTALL CONTINUOUSLY VARIABLE VALVE LIFT CONTROLLER ASSEMBLY 

    HINT: 

    Perform "Inspection After Repair" after replacing the continuously variable valve lift controller assembly.

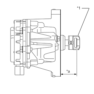
    1. Measure the protrusion length of the continuously variable valve lift controller assembly.
      GTY426881Courtesy of © TOYOTA, LICENSE AGREEMENT TMS1002
      *1 Valve Lift Control Actuator Connector
      *a Protrusion length

      Standard Protrusion Length

      34.57 to 34.73 mm (1.36 to 1.37 in.)

      HINT: 

      • When reinstalling the continuously variable valve lift controller assembly, perform the measurement after the valve lift control actuator connector is installed.
      • It is not necessary to perform this measurement when installing a new continuously variable valve lift controller assembly as the protrusion length is 34.57 to 34.73 mm (1.36 to 1.37 in.).
      • If the protrusion length of the continuously variable valve lift controller assembly is not 34.57 to 34.73 mm (1.36 to 1.37 in.), perform the Active Test and adjust the protrusion length to the specified value.

        Refer to ON-VEHICLE INSPECTION [02/2017 - ] 

    2. Install a new O-ring to the continuously variable valve lift controller assembly.
      GTY769481Courtesy of © TOYOTA, LICENSE AGREEMENT TMS1002
      *1 O-ring
      *a Protrusion
      NOTE:
      • Align the protrusion of the O-ring with the protrusion of the continuously variable valve lift controller assembly.
      • Make sure that the O-ring is not protruding from the groove in the continuously variable valve lift controller assembly.
    3. Rotate the crankshaft clockwise to retract the valve rocker shaft assembly.
      GTY425857Courtesy of © TOYOTA, LICENSE AGREEMENT TMS1002
    4. Rotate the crankshaft clockwise again until the intake camshaft position at the No. 1 cylinder and No. 3 cylinder are as shown in the illustration.
      GTY756423Courtesy of © TOYOTA, LICENSE AGREEMENT TMS1002
      *a No. 1 Cylinder
      *b No. 3 Cylinder
    5. Install the valve lift control actuator connector clip to the valve lift control actuator connector.
      GTY426424Courtesy of © TOYOTA, LICENSE AGREEMENT TMS1002
      NOTE:

      Be sure to insert the protrusions of the valve lift control actuator connector clip into the holes in the valve lift control actuator connector.

      HINT: 

      A new continuously variable valve lift controller assembly is supplied with the valve lift control actuator connector installed. Make sure to remove the valve lift control actuator connector before installation.

    6. Install the valve lift control actuator connector to the valve rocker shaft assembly.
      GTY447425Courtesy of © TOYOTA, LICENSE AGREEMENT TMS1002
    7. Insert the continuously variable valve lift controller assembly into the camshaft housing sub-assembly.
    8. Install the continuously variable valve lift controller assembly to the camshaft housing sub-assembly with the bolt.

      Torque: 18 N*m (184 kgf*cm, 13 ft.*lbf) 

      NOTE:
      • Make sure the O-ring is not caught between the parts.
      • If the continuously variable valve lift controller assembly has been struck or dropped, replace it.
    9. Install the wire harness clamp bracket to the camshaft housing sub-assembly with the 2 nuts.

      Torque: 18 N*m (184 kgf*cm, 13 ft.*lbf) 

    10. Using a screwdriver, slide the valve lift control actuator connector clip from the valve lift control actuator connector.
      NOTE:

      Slide only the upper part of the valve lift control actuator connector clip, as the straight pin will fall out from the bottom if the valve lift control actuator connector clip is completely removed.

    11. Using 2 screwdrivers, lightly pry the valve lift control actuator connector and align the hole in the valve lift control actuator connector with the hole in the continuously variable valve lift controller assembly.
      GTY705685Courtesy of © TOYOTA, LICENSE AGREEMENT TMS1002
      NOTE:
      • Do not forcibly pry the valve lift control actuator connector.
      • Do not damage the camshaft housing sub-assembly or camshaft bearing cap.
    12. Insert the straight pin into the valve lift control actuator connector.
      GTY771984Courtesy of © TOYOTA, LICENSE AGREEMENT TMS1002
      *1 Continuously Variable Valve Lift Controller Assembly
      *2 Valve Lift Control Actuator Connector
      *3 Valve Lift Control Actuator Connector Clip
      *4 Valve Rocker Shaft Assembly
      *5 Straight Pin
      NOTE:

      Do not use a tool to insert the straight pin. Insert the straight pin by hand.

      HINT: 

      If the straight pin is difficult to insert, insert the straight pin while lightly prying the valve lift control actuator connector.

    13. Using a screwdriver, install the valve lift control actuator connector clip to the valve lift control actuator connector.
      NOTE:

      Insert the protrusion of the valve lift control actuator connector clip into the hole in the valve lift control actuator connector.

  2. INSTALL CYLINDER HEAD COVER GASKET 

    Refer to PROCEDURE - STEP 39

  3. INSTALL CYLINDER HEAD COVER SUB-ASSEMBLY 

    Refer to PROCEDURE - STEP 40

  4. INSTALL PURGE VALVE (PURGE VSV) 
    1. Install the purge valve (purge VSV) to the cylinder head cover sub-assembly with the 2 bolts.
      GTY752308Courtesy of © TOYOTA, LICENSE AGREEMENT TMS1002
      *1 Fuel Vapor Feed Hose
      *2 No. 1 Fuel Vapor Feed Hose
      *a Bolt A

      Torque: 10 N*m (102 kgf*cm, 7 ft.*lbf) 

      NOTE:

      Make sure that there is no oil on the bolt A threads.

    2. Connect the fuel vapor feed hose to the purge valve (purge VSV) and slide the clip to secure it.
    3. Connect the No. 1 fuel vapor feed hose to the intake manifold.
  5. INSTALL IGNITION COIL ASSEMBLY 
    1. Install the 4 ignition coil assemblies to the cylinder head cover sub-assembly with the 4 bolts.

      Torque: 10 N*m (102 kgf*cm, 7 ft.*lbf) 

  6. CONNECT ENGINE WIRE (w/ Canister Pump Module) 
    1. Connect the engine wire with the 3 bolts and nut.
      GTY758836Courtesy of © TOYOTA, LICENSE AGREEMENT TMS1002
      *1 Bolt A *2 Nut
      *3 Bolt B - -

      Bolt A 

      Torque: 8.5 N*m (87 kgf*cm, 75 in.*lbf) 

      Bolt B, Nut 

      Torque: 8.0 N*m (82 kgf*cm, 71 in.*lbf) 

    2. Engage the 10 clamps and connect the 22 connectors.
  7. CONNECT ENGINE WIRE (w/o Canister Pump Module) 
    1. Connect the engine wire with the 3 bolts and nut.
      GTY761660Courtesy of © TOYOTA, LICENSE AGREEMENT TMS1002
      *1 Bolt A *2 Nut
      *3 Bolt B - -

      Bolt A 

      Torque: 8.5 N*m (87 kgf*cm, 75 in.*lbf) 

      Bolt B, Nut 

      Torque: 8.0 N*m (82 kgf*cm, 71 in.*lbf) 

    2. Engage the 10 clamps and connect the 21 connectors.
  8. INSTALL AIR CLEANER CAP WITH AIR CLEANER HOSE 

    See step  3

  9. INSTALL BATTERY 

    Refer to INSTALLATION [02/2017 - 08/2020] , or refer to INSTALLATION [08/2020 - ]

  10. INSPECT FOR OIL LEAK 

    Refer to PROCEDURE - STEP 6

  11. INSTALL NO. 2 CYLINDER HEAD COVER 

    See step  4

  12. PERFORM INITIALIZATION 
    1. Perform "Inspection After Repair" after replacing the continuously variable valve lift controller assembly.