LEMON Manuals: Even more car manuals for everyone: 1960-2025
Home >> Toyota >> 2021 >> Corolla LE >> Repair and Diagnosis (Single Page) >> Accessories & Equipment >> Infotainment >> Navigation System (2019-Early 2023) - Diagnostic Codes (1 Of 2) >> Navigation System >> DTC B1543: Extension Module Disconnected 2 [01/2019 - 03/2019] >> Procedure
April 5, 2026: LEMON Manuals is launched! Read the announcement.

DTC B1543: Extension Module Disconnected 2 [01/2019 - 03/2019]: Procedure

  1. CHECK MAP SCREEN 
    1. Turn the engine switch on (ACC) and wait for 90 seconds.
    2. Press the "MAP" switch and check that the map screen is displayed normally.

      Result

      Result Proceed to
      Map screen is displayed normally A
      Map screen is not displayed normally B

      HINT: 

      • This DTC may be stored due to environmental reasons such as electrical noise or interference.
      • Clear past DTCs when the map screen is displayed normally. (Codes stored due to past environmental factors)

    Result: 

    USE SIMULATION METHOD TO CHECK. Refer to  HOW TO PROCEED WITH TROUBLESHOOTING [06/2018 - ] 

    Result: 

    See step  2

  2. CHECK DTC 
    1. Clear the DTCs.

      Body Electrical > Navigation System > Clear DTCs 

    2. Turn the engine switch off.
    3. Turn the engine switch on (IG) and wait for 90 seconds.
    4. Recheck for DTCs and check that no DTCs are output.

      Body Electrical > Navigation System > Trouble Codes 

      OK

      No DTCs are output.

      Result

      Result Proceed to
      OK A
      NG (w/ Manual (SOS) Switch) B
      NG (w/o Manual (SOS) Switch) C

    Result: 

    USE SIMULATION METHOD TO CHECK. Refer to  HOW TO PROCEED WITH TROUBLESHOOTING [06/2018 - ] 

    Result: 

    See step  7

    Result: 

    See step  3

  3. CHECK HARNESS AND CONNECTOR (NAVIGATION ECU - BATTERY AND BODY GROUND) 
    1. Disconnect the I69 navigation ECU connector.
      GTY865263Courtesy of © TOYOTA, LICENSE AGREEMENT TMS1002
      *a Front view of wire harness connector
      (to Navigation ECU)
    2. Measure the resistance according to the value(s) in the table below.

      Standard Resistance

      Tester Connection Condition Specified Condition
      I69-23 (GND) - Body ground Always Below 1 Ω
    3. Measure the voltage according to the value(s) in the table below.

      Standard Voltage

      Tester Connection Condition Specified Condition
      I69-10 (+B) - Body ground Always 11 to 14 V

      Result

      Proceed to
      OK
      NG

    Result: 

    NG 

    REPAIR OR REPLACE HARNESS OR CONNECTOR 

    Result: 

    OK 

    See step  4

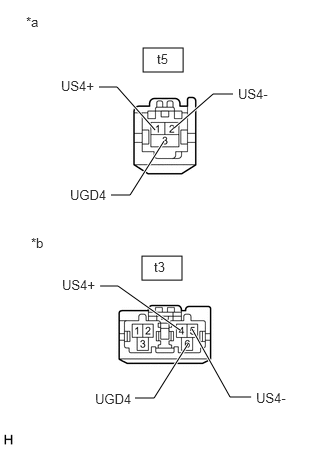
  4. CHECK HARNESS AND CONNECTOR (RADIO AND DISPLAY RECEIVER ASSEMBLY - NAVIGATION ECU) 
    1. Disconnect the t3 navigation ECU connector.
      GTY852181Courtesy of © TOYOTA, LICENSE AGREEMENT TMS1002
      *a Front view of wire harness connector
      (to Radio and Display Receiver Assembly)
      *b Front view of wire harness connector
      (to Navigation ECU)
    2. Disconnect the t5 radio and display receiver assembly connector.
    3. Measure the resistance according to the value(s) in the table below.

      Standard Resistance

      Tester Connection Condition Specified Condition
      t3-4 (US4+) - t5-1 (US4+) Always Below 1 Ω
      t3-5 (US4-) - t5-2 (US4-) Always Below 1 Ω
      t3-6 (UGD4) - t5-3 (UGD4) Always Below 1 Ω

      Result

      Proceed to
      OK
      NG

    Result: 

    NG 

    REPAIR OR REPLACE HARNESS OR CONNECTOR 

    Result: 

    OK 

    See step  5

  5. REPLACE NAVIGATION ECU 
    1. Replace the navigation ECU with a new one.

      Refer to REMOVAL [06/2018 - 03/2019]

      Result

      Proceed to
      NEXT

    Result: 

    NEXT 

    See step  6

  6. CHECK DTC 
    1. Clear the DTCs.

      Body Electrical > Navigation System > Clear DTCs 

    2. Turn the engine switch off.
    3. Turn the engine switch on (IG) and wait for 90 seconds.
    4. Recheck for DTCs and check that no DTCs are output.

      Body Electrical > Navigation System > Trouble Codes 

      OK

      No DTCs are output.

      Result

      Proceed to
      OK
      NG

    Result: 

    OK 

    END (NAVIGATION ECU IS DEFECTIVE) 

    Result: 

    NG 

    REPLACE RADIO AND DISPLAY RECEIVER ASSEMBLY. Refer to  REMOVAL [01/2019 - 03/2019] 

  7. CHECK HARNESS AND CONNECTOR (NAVIGATION ECU - BATTERY AND BODY GROUND) 
    1. Disconnect the I69 navigation ECU connector.
      GTY865263Courtesy of © TOYOTA, LICENSE AGREEMENT TMS1002
      *a Front view of wire harness connector
      (to Navigation ECU)
    2. Measure the resistance according to the value(s) in the table below.

      Standard Resistance

      Tester Connection Condition Specified Condition
      I69-23 (GND) - Body ground Always Below 1 Ω
    3. Measure the voltage according to the value(s) in the table below.

      Standard Voltage

      Tester Connection Condition Specified Condition
      I69-10 (+B) - Body ground Always 11 to 14 V

      Result

      Proceed to
      OK
      NG

    Result: 

    NG 

    REPAIR OR REPLACE HARNESS OR CONNECTOR 

    Result: 

    OK 

    See step  8

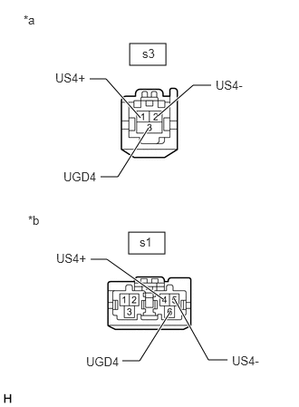
  8. CHECK HARNESS AND CONNECTOR (RADIO AND DISPLAY RECEIVER ASSEMBLY - NAVIGATION ECU) 
    1. Disconnect the s1 navigation ECU connector.
      GTY851108Courtesy of © TOYOTA, LICENSE AGREEMENT TMS1002
      *a Front view of wire harness connector
      (to Radio and Display Receiver Assembly)
      *b Front view of wire harness connector
      (to Navigation ECU)
    2. Disconnect the s3 radio and display receiver assembly connector.
    3. Measure the resistance according to the value(s) in the table below.

      Standard Resistance

      Tester Connection Condition Specified Condition
      s1-4 (US4+) - s3-1 (US4+) Always Below 1 Ω
      s1-5 (US4-) - s3-2 (US4-) Always Below 1 Ω
      s1-6 (UGD4) - s3-3 (UGD4) Always Below 1 Ω

      Result

      Proceed to
      OK
      NG

    Result: 

    NG 

    REPAIR OR REPLACE HARNESS OR CONNECTOR 

    Result: 

    OK 

    See step  9

  9. REPLACE NAVIGATION ECU 
    1. Replace the navigation ECU with a new one.

      Refer to REMOVAL [06/2018 - 03/2019]

      Result

      Proceed to
      NEXT

    Result: 

    NEXT 

    See step  10

  10. CHECK DTC 
    1. Clear the DTCs.

      Body Electrical > Navigation System > Clear DTCs 

    2. Turn the engine switch off.
    3. Turn the engine switch on (IG) and wait for 90 seconds.
    4. Recheck for DTCs and check that no DTCs are output.

      Body Electrical > Navigation System > Trouble Codes 

      OK

      No DTCs are output.

      Result

      Proceed to
      OK
      NG

    Result: 

    OK 

    END (NAVIGATION ECU IS DEFECTIVE) 

    Result: 

    NG 

    REPLACE RADIO AND DISPLAY RECEIVER ASSEMBLY. Refer to  REMOVAL [01/2019 - 03/2019]