LEMON Manuals: Even more car manuals for everyone: 1960-2025
Home >> Toyota >> 2021 >> Corolla LE >> Repair and Diagnosis >> External Pages >> Different car >> Section 159 (Transmitter Battery (W/ Smart Key) (Service Information) (Model Code: ZRE172)) >> TRANSMITTER BATTERY (w/ Smart Key System) >> Replacement [08/2013 - ] >> Procedure
April 5, 2026: LEMON Manuals is launched! Read the announcement.

Replacement [08/2013 - ]: Procedure

WARNING: This page is about a different car, the 2018 Toyota Corolla, 2017 Toyota Corolla, 2016 Toyota Corolla, 2015 Toyota Corolla, and 2014 Toyota Corolla. However, it is still accessible from the selected car via links, so may be relevant.
  1. REMOVE TRANSMITTER BATTERY 
    NOTE:

    Take extra care when handling these precision electronic components.

    1. Push the release hook knob and remove the mechanical key.
      GTY425522Courtesy of © TOYOTA, LICENSE AGREEMENT TMS1002
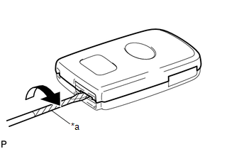
    2. Insert a precision screwdriver into the gap, and turn the screwdriver to remove the transmitter housing cover.
      GTY428399Courtesy of © TOYOTA, LICENSE AGREEMENT TMS1002
      *a Protective Tape

      HINT: 

      Tape the screwdriver tip before use.

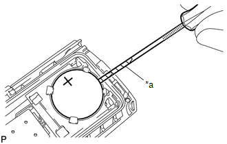
    3. Insert a precision screwdriver into the gap and gently remove the transmitter battery (lithium battery: CR2032).
      GTY450181Courtesy of © TOYOTA, LICENSE AGREEMENT TMS1002
      *a Protective Tape
      NOTE:
      • Do not push the terminals with your finger.
      • Do not forcibly pry up the transmitter battery as the terminals may be damaged.
      • Do not touch the transmitter battery with wet hands. Moisture may cause rust.
      • Do not touch or move any components inside the transmitter. It may interfere with proper operation.
      • When replacing the transmitter battery, before starting work, remove static electricity that has built up in the body by touching, for example, the vehicle to prevent the electrical transmitter from being damaged.

      HINT: 

      Tape the screwdriver tip before use.

  2. INSTALL TRANSMITTER BATTERY 
    1. Install a new transmitter battery (lithium battery: CR2032) with the positive (+) side facing upward, as shown in the illustration.
      GTY318182Courtesy of © TOYOTA, LICENSE AGREEMENT TMS1002
      NOTE:
      • Do not bend the transmitter battery electrode during installation.
      • Keep the inside of the transmitter housing cover free of dust and oil.
      • When replacing the transmitter battery, before starting work, remove static electricity that has built up in the body by touching, for example, the vehicle to prevent the electrical transmitter from being damaged.
    2. Install the transmitter housing cover by pressing down on it as shown in the illustration.
      GTY318248Courtesy of © TOYOTA, LICENSE AGREEMENT TMS1002
    3. Insert the mechanical key into the transmitter.
      GTY315011Courtesy of © TOYOTA, LICENSE AGREEMENT TMS1002
    4. Press one of the transmitter switches and check that the LED illuminates.

      OK

      Transmitter LED illuminates when a switch is pressed.