LEMON Manuals: Even more car manuals for everyone: 1960-2025
Home >> Toyota >> 2021 >> Land Cruiser Base >> Repair and Diagnosis >> Body & Frame >> Door Locks >> Smart Key System (Keyless Start) - Diagnostics - Introduction >> SMART KEY SYSTEM (for Start Function) >> Operation Check [08/2017 - ] >> Operation Check [08/2017 - ]
April 5, 2026: LEMON Manuals is launched! Read the announcement.

Operation Check [08/2017 - ]

  1. OPERATION DESCRIPTION 
    NOTE:

    Make sure that the smart key system (for Start Function) has not been canceled before performing this inspection.

    1. Push-button start function:
      1. When the electrical key transmitter sub-assembly is in a detection area inside the vehicle and the brake pedal is depressed, the engine is started by pressing the engine switch.
      2. When the electrical key transmitter sub-assembly is in a detection area inside the vehicle and the brake pedal is not depressed, the power source mode is changed by pressing the engine switch. The power source mode changes in the following order every time the engine switch is pressed: off → on (ACC) → on (IG) → off.
      3. After getting into the vehicle while carrying the electrical key transmitter sub-assembly when the engine switch is off, if the engine switch is pressed while not depressing the brake pedal, the power source mode changes to on (ACC).
        Fig 1: Identifying Accessory Mode
        GTY544018Courtesy of © TOYOTA, LICENSE AGREEMENT TMS1002
        TEXT IN ILLUSTRATION

        *a "ACCESSORY" Display
      4. After getting into the vehicle while carrying the electrical key transmitter sub-assembly when the engine switch is off, if the engine switch is pressed 2 times without depressing the brake pedal, the power source mode changes to on (IG).
        Fig 2: Identifying Ignition On Mode
        GTY589166Courtesy of © TOYOTA, LICENSE AGREEMENT TMS1002
        TEXT IN ILLUSTRATION

        *a "IGNITION ON" Display
      5. After getting into the vehicle while carrying the electrical key transmitter sub-assembly when the engine switch is off, if the brake pedal is depressed while the shift lever is in P or N, the key warning light is displayed.
      6. The engine starts if the engine switch is pressed when the key warning light is displayed.
        Fig 3: Identifying Depress Brake Pedal Then Start Engine
        GTY545267Courtesy of © TOYOTA, LICENSE AGREEMENT TMS1002
        TEXT IN ILLUSTRATION

        *a Key Warning Light Display
    2. Changing the power source mode when the electrical key transmitter sub-assembly does not operate correctly due to wave interference or transmitter battery depletion:
      1. Unlock the door using the built-in mechanical key and get into the vehicle while carrying the electrical key transmitter sub-assembly.
      2. While depressing the brake pedal, and facing the logo side of the electrical key transmitter sub-assembly towards the engine switch, hold the key near the engine switch.
      3. A buzzer in the combination meter assembly sounds and the power source mode changes to on (IG).
        Fig 4: Identifying Ignition On Mode
        GTY589166Courtesy of © TOYOTA, LICENSE AGREEMENT TMS1002
        TEXT IN ILLUSTRATION

        *a "IGNITION ON" Display
      4. Pressing the engine switch without depressing the brake pedal turns the power source mode from on (IG) to off.
    3. Starting the engine when the electrical key transmitter sub-assembly does not operate correctly due to wave interference or transmitter battery depletion:
      1. Unlock the door using the built-in mechanical key and get into the vehicle while carrying the electrical key transmitter sub-assembly.
      2. While depressing the brake pedal with the shift lever in P, while facing the logo side of the electrical key transmitter sub-assembly towards the engine switch, hold the key near the engine switch.
      3. A buzzer in the combination meter assembly sounds, the power source mode changes to on (IG) and the key warning light is displayed.
        Fig 5: Identifying Depress Brake Pedal Then Start Engine
        GTY545267Courtesy of © TOYOTA, LICENSE AGREEMENT TMS1002
        TEXT IN ILLUSTRATION

        *a Key Warning Light Display
      4. Press the engine switch with the brake pedal depressed to start the engine.
  2. CHECK PUSH-BUTTON START FUNCTION 
    1. Check the push-button start function:
      1. Get into the vehicle while carrying the electrical key transmitter sub-assembly with the engine switch off. With the shift lever in P, check the key warning light is displayed when the brake pedal is depressed. Then check that the engine starts when the engine switch is pressed after the key warning light is displayed.
        Fig 6: Identifying Depress Brake Pedal Then Start Engine
        GTY545267Courtesy of © TOYOTA, LICENSE AGREEMENT TMS1002
        TEXT IN ILLUSTRATION

        *a Key Warning Light Display
      2. While the brake pedal is released and the electrical key transmitter sub-assembly is being carried, check that the power source mode changes in the following order when the engine switch is pressed: off → on (ACC) → on (IG) → off.

        HINT: 

        When the engine switch is pressed with the engine switch on (IG) and the shift lever not in P, the power source mode does not change to off, but changes to on (ACC).

      3. With the shift lever in P, check that the steering lock operates when a door is opened.

        HINT: 

        When the engine switch is pressed after the vehicle is stopped, the engine stops and all the power turns off. However, if the shift lever is not in P when the engine switch is pressed with the vehicle stopped, the power source mode does not change to off, but changes to on (ACC).

      4. Check the push-button start function operation range for the front side. Place the electrical key transmitter sub-assembly at either inspection point so that it is facing the direction shown in the illustration, and then check that the engine can be started.
        GTY772552Courtesy of © TOYOTA, LICENSE AGREEMENT TMS1002
        *a Inspection Point

        HINT: 

        Even if the electrical key transmitter sub-assembly is in a vehicle interior key detection area, the electrical key transmitter sub-assembly may not be properly detected if the electrical key transmitter sub-assembly is on the instrument panel, in the glove box or on the floor.

        HINT: 

        • Communication may not be possible if the electrical key transmitter sub-assembly is within 0.2 m (0.656 ft.) of the shift lever.
        • Perform this inspection for both inspection points.
      5. Check the push-button start function operation range for the rear side. Place the electrical key transmitter sub-assembly at either inspection point so that it is facing the direction shown in the illustration, and then check that the engine can be started.
        GTY760767Courtesy of © TOYOTA, LICENSE AGREEMENT TMS1002
        *a Inspection Point

        HINT: 

        Even if the electrical key transmitter sub-assembly is in a vehicle interior key detection area, the electrical key transmitter sub-assembly may not be properly detected if the electrical key transmitter sub-assembly is on the instrument panel, in the glove box or on the floor.

        HINT: 

        • Communication may not be possible if the electrical key transmitter sub-assembly is within 0.2 m (0.656 ft.) of the center of the rear seat.
        • Perform this inspection for both inspection points.
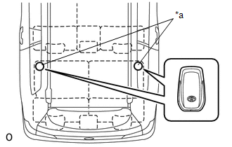
      6. Check the push-button start function operation range for the luggage side. Place the electrical key transmitter sub-assembly at either inspection point so that it is facing the direction shown in the illustration, and then check that the engine can be started.
        GTY764444Courtesy of © TOYOTA, LICENSE AGREEMENT TMS1002
        *a Inspection Point

        HINT: 

        Even if the electrical key transmitter sub-assembly is in a vehicle interior key detection area, the electrical key transmitter sub-assembly may not be properly detected if the electrical key transmitter sub-assembly is on the instrument panel, in the glove box or on the floor.

        HINT: 

        • Communication may not be possible if the electrical key transmitter sub-assembly is within 0.2 m (0.656 ft.) of the center of the rear seat.
        • Perform this inspection for both inspection points.
  3. CHECK TRANSMITTER BATTERY SAVING FUNCTION 
    1. Check the transmitter battery saving function:
      1. Press the unlock switch of the electrical key transmitter sub-assembly twice while pressing the lock switch and check that the electrical key transmitter sub-assembly LED blinks 4 times and enters transmitter battery saving mode.
      2. Check that the smart key system does not operate while in transmitter battery saving mode.

        HINT: 

        To cancel transmitter battery saving mode, press a button of the electrical key transmitter sub-assembly.

  4. CHECK POWER SOURCE MODE CHANGING FUNCTION 
    1. Check the engine switch.
      1. Check that the power source mode changes according to the chart below.
        Shift Position Brake Pedal Power Source Mode when Engine Switch Pressed
        P Released Off → on (ACC) → on (IG) → off
        P Released Engine running → off
        P Released On (ACC)* → off
        P Depressed Off → engine starts
        P Depressed On (ACC) → engine starts
        P Depressed On (IG) → engine starts
        P Depressed Engine running → off
        P Depressed On (ACC)* → off
        N Released Off → on (ACC) → on (IG) (after power source mode changes to on (IG), power source mode changes between on (IG) and on (ACC) every time engine switch is pressed)
        N Released Engine running → on (ACC)
        N Depressed Off → engine starts
        N Depressed On (ACC) → engine starts
        N Depressed On (IG) → engine starts
        N Depressed Engine running → on (ACC)
        Not P or N Released Off → on (ACC) → on (IG) (after power source mode changes to on (IG), power source mode changes between on (IG) and on (ACC) every time engine switch is pressed)
        Not P or N Released Engine running → on (ACC)
        Not P or N Depressed Off → on (IG)
        Not P or N Depressed On (ACC) → on (IG)
        Not P or N Depressed Engine running → on (ACC)

        HINT: 

        *: This situation is only applicable when the power source mode has changed from on (IG) to on (ACC). However, this situation is not applicable when an emergency stop is performed by pressing and holding the engine switch for 2 seconds or more or by quickly pressing the engine switch 3 times or more.

  5. CHECK POWER SOURCE MODE INDICATION 
    1. Check the key warning.
      Fig 7: Checking Key Warning
      GTY576006Courtesy of © TOYOTA, LICENSE AGREEMENT TMS1002
      TEXT IN ILLUSTRATION

      *a "ACCESSORY" Display
      *b "IGNITION ON" Display
      *c Key Warning Light Display
      MULTI-INFORMATION DISPLAY INSPECTION

      Power Source Mode Multi-information Display
      Off
      (Excluding condition in which the engine can be started)
      Off
      On (ACC)
      (Excluding condition in which the engine can be started)
      "ACCESSORY" display
      On (IG)
      (Excluding condition in which the engine can be started)
      "IGNITION ON" display
      Condition in which engine can be started*1 Key warning light display
      Engine started Off

      HINT: 

      *1: Indicates the condition in which the engine can be started by pressing the engine switch while either of the following conditions is met:

      • Condition 1

        All of the following conditions are met:

        • The power source mode was turned from on (IG) to on (ACC).
        • Key verification is OK*2 or immobiliser is unset (engine switch is on (ACC) or on (IG)).
        • The shift lever is in N and the steering is unlocked.
        • The stop light switch is on.
      • Condition 2

        All of the following conditions are met:

        • The power source mode was not turned from on (IG) to on (ACC).
        • Key verification is OK*2 or immobiliser is unset (engine switch is on (ACC) or on (IG)).
        • The stop light switch is on.
        • The shift lever is in P, or the shift lever is in N with the steering unlocked.

      *2: When the electrical key transmitter sub-assembly is in the cabin, the ID code sent as a result of communication between the electrical key transmitter sub-assembly and certification ECU (smart key ECU assembly) and the ID code calculated by the certification ECU (smart key ECU assembly) are compared. If the ID codes match each other, the vehicle recognizes that the electrical key transmitter sub-assembly is in the cabin.