LEMON Manuals: Even more car manuals for everyone: 1960-2025
Home >> Toyota >> 2021 >> Prius XLE >> Repair and Diagnosis >> External Pages >> Different variant/trim >> Section 20 (Rear Motor Generator Control System - Diagnostics - Introduction) >> Rear Motor Generator Control System >> Diagnosis System [12/2018 - ] >> Diagnosis System [12/2018 - ]
April 5, 2026: LEMON Manuals is launched! Read the announcement.

Diagnosis System [12/2018 - ]

WARNING: This page is about a different variant/trim than selected.
  1. DESCRIPTION 

    The rear motor generator control ECU (MGR ECU) (hybrid motor control inverter assembly rear) has a self-diagnosis system. If the rear motor generator control ECU (MGR ECU), rear motor generator system or a component is not working properly, the ECU records the conditions that relate to the fault. The ECU also provides other appropriate messages on the multi-information display, such as the HV system warning message, HV battery warning message or discharge warning message.

  2. 2 TRIP DETECTION LOGIC 

    Following is the description for storage of DTC using "2 trip detection logic". 

    1. When a malfunction is first detected, the malfunction is temporarily stored in the motor generator control ECU memory (1st trip). If the same malfunction is detected during the next drive cycle, the MIL is illuminated (2nd trip).
  3. FREEZE FRAME DATA 
    1. The motor generator control ECU records vehicle and driving condition information as freeze frame data the moment a DTC is stored. When troubleshooting, freeze frame data can be helpful in determining whether the vehicle was moving or stationary, whether the engine was warmed up or not, as well as other data recorded at the time of a malfunction.
  4. AUXILIARY BATTERY VOLTAGE 

    Standard Voltage

    Switch Condition Specified Condition
    Power switch on (IG) 11 to 14 V
    1. If voltage is below 11 V, recharge or replace the auxiliary battery.
      NOTE:

      After turning the power switch off, waiting time may be required before disconnecting the cable from the negative (-) auxiliary battery terminal. Therefore, make sure to read the disconnecting the cable from the negative (-) auxiliary battery terminal notices before proceeding with work.

      Refer to PRECAUTION [12/2018 - 08/2019] , or refer to PRECAUTION [08/2019 - ]

  5. MIL (Malfunction Indicator Lamp) 
    1. The MIL is illuminated when the power switch is first turned on (IG), before the READY indicator illuminates.
    2. When the READY indicator illuminates, the MIL should turn off. If the MIL remains illuminated, the diagnosis system has detected a malfunction or abnormality in a system.

      HINT: 

      If the MIL is not illuminated when the power switch is first turned on (IG), check the MIL circuit.

      for SFI System: Refer to MIL Circuit [11/2015 - ]

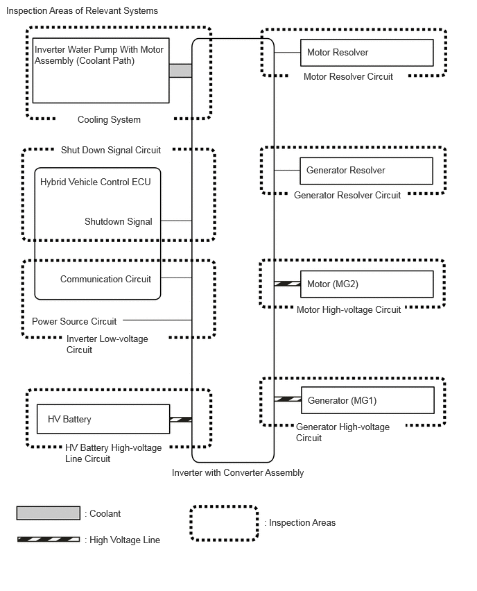
  6. RELEVANT SYSTEMS CHECK 

    The inspection areas and outline of the inspection for each circuit are listed below.

    GTY609607Courtesy of © TOYOTA, LICENSE AGREEMENT TMS1002
    GTY822561Courtesy of © TOYOTA, LICENSE AGREEMENT TMS1002
    INSPECTION DETAILS OF RELEVANT SYSTEMS

    System to be Inspected Malfunction Possibility Inspection Content
    Motor Resolver Circuit Motor resolver signal
    1. Open or short circuit in the motor resolver, connectors or cables
    Motor High-voltage Circuit Motor (MG2) output
    1. Open or short circuit in the motor (MG2), connectors or cables
    Generator Resolver Circuit Generator resolver signal
    1. Open or short circuit in the generator resolver, connectors or cables
    Generator High-voltage Circuit Generator (MG1) output
    1. Open or short circuit in the generator (MG1), connectors or cables
    Rear Motor Resolver Circuit Rear motor resolver signal Open or short circuit in the rear motor resolver, connectors or cables
    Rear Motor High-voltage Circuit Rear motor (MGR) output Open or short circuit in the rear motor (MGR), connectors or cables
    Inverter Low-voltage Circuit Power supply voltage from +B or communication between hybrid vehicle control ECU and motor generator control ECU
    • Open or short circuit in communication line between hybrid vehicle control ECU and motor generator control ECU
    • Open or short circuit in the +B or ground lines
    • Fuse is blown
    Rear Inverter Low-voltage Circuit Power supply voltage from +B or communication between motor generator control ECU and Rear motor generator control ECU
    • Open or short circuit in communication line between motor generator control ECU and Rear motor generator control ECU
    • Open or short circuit in the +B or ground lines
    • Fuse is blown
    HV Battery High-voltage Line Circuit High voltage power supply from HV battery
    1. Open or short circuit in the system main relay, connectors or cables
    Cooling System Temperature abnormally high
    • Grille blockage
    • Whether coolant is present
    • Whether there is a possibility that coolant was frozen when malfunction occurs
    • Cooling hose blockage
    • HV radiator fan operation
    Rear Cooling System Temperature abnormally high
    • Inverter cooling fan blockage or clog
    • Inverter cooling fan operation
    • Cooling fin blockage or clog
    Shutdown Signal Circuit Shutdown signal
    1. Open or short circuit in shutdown signal communication line between hybrid vehicle control ECU and motor generator ECU
    Rear Shutdown Signal Circuit Rear Shutdown Signal Open or short circuit in shutdown signal communication line between motor generator control ECU and Rear motor generator control ECU
  7. DTC PRIORITY LEVEL AND TROUBLE AREAS 
    • Each DTC diagnostic procedure for the hybrid control system consists of a combination of the various relevant system (circuit) inspections.
    • When multiple DTCs are output, performing each diagnostic procedure in order of priority can lead to a more accurate diagnosis.
    GTY778792Courtesy of © TOYOTA, LICENSE AGREEMENT TMS1002
    INSPECTION DETAILS OF RELEVANT SYSTEMS

    DTC No. Detection Item 1 2 3 4 5 Inspection Pattern
    Microcomputer Malfunction Power Source Circuit Malfunction Communication System Malfunction Sensor and Actuator Circuit Malfunction System Malfunction
    P06B3-1C Drive Motor "B" Control Module Position Sensor REF Power Source Circuit Voltage Out of Range - - - - -
    P0A1C-1F Drive Motor "B" Control Module Circuit Intermittent - - - - -
    P0A45-16 Drive Motor "B" Position Sensor Circuit Voltage Below Threshold - - - - F
    P0A45-1F Drive Motor "B" Position Sensor Circuit Intermittent - - - - F
    P0A45-21 Drive Motor "B" Position Sensor Signal Amplitude < Minimum - - - - F
    P0A45-22 Drive Motor "B" Position Sensor Signal Amplitude > Maximum - - - - F
    P0A69-12 Drive Motor "B" Phase V Current (High Resolution) Circuit Short to Battery - - - - A
    P0A69-14 Drive Motor "B" Phase V Current (High Resolution) Circuit Short to Ground or Open - - - - A
    P0A69-1C Drive Motor "B" Phase V Current (High Resolution) Circuit Voltage Out of Range - - - - A
    P0A69-1F Drive Motor "B" Phase V Current (High Resolution) Circuit Intermittent - - - - A
    P0A6C-12 Drive Motor "B" Phase W Current (High Resolution) Circuit Short to Battery - - - - A
    P0A6C-14 Drive Motor "B" Phase W Current (High Resolution) Circuit Short to Ground or Open - - - - A
    P0A6C-1C Drive Motor "B" Phase W Current (High Resolution) Circuit Voltage Out of Range - - - - A
    P0A6C-1F Drive Motor "B" Phase W Current (High Resolution) Circuit Intermittent - - - - A
    P0A79-9E Drive Motor "B" Inverter Stuck On - - - - S
    P0AF2-11 Drive Motor Inverter Temperature Sensor "B" Circuit Short to Ground - - - - -
    P0AF2-15 Drive Motor Inverter Temperature Sensor "B" Circuit Short to Battery or Open - - - - -
    P0AF2-1F Drive Motor Inverter Temperature Sensor "B" Circuit Intermittent - - - - A
    P0BD1-11 Drive Motor Inverter Temperature Sensor "C" Circuit Circuit Short to Ground - - - - -
    P0BD1-15 Drive Motor Inverter Temperature Sensor "C" Circuit Circuit Short to Battery or Open - - - - -
    P0BD1-1F Drive Motor Inverter Temperature Sensor "C" Circuit Circuit Intermittent - - - - A
    P0BF5-12 Drive Motor "B" Phase V Current Sensor Circuit Short to Battery - - - - A
    P0BF5-14 Drive Motor "B" Phase V Current Sensor Circuit Short to Ground or Open - - - - A
    P0BF5-1F Drive Motor "B" Phase V Current Sensor Circuit Intermittent - - - - A
    P0BF5-28 Drive Motor "B" Phase V Current Sensor Signal Bias Level Out of Range / Zero Adjustment Failure - - - - A
    P0BF9-12 Drive Motor "B" Phase W Current Sensor Circuit Short to Battery - - - - A
    P0BF9-14 Drive Motor "B" Phase W Current Sensor Circuit Short to Ground or Open - - - - A
    P0BF9-1F Drive Motor "B" Phase W Current Sensor Circuit Intermittent - - - - A
    P0BF9-28 Drive Motor "B" Phase W Current Sensor Signal Bias Level Out of Range / Zero Adjustment Failure - - - - A
    P0C02-1D Drive Motor "B" System Circuit Current Out of Range - - - - T
    P0C1A-00 Drive Motor "B" Excution Torque Performance - - - - T
    P0C31-00 Drive Motor Inverter Temperature Sensor "C" Circuit - - - - U
    P0C55-13 Drive Motor "B" Position Sensor Circuit "A" Circuit Open - - - - N
    P0C55-16 Drive Motor "B" Position Sensor Circuit "A" Circuit Voltage Below Threshold - - - - A
    P0C55-17 Drive Motor "B" Position Sensor Circuit "A" Circuit Voltage Above Threshold - - - - A
    P0C55-1F Drive Motor "B" Position Sensor Circuit "A" Circuit Intermittent - - - - A
    P0C5F-13 Drive Motor "B" Position Sensor Circuit "B" Circuit Open - - - - N
    P0C5F-16 Drive Motor "B" Position Sensor Circuit "B" Circuit Voltage Below Threshold - - - - A
    P0C5F-17 Drive Motor "B" Position Sensor Circuit "B" Circuit Voltage Above Threshold - - - - A
    P0C5F-1F Drive Motor "B" Position Sensor Circuit "B" Circuit Intermittent - - - - A
    P0C7A-17 Drive Motor "B" Inverter Voltage Sensor "A" Circuit Voltage Above Threshold - - - - V
    P0DA3-16 Drive Motor "B" Inverter Voltage Sensor "A" Circuit Voltage Below Threshold - - - - -
    P0DA3-17 Drive Motor "B" Inverter Voltage Sensor "A" Circuit Voltage Above Threshold - - - - -
    P0DA3-1F Drive Motor "B" Inverter Voltage Sensor "A" Circuit Intermittent - - - - -
    P1C2C-1C Drive Motor "B" Control Module AD Converter Circuit Voltage Out of Range - - - - -
    P1C2C-49 Drive Motor "B" Control Module AD Converter Circuit Internal Electronic Failure - - - - -
    P1C5E-19 Drive Motor "B" Inverter Circuit Current Above Threshold - - - - S
    P1C61-1F Drive Motor "B" Control Module Position Sensor REF Power Source Circuit Intermittent - - - - -
    P1C63-1F Drive Motor "B" Control Module Offset Power Circuit Intermittent - - - - -
    P1C66-1F Drive Motor "B" Control Module Circuit Intermittent - - - - -
    P1CAE-49 Drive Motor "B" Position Sensor Internal Electronic Failure - - - - A
    P1CB1-38 Drive Motor "B" Position Sensor REF Signal Frequency Incorrect - - - - A
    P1CE4-9E Drive Motor "B" Inverter Voltage Sensor "A" Stuck On - - - - A
    P262C-1C Drive Motor "B" Control Module Offset Power Circuit Voltage Out of Range - - - - -
    P3104-62 Drive Motor Inverter Temperature Sensor "B" Signal Compare Failure - - - - A
    P3149-1F Lost Communication between Drive Motor "A" and "B" Circuit Intermittent - - - - A
    P3149-87 Lost Communication between Drive Motor "A" and "B" Missing Message - - - - A
    P31E4-1F Drive Motor "B" Phase V Current Sensor Circuit Intermittent - - - - A
    P31E5-1F Drive Motor "B" Phase W Current Sensor Circuit Intermittent - - - - A
    P33C0-12 Drive Motor "B" Phase V Current Sensor Sub Circuit Short to Battery - - - - A
    P33C0-14 Drive Motor "B" Phase V Current Sensor Sub Circuit Short to Ground or Open - - - - A
    P33C0-1F Drive Motor "B" Phase V Current Sensor Sub Circuit Intermittent - - - - A
    P33C0-28 Drive Motor "B" Phase V Current Sensor Sub Signal Bias Level Out of Range / Zero Adjustment Failure - - - - A
    P33C5-12 Drive Motor "B" Phase W Current Sensor Sub Circuit Short to Battery - - - - A
    P33C5-14 Drive Motor "B" Phase W Current Sensor Sub Circuit Short to Ground or Open - - - - A
    P33C5-1F Drive Motor "B" Phase W Current Sensor Sub Circuit Intermittent - - - - A
    P33C5-28 Drive Motor "B" Phase W Current Sensor Sub Signal Bias Level Out of Range / Zero Adjustment Failure - - - - A
    P33D8-62 Drive Motor "B" Phase V Current Sensor Signal Compare Failure - - - - A
    P33D9-62 Drive Motor "B" Phase W Current Sensor Signal Compare Failure - - - - A

    HINT: 

    The "Example of Multiple DTCs being Output" below is only one example of a malfunction condition. Therefore, a determination should not be made based on this alone.

    Example of Multiple DTCs being Output: 

    1. The power supply of the microcomputer decreases while the vehicle is being driven.
      1. DTCs are detected and the vehicle behavior is as follows.

      Detected DTCs 

      • P06B3-1C (Drive Motor B" Control Module Position Sensor REF Power Source Circuit Voltage Out of Range): Power source malfunction*
      • P0A45-16 (Drive Motor B" Position Sensor Circuit Voltage Below Threshold): Sensor and actuator circuit malfunction*
      • P0C55-16 (Drive Motor B" Position Sensor Circuit "A" Circuit Voltage Below Threshold): Sensor and actuator circuit malfunction*
      • P1CAE-49 (Drive Motor B" Position Sensor Internal Electronic Failure): Sensor and actuator circuit malfunction*
        1. *: Check the priority level in the "DTC Order of Priority" chart above.

      Vehicle Behavior 

      1. AWD stopped
      2. System stopped
    2. The inspection order of priority is: Microcomputer circuit → power source circuit → communication circuit → sensor and actuator circuit → system circuit. Therefore, check the repair procedure for P06B3-1C.
    3. Follow the repair procedures and replace the hybrid motor control inverter assembly rear. Finish the repair.

    It is possible to check only the specified malfunctioning parts without having to check irrelevant parts.