LEMON Manuals: Even more car manuals for everyone: 1960-2025
Home >> Toyota >> 2021 >> RAV4 Adventure >> Repair and Diagnosis (Single Page) >> Body & Frame >> Door Locks >> Smart Key System (For Entry, Except HV) - Symptom Tests (2 Of 2) >> SMART KEY SYSTEM (for Entry Function, Gasoline Model) >> Front Passenger Side Door Entry Unlock Function does not Operate [11/2018 - 10/2023] >> Procedure
April 5, 2026: LEMON Manuals is launched! Read the announcement.

Front Passenger Side Door Entry Unlock Function does not Operate [11/2018 - 10/2023]: Procedure

  1. CHECK POWER DOOR LOCK CONTROL SYSTEM 
    1. When the door control switch on the multiplex network master switch assembly is operated, check that the doors unlock and lock according to the switch operation.

      Refer to OPERATION CHECK [11/2018 - 10/2023]

      OK

      Door locks operate normally.

      Result

      Proceed to
      OK
      NG

    Result: 

    NG 

    GO TO POWER DOOR LOCK CONTROL SYSTEM 

    Refer to HOW TO PROCEED WITH TROUBLESHOOTING [11/2018 - 10/2023]

    Result: 

    OK 

    See step  2

  2. READ VALUE USING TECHSTREAM (FR DOOR LOCK POS) 
    1. Connect the Techstream to the DLC3.
    2. Turn the engine switch on (IG).
    3. Turn the Techstream on.
    4. Enter the following menus: Body Electrical / Main Body / Data List.
    5. Read the Data List according to the display on the Techstream.

      Body Electrical > Main Body > Data List 

      Tester Display Measurement Item Range Normal Condition Diagnostic Note
      FR Door Lock Pos Front door RH unlock detection switch signal UNLOCK or LOCK UNLOCK: Front door RH unlocked
      LOCK: Front door RH locked
      -

      Body Electrical > Main Body > Data List 

      Tester Display
      FR Door Lock Pos

      OK

      The Techstream display changes correctly in response to the lock/unlock operation of the front passenger door.

      Result

      Proceed to
      OK
      NG

    Result: 

    NG 

    GO TO LIGHTING SYSTEM (Proceed to Door Unlock Detection Switch Circuit) 

    Refer to Door Unlock Detection Switch Circuit [11/2018 - 10/2023]

    Result: 

    OK 

    See step  3

  3. READ VALUE USING TECHSTREAM (P-DOOR TOUCH SENSOR) 
    1. Turn the engine switch off.
      GTY849947Courtesy of © TOYOTA, LICENSE AGREEMENT TMS1002
      *a Unlock Sensor (Backside)
    2. Turn the engine switch on (IG).
    3. Open and close the front passenger door.
    4. With the electrical key transmitter sub-assembly outside of the vehicle, press the lock switch of the electrical key transmitter sub-assembly to lock all of the doors.
    5. Hold the electrical key transmitter sub-assembly at the same height as the door outside handle assembly and approximately 0.3 m (0.984 ft.) from the front passenger door.
    6. Check that the LED of the electrical key transmitter sub-assembly blinks.
    7. Enter the following menus: Body Electrical / Smart Key / Data List.
    8. Read the Data List according to the display on the Techstream.
    9. Touch the unlock sensor on the backside of the front door outside handle assembly RH.

      HINT: 

      When checking the operation of the unlock sensor again, make sure to perform the procedure from step (a).

      Body Electrical > Smart Key > Data List 

      Tester Display Measurement Item Range Normal Condition Diagnostic Note
      P-Door Touch Sensor Front passenger door touch sensor (unlock sensor) OFF or ON OFF: Front passenger door touch sensor (unlock sensor) not touched
      ON: Front passenger door touch sensor (unlock sensor) touched
      • Displays whether the unlock sensor is on or off (even if the sensor is touched and contact is maintained, "ON" is displayed only momentarily).
      • Use this Data List item to help determine if there is an unlock sensor malfunction when the entry unlock function does not operate.

      Body Electrical > Smart Key > Data List 

      Tester Display
      P-Door Touch Sensor

      OK

      The Techstream display changes correctly in response to the operation of the front door outside handle assembly RH.

      Result

      Proceed to
      OK
      NG

    Result: 

    OK 

    REPLACE CERTIFICATION ECU (SMART KEY ECU ASSEMBLY) 

    Refer to REMOVAL [11/2018 - 02/2019] , or refer to REMOVAL [02/2019 - 10/2019] , or refer to REMOVAL [10/2019 - 08/2020] , or refer to REMOVAL [08/2020 - 12/2021] , or refer to REMOVAL [12/2021 - 10/2022] , or refer to REMOVAL [10/2022 - 10/2023]

    Result: 

    NG 

    See step  4

  4. CHECK HARNESS AND CONNECTOR (CERTIFICATION ECU (SMART KEY ECU ASSEMBLY) - FRONT DOOR OUTSIDE HANDLE ASSEMBLY RH) 
    1. Disconnect the M7 certification ECU (smart key ECU assembly) connector.
    2. Disconnect the I9 front door outside handle assembly RH connector.
    3. Measure the resistance according to the value(s) in the table below.

      Standard Resistance

      Tester Connection Condition Specified Condition
      M7-15 (CLG2) - I9-6 (ANT1) Always Below 1 Ω
      M7-14 (CG2B) - I9-4 (ANT2) Always Below 1 Ω
      M7-15 (CLG2) or I9-6 (ANT1) - Other terminals and body ground Always 10 kΩ or higher
      M7-14 (CG2B) or I9-4 (ANT2) - Other terminals and body ground Always 10 kΩ or higher
    4. Reconnect the I9 front door outside handle assembly RH connector.
    5. Reconnect the M7 certification ECU (smart key ECU assembly) connector.

      Result

      Proceed to
      OK
      NG

    Result: 

    NG 

    REPAIR OR REPLACE HARNESS OR CONNECTOR 

    Result: 

    OK 

    See step  5

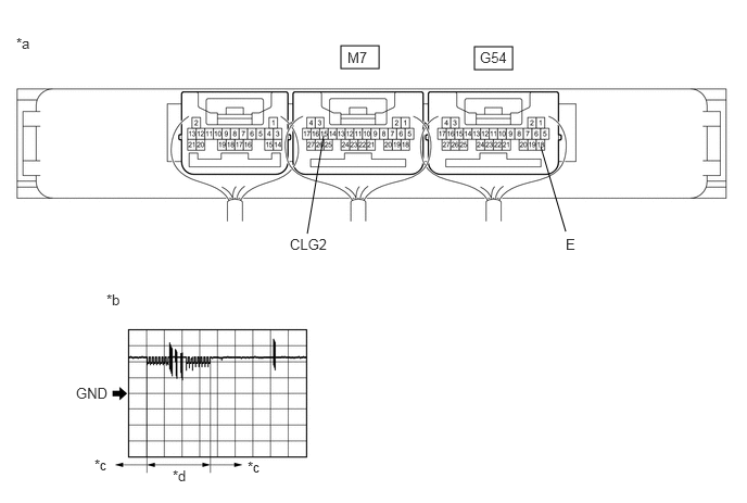
  5. CHECK FRONT DOOR OUTSIDE HANDLE ASSEMBLY RH (INPUT TO FRONT PASSENGER DOOR UNLOCK SENSOR) 
    GTY883132Courtesy of © TOYOTA, LICENSE AGREEMENT TMS1002
    *a Component with harness connected
    (Certification ECU (Smart Key ECU Assembly))
    *b Waveform 1
    *c Unlock sensor not touched *d Unlock sensor touched
    1. Using an oscilloscope, check the waveform.

      OK

      Tester Connection Condition Tool Setting Specified Condition
      M7-15 (CLG2) - G54-18 (E) Procedure:
      1. Engine switch off
      2. Electrical key transmitter sub-assembly brought outside vehicle
      3. All doors locked
      4. Electrical key transmitter sub-assembly not near the vehicle
      5. Front passenger door unlock sensor touched
      5 V/DIV., 50 ms/DIV. Pulse generation
      (See waveform 1)

      Result

      Proceed to
      OK
      NG

    Result: 

    OK 

    REPLACE CERTIFICATION ECU (SMART KEY ECU ASSEMBLY) 

    Refer to REMOVAL [11/2018 - 02/2019] , or refer to REMOVAL [02/2019 - 10/2019] , or refer to REMOVAL [10/2019 - 08/2020] , or refer to REMOVAL [08/2020 - 12/2021] , or refer to REMOVAL [12/2021 - 10/2022] , or refer to REMOVAL [10/2022 - 10/2023]

    Result: 

    NG 

    REPLACE FRONT DOOR OUTSIDE HANDLE ASSEMBLY RH 

    Refer to DISASSEMBLY [11/2018 - 02/2019] , or refer to DISASSEMBLY [02/2019 - 10/2019] , or refer to DISASSEMBLY [10/2019 - 08/2020] , or refer to DISASSEMBLY [08/2020 - 12/2021] , or refer to DISASSEMBLY [12/2021 - 10/2022] , or refer to DISASSEMBLY [10/2022 - 10/2023]