LEMON Manuals: Even more car manuals for everyone: 1960-2025
Home >> Toyota >> 2021 >> RAV4 Adventure >> Repair and Diagnosis (Single Page) >> Transmission >> Transfer Case >> Transfer Case System (GF2A) - Service Information >> Transfer Assembly >> Reassembly [11/2018 - 10/2019] >> Procedure
April 5, 2026: LEMON Manuals is launched! Read the announcement.

Reassembly [11/2018 - 10/2019]: Procedure

  1. INSTALL NO. 2 TRANSFER CASE OIL SEAL 

    See step  8

  2. INSTALL OUTPUT SHAFT COMPANION FLANGE SUB-ASSEMBLY 
    1. Align the matchmark on the output shaft companion flange with the transfer gear groove, and then temporarily install the output shaft companion flange sub-assembly as shown in the illustration.
      GTY870315Courtesy of © TOYOTA, LICENSE AGREEMENT TMS1002
      *a Matchmark
    2. Using SST, install the output shaft companion flange sub-assembly.
      GTY872214Courtesy of © TOYOTA, LICENSE AGREEMENT TMS1002
      *a Turn
      *b Hold
      • SST: 09950-30012 
        1. 09951-03010
        2. 09953-03010
        3. 09954-03010
        4. 09955-03030
      • SST: 09956-03090 
    3. Using SST, temporarily install the output shaft companion flange nut.
      GTY936687Courtesy of © TOYOTA, LICENSE AGREEMENT TMS1002
      *a Turn
      *b Hold
      • SST: 09330-00021 

      Torque: 140 N.m (1428 kgf/cm, 103 ft.lbf) 

      WARNING:

      The total preload may be within the standard even when the output shaft companion flange is loose. If the output shaft companion flange is installed in this state, the vehicle may be damaged or lead to a serious accident.

      NOTE:

      Tighten the output shaft companion flange nut until there is no more looseness in the output shaft companion flange and it turns to the right and left with the same amount of force.

      HINT: 

      After temporarily installing the output shaft companion flange nut, be sure to adjust the preoload.

  3. INSPECT TOTAL PRELOAD 
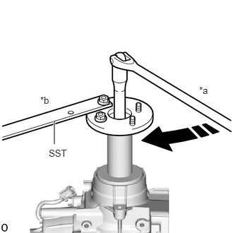
    1. Using a torque wrench, measure the total preload (starting torque) with the teeth of the transfer driven pinion and transfer ring gear in contact.
      GTY886314Courtesy of © TOYOTA, LICENSE AGREEMENT TMS1002

      HINT: 

      • The torque wrench should be installed as shown in the illustration.
      • For a more accurate measurement, rotate the bearing forward and backward several times before the measurement.
      • Use the preload value measured prior to disassembling the transfer assembly as the standard value.
      • Adjust within the standard value (Adjustable range within +/- 0.2 N.m of the measured preload value).
    2. If the preload is not as specified, perform the procedures below.
      1. If the measured preoload is higher than the standard value:

        Replace the rear drive pinion bearing and transfer pinion bearing spacer, and then adjust the preload again.

      2. If the measured preoload is lower than the standard value:

        Tighten the output shaft companion flange nut, and then adjust the preload again.

  4. INSTALL OUTPUT SHAFT COMPANION FLANGE NUT 
    1. Place a matchmark on SST as shown in the illustration.
      GTY931147Courtesy of © TOYOTA, LICENSE AGREEMENT TMS1002
      *a Matchmark
      • SST: 09930-42010 
    2. Install SST aligned with the matchmark on the output shaft companion flange sub-assembly as shown in the illustration.
      GTY874441Courtesy of © TOYOTA, LICENSE AGREEMENT TMS1002
      *a Matchmark
    3. Using SST and a hammer, stake the output shaft companion flange nut.
      GTY852991Courtesy of © TOYOTA, LICENSE AGREEMENT TMS1002
      NOTE:

      Check that the matchmarks are properly aligned.

  5. INSTALL TRANSFER CASE OIL SEAL 

    See step  5

  6. INSTALL TRANSFER CASE OIL SEAL RH 
    1. Coat the lip of a new drive shaft oil seal RH with MP grease.
    2. Using SST and a hammer, tap in a new transfer case oil seal RH as shown in the illustration.
      GTY851795Courtesy of © TOYOTA, LICENSE AGREEMENT TMS1002
      *1 Transfer Case Oil Seal RH
      • SST: 09223-46011 
      • SST: 09631-32020 

      Drive in depth (A)

      -0.5 to 0.5 mm (-0.0197 to 0.0196 in.)

      NOTE:
      • Tap the transfer case oil seal RH uniformly so that the transfer case oil seal RH is straight.
      • Do not tap the transfer case oil seal RH in too far.
  7. INSTALL TRANSFER CASE BREATHER PLUG 
    1. Install a new transfer case breather plug to the transfer case.
      GTY875438Courtesy of © TOYOTA, LICENSE AGREEMENT TMS1002

      Torque: 11.3 N.m (115 kgf/cm, 8 ft.lbf) 

  8. INSTALL NO. 1 4 WHEEL DRIVE POSITION SWITCH 
    1. Using a SST, install the No. 1 4 wheel drive position switch to the transfer case.
      GTY919185Courtesy of © TOYOTA, LICENSE AGREEMENT TMS1002
      • SST: 09816-30010 

      Torque: 40.2 N.m (410 kgf/cm, 30 ft.lbf) 

  9. INSTALL TRANSFER CASE STRAIGHT PIN 
    1. Using a plastic hammer, install straight pins to the locations shown in the illustration.
      GTY925596Courtesy of © TOYOTA, LICENSE AGREEMENT TMS1002

      Drive in depth (A)

      10.8 to 11.8 mm (0.426 to 0.464 in.)

  10. INSTALL TRANSFER FILLER PLUG 
    1. Using a 10 mm socket hexagon wrench, install a new gasket and the transfer filler plug.
      GTY875439Courtesy of © TOYOTA, LICENSE AGREEMENT TMS1002

      Torque: 39 N.m (398 kgf/cm, 29 ft.lbf) 

  11. INSTALL TRANSFER DRAIN PLUG 
    1. Using a 10 mm socket hexagon wrench, install a new gasket and the transfer drain plug.
      GTY875440Courtesy of © TOYOTA, LICENSE AGREEMENT TMS1002

      Torque: 39 N.m (398 kgf/cm, 29 ft.lbf) 

  12. INSTALL NO. 1 TRANSFER CASE PLUG 
    1. Install a new gasket and the No. 1 transfer case plug.
      GTY875573Courtesy of © TOYOTA, LICENSE AGREEMENT TMS1002

      Torque: 49 N.m (500 kgf/cm, 36 ft.lbf) 

  13. REMOVE TRANSFER ASSEMBLY 
    1. Remove the transfer assembly from the overhaul attachment.
      GTY875429Courtesy of © TOYOTA, LICENSE AGREEMENT TMS1002
  14. INSTALL TRANSFER AND TRANSAXLE SETTING STUD BOLT 
    1. Clean the bolt holes.
    2. Using 2 nuts, install 4 new stud bolts in the locations shown in the illustration.
      GTY848397Courtesy of © TOYOTA, LICENSE AGREEMENT TMS1002
      *a Adhesive 1324
      *b 64 mm (2.520 in.)

      Torque: 39.2 N.m (400 kgf/cm, 29 ft.lbf) 

      NOTE:

      Install the shorter threaded part of each stud bolt to the transfer side.