LEMON Manuals: Even more car manuals for everyone: 1960-2025
Home >> Toyota >> 2021 >> RAV4 Adventure >> Repair and Diagnosis >> External Pages >> Different car >> Section 11 (Engine Control System (A25A-FXS) (W/ Canister Pump Module) - Diagnostics - Introduction (1 Of 3)) >> SFI SYSTEM (w/ Canister Pump Module) >> System Diagram [02/2019 - 08/2020] >> System Diagram [02/2019 - 08/2020]
April 5, 2026: LEMON Manuals is launched! Read the announcement.

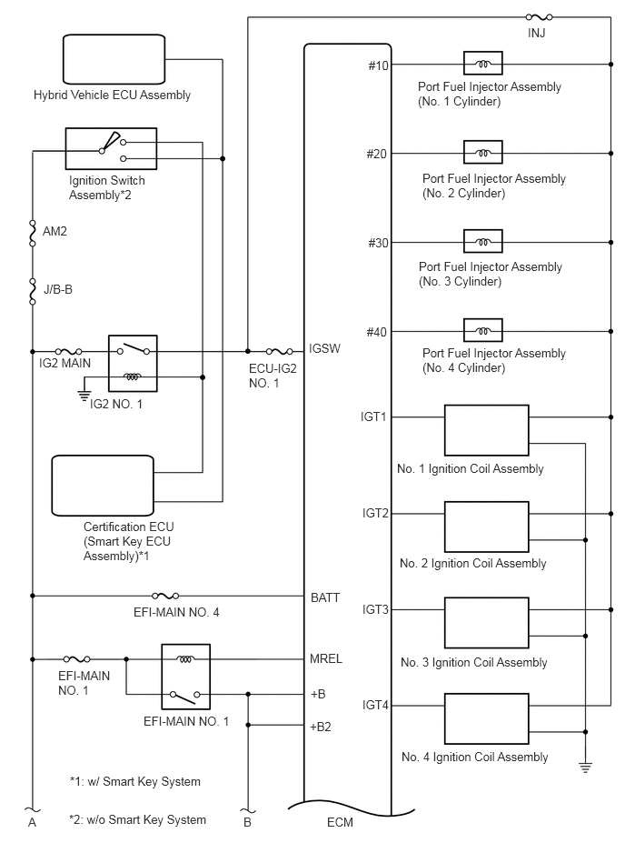
System Diagram [02/2019 - 08/2020]

WARNING: This page is about a different car, the 2020 Toyota RAV4 and 2019 Toyota RAV4. However, it is still accessible from the selected car via links, so may be relevant.
GTY882872Courtesy of © TOYOTA, LICENSE AGREEMENT TMS1002
GTY877025Courtesy of © TOYOTA, LICENSE AGREEMENT TMS1002
GTY933886Courtesy of © TOYOTA, LICENSE AGREEMENT TMS1002
GTY844023Courtesy of © TOYOTA, LICENSE AGREEMENT TMS1002
GTY880862Courtesy of © TOYOTA, LICENSE AGREEMENT TMS1002