LEMON Manuals: Even more car manuals for everyone: 1960-2025
Home >> Toyota >> 2021 >> RAV4 LE, AWD >> Repair and Diagnosis (Single Page) >> Accessories & Equipment >> Anti-Theft Systems >> Smart Key System (For Start, Except HV) - Symptom Tests (2 Of 2) >> SMART KEY SYSTEM (for Start Function, Gasoline Model) >> Immobiliser System does not Operate Properly [11/2018 - 08/2020] >> Procedure
April 5, 2026: LEMON Manuals is launched! Read the announcement.

Immobiliser System does not Operate Properly [11/2018 - 08/2020]: Procedure

  1. CHECK VEHICLE TYPE 
    1. Check vehicle condition.

      Result

      Proceed to
      w/o Occupant Classification System
      w/ Occupant Classification System

    Result: 

    w/ Occupant Classification System 

    See step  13

    Result: 

    w/o Occupant Classification System 

    See step  2

  2. CHECK FOR DTC 
    1. Connect the Techstream to the DLC3.
    2. Turn the engine switch on (IG).
    3. Turn the Techstream on.
    4. Enter the following menus: Body Electrical or Powertrain / Smart Key or Engine / Trouble Codes.
    5. Check for DTCs.

      Body Electrical > Smart Key > Trouble Codes 

      Powertrain > Engine > Trouble Codes 

      Result

      Result Proceed to
      DTCs are not output A
      DTCs are output B

    Result: 

    GO TO DIAGNOSTIC TROUBLE CODE CHART. Refer to  DIAGNOSTIC TROUBLE CODE CHART [11/2018 - 10/2019]  , or refer to  DIAGNOSTIC TROUBLE CODE CHART [10/2019 - 08/2020] 

    Result: 

    See step  3

  3. READ VALUE USING TECHSTREAM (IMMOBILISER FUEL CUT STATUS) 
    1. Enter the following menus: Powertrain / Engine / Data List.
    2. Read the Data List according to the display on the Techstream.

      Powertrain > Engine > Data List 

      Tester Display Measurement Item Range Normal Condition Diagnostic Note
      Immobiliser Fuel Cut Status Status of immobiliser fuel cut OFF or ON OFF: Fuel cut off
      ON: Fuel cut on
      -

      Powertrain > Engine > Data List 

      Tester Display
      Immobiliser Fuel Cut Status

      OK

      OFF is displayed after the engine is started.

      Result

      Proceed to
      OK
      NG

    Result: 

    OK 

    GO TO SFI SYSTEM (HOW TO PROCEED WITH TROUBLESHOOTING) 

    for A25A-FKS (w/ Canister Pump Module):

    Refer to HOW TO PROCEED WITH TROUBLESHOOTING [11/2018 - 08/2020]

    for A25A-FKS (w/o Canister Pump Module):

    Refer to HOW TO PROCEED WITH TROUBLESHOOTING [11/2018 - 08/2020]

    Result: 

    NG 

    See step  4

  4. CHECK WHETHER ENGINE STARTS 
    1. Check that the engine starts within 5 seconds of the engine switch being turned on (IG).

      OK

      Engine starts normally.

      Result

      Proceed to
      OK
      NG

    Result: 

    OK 

    USE SIMULATION METHOD TO CHECK. Refer to  HOW TO PROCEED WITH TROUBLESHOOTING [11/2018 - ] 

    Result: 

    NG 

    See step  5

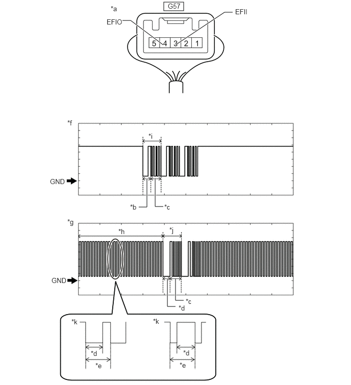
  5. CHECK ECM (TERMINAL EFII AND EFIO) 
    1. Using an oscilloscope, check the waveform.
      GTY871379Courtesy of © TOYOTA, LICENSE AGREEMENT TMS1002
      *a Component with harness connected
      (ID Code Box (Immobiliser Code ECU))
      *b Approximately 160 ms.
      *c Approximately 270 ms. *d Approximately 40 ms.
      *e Approximately 60 ms. *f IMO Waveform
      *g IMI Waveform *h Waveform A
      *i Waveform B *j Waveform C
      *k Waveform A (detail) - -
      NOTE:

      The waveform shown in the illustration is an example for reference only. Noise, chattering, etc. are not shown.

      Measurement Condition

      Tester Connection Condition Tool Setting Specified Condition
      G57-3 (EFII) - Body ground Within 3 seconds of engine start or within 3 seconds of engine switch turned on (IG) after cable disconnected and reconnected to battery 2 V/DIV., 500 ms./DIV. Pulse generation
      (See waveform B)
      G57-4 (EFIO) - Body ground Within 3 seconds of engine start or within 3 seconds of engine switch turned on (IG) after cable disconnected and reconnected to battery 2 V/DIV., 500 ms./DIV. Pulse generation
      (See waveform A and C)

      Result

      Result Proceed to
      Normal waveform A
      Waveform A is not output, or has abnormal wavelength or shape B
      Waveform B is not output, or has abnormal wavelength or shape C
      Waveform C is not output, or has abnormal wavelength or shape D

    Result: 

    See step  8

    Result: 

    REPLACE ECM. Refer to  REMOVAL [11/2018 - 08/2020] 

    Result: 

    See step  9

    Result: 

    See step  6

  6. REGISTER ECU COMMUNICATION ID (ID CODE BOX (IMMOBILISER CODE ECU) - ECM) 
    1. Register the ECU communication ID codes.

      HINT: 

      Refer to Registration.

      Refer to REGISTRATION [11/2018 - 10/2019] , or refer to REGISTRATION [10/2019 - 08/2020]

      Result

      Proceed to
      NEXT

    Result: 

    NEXT 

    See step  7

  7. CHECK WHETHER ENGINE STARTS 
    1. Check that the engine starts.

      OK

      Engine starts normally.

      Result

      Proceed to
      OK
      NG

    Result: 

    OK 

    END (COMMUNICATION ID WAS NOT REGISTERED) 

    Result: 

    NG 

    See step  9

  8. CHECK HARNESS AND CONNECTOR (ID CODE BOX (IMMOBILISER CODE ECU) - ECM) 
    1. Disconnect the G57 ID code box (immobiliser code ECU) connector.
    2. Disconnect the A24 ECM connector.
    3. Measure the resistance according to the value(s) in the table below.

      Standard Resistance

      Tester Connection Condition Specified Condition
      G57-3 (EFII) - A24-25 (IMO) Always Below 1 Ω
      G57-4 (EFIO) - A24-26 (IMI) Always Below 1 Ω
      G57-3 (EFII) or A24-25 (IMO) - Other terminals and body ground Always 10 kΩ or higher
      G57-4 (EFIO) or A24-26 (IMI) - Other terminals and body ground Always 10 kΩ or higher

      Result

      Proceed to
      OK
      NG

    Result: 

    OK 

    See step  9

    Result: 

    NG 

    REPAIR OR REPLACE HARNESS OR CONNECTOR 

  9. REPLACE ID CODE BOX (IMMOBILISER CODE ECU) 
    1. Replace the ID code box (immobiliser code ECU) with a new one.

      Refer to REMOVAL [11/2018 - 02/2019] , or refer to REMOVAL [02/2019 - 10/2019] , or refer to REMOVAL [10/2019 - 08/2020]

      Result

      Proceed to
      NEXT

    Result: 

    NEXT 

    See step  10

  10. REGISTER RECOGNITION CODE 
    1. Register the recognition codes to the ECUs.

      HINT: 

      Refer to Registration.

      Refer to REGISTRATION [11/2018 - 10/2019] , or refer to REGISTRATION [10/2019 - 08/2020]

      Result

      Proceed to
      NEXT

    Result: 

    NEXT 

    See step  11

  11. REGISTER ECU COMMUNICATION ID 
    1. Register the ECU communication ID codes.

      HINT: 

      Refer to Registration.

      Refer to REGISTRATION [11/2018 - 10/2019] , or refer to REGISTRATION [10/2019 - 08/2020]

      Result

      Proceed to
      NEXT

    Result: 

    NEXT 

    See step  12

  12. CHECK WHETHER ENGINE STARTS 
    1. Check that the engine starts.

      OK

      Engine starts normally.

      Result

      Proceed to
      OK
      NG

    Result: 

    OK 

    END (ID CODE BOX (IMMOBILISER CODE ECU) WAS DEFECTIVE) 

    Result: 

    NG 

    GO TO SFI SYSTEM (HOW TO PROCEED WITH TROUBLESHOOTING) 

    for A25A-FKS (w/ Canister Pump Module):

    Refer to HOW TO PROCEED WITH TROUBLESHOOTING [11/2018 - 08/2020]

    for A25A-FKS (w/o Canister Pump Module):

    Refer to HOW TO PROCEED WITH TROUBLESHOOTING [11/2018 - 08/2020]

  13. CHECK FOR DTC 
    1. Connect the Techstream to the DLC3.
    2. Turn the engine switch on (IG).
    3. Turn the Techstream on.
    4. Enter the following menus: Body Electrical or Powertrain / Smart Key or Engine / Trouble Codes.
    5. Check for DTCs.

      Body Electrical > Smart Key > Trouble Codes 

      Powertrain > Engine > Trouble Codes 

      Result

      Result Proceed to
      DTCs are not output A
      DTCs are output B

    Result: 

    GO TO DIAGNOSTIC TROUBLE CODE CHART. Refer to  DIAGNOSTIC TROUBLE CODE CHART [11/2018 - 10/2019]  , or refer to  DIAGNOSTIC TROUBLE CODE CHART [10/2019 - 08/2020] 

    Result: 

    See step  14

  14. READ VALUE USING TECHSTREAM (IMMOBILISER FUEL CUT STATUS) 
    1. Enter the following menus: Powertrain / Engine / Data List.
    2. Read the Data List according to the display on the Techstream.

      Powertrain > Engine > Data List 

      Tester Display Measurement Item Range Normal Condition Diagnostic Note
      Immobiliser Fuel Cut Status Status of immobiliser fuel cut OFF or ON OFF: Fuel cut off
      ON: Fuel cut oN
       

      Powertrain > Engine > Data List 

      Tester Display
      Immobiliser Fuel Cut Status

      OK

      OFF is displayed after the engine is started.

      Result

      Proceed to
      OK
      NG

    Result: 

    OK 

    GO TO SFI SYSTEM (HOW TO PROCEED WITH TROUBLESHOOTING) 

    for A25A-FKS (w/ Canister Pump Module):

    Refer to HOW TO PROCEED WITH TROUBLESHOOTING [11/2018 - 08/2020]

    for A25A-FKS (w/o Canister Pump Module):

    Refer to HOW TO PROCEED WITH TROUBLESHOOTING [11/2018 - 08/2020]

    Result: 

    NG 

    See step  15

  15. CHECK WHETHER ENGINE STARTS 
    1. Check that the engine starts within 5 seconds of the engine switch being turned on (IG).

      OK

      Engine starts normally.

      Result

      Proceed to
      OK
      NG

    Result: 

    OK 

    USE SIMULATION METHOD TO CHECK. Refer to  HOW TO PROCEED WITH TROUBLESHOOTING [11/2018 - ] 

    Result: 

    NG 

    See step  16

  16. CHECK ECM (TERMINAL EFII AND EFIO) 
    1. Using an oscilloscope, check the waveform.
      GTY923008Courtesy of © TOYOTA, LICENSE AGREEMENT TMS1002
      *a Component with harness connected
      (Certification ECU (Smart Key ECU Assembly))
      *b Approximately 160 ms.
      *c Approximately 270 ms. *d Approximately 40 ms.
      *e Approximately 60 ms. *f IMO Waveform
      *g IMI Waveform *h Waveform A
      *i Waveform B *j Waveform C
      *k Waveform A (detail) - -
      NOTE:

      The waveform shown in the illustration is an example for reference only. Noise, chattering, etc. are not shown.

      Measurement Condition

      Tester Connection Condition Tool Setting Specified Condition
      A15-3 (EFII) - Body ground Within 3 seconds of engine start or within 3 seconds of engine switch turned on (IG) after cable disconnected and reconnected to battery 2 V/DIV., 500 ms./DIV. Pulse generation
      (See waveform 2)
      A15-4 (EFIO) - Body ground Within 3 seconds of engine start or within 3 seconds of engine switch turned on (IG) after cable disconnected and reconnected to battery 2 V/DIV., 500 ms./DIV. Pulse generation
      (See waveform 1 and 3)

      Result

      Result Proceed to
      Normal waveform A
      Waveform A is not output, or has abnormal wavelength or shape B
      Waveform B is not output, or has abnormal wavelength or shape C
      Waveform C is not output, or has abnormal wavelength or shape D

    Result: 

    See step  19

    Result: 

    REPLACE ECM. Refer to  REMOVAL [11/2018 - 08/2020] 

    Result: 

    See step  20

    Result: 

    See step  17

  17. REGISTER ECU COMMUNICATION ID (CERTIFICATION ECU (SMART KEY ECU ASSEMBLY) - ECM) 
    1. Register the ECU communication ID codes.

      HINT: 

      Refer to Registration.

      Refer to REGISTRATION [11/2018 - 10/2019] , or refer to REGISTRATION [10/2019 - 08/2020]

      Result

      Proceed to
      NEXT

    Result: 

    NEXT 

    See step  18

  18. CHECK WHETHER ENGINE STARTS 
    1. Check that the engine starts.

      OK

      Engine starts normally.

      Result

      Proceed to
      OK
      NG

    Result: 

    OK 

    END (COMMUNICATION ID WAS NOT REGISTERED) 

    Result: 

    NG 

    See step  20

  19. CHECK HARNESS AND CONNECTOR (CERTIFICATION ECU (SMART KEY ECU ASSEMBLY) - ECM) 
    1. Disconnect the A15 certification ECU (smart key ECU assembly) connector.
    2. Disconnect the A24 ECM connector.
    3. Measure the resistance according to the value(s) in the table below.

      Standard Resistance

      Tester Connection Condition Specified Condition
      A15-3 (EFII) - A24-25 (IMO) Always Below 1 Ω
      A15-4 (EFIO) - A24-26 (IMI) Always Below 1 Ω
      A15-3 (EFII) or A24-25 (IMO) - Other terminals and body ground Always 10 kΩ or higher
      A15-4 (EFIO) or A24-26 (IMI) - Other terminals and body ground Always 10 kΩ or higher

      Result

      Proceed to
      OK
      NG

    Result: 

    OK 

    See step  20

    Result: 

    NG 

    REPAIR OR REPLACE HARNESS OR CONNECTOR 

  20. REPLACE CERTIFICATION ECU (SMART KEY ECU ASSEMBLY) 
    1. Replace the certification ECU (smart key ECU assembly) with a new one.

      Refer to REMOVAL [11/2018 - 02/2019] , or refer to REMOVAL [02/2019 - 10/2019] , or refer to REMOVAL [10/2019 - 08/2020]

      Result

      Proceed to
      NEXT

    Result: 

    NEXT 

    See step  21

  21. REGISTER RECOGNITION CODE 
    1. Register the recognition codes to the ECUs.

      HINT: 

      Refer to Registration.

      Refer to REGISTRATION [11/2018 - 10/2019] , or refer to REGISTRATION [10/2019 - 08/2020]

      Result

      Proceed to
      NEXT

    Result: 

    NEXT 

    See step  22

  22. REGISTER ECU COMMUNICATION ID 
    1. Register the ECU communication ID codes.

      HINT: 

      Refer to Registration.

      Refer to REGISTRATION [11/2018 - 10/2019] , or refer to REGISTRATION [10/2019 - 08/2020]

      Result

      Proceed to
      NEXT

    Result: 

    NEXT 

    See step  23

  23. CHECK WHETHER ENGINE STARTS 
    1. Check that the engine starts.

      OK

      Engine starts normally.

      Result

      Proceed to
      OK
      NG

    Result: 

    OK 

    END (CERTIFICATION ECU (SMART KEY ECU ASSEMBLY) WAS DEFECTIVE) 

    Result: 

    NG 

    GO TO SFI SYSTEM (HOW TO PROCEED WITH TROUBLESHOOTING) 

    for A25A-FKS (w/ Canister Pump Module):

    Refer to HOW TO PROCEED WITH TROUBLESHOOTING [11/2018 - 08/2020]

    for A25A-FKS (w/o Canister Pump Module):

    Refer to HOW TO PROCEED WITH TROUBLESHOOTING [11/2018 - 08/2020]