LEMON Manuals: Even more car manuals for everyone: 1960-2025
Home >> Toyota >> 2021 >> RAV4 LE, AWD >> Repair and Diagnosis (Single Page) >> Accessories & Equipment >> Anti-Theft Systems >> Smart Key System (For Start, Except HV) - Symptom Tests (2 Of 2) >> SMART KEY SYSTEM (for Start Function, Gasoline Model) >> Unable to Unlock Steering Wheel (Engine cannot Start) [08/2020 - 12/2021] >> Procedure
April 5, 2026: LEMON Manuals is launched! Read the announcement.

Unable to Unlock Steering Wheel (Engine cannot Start) [08/2020 - 12/2021]: Procedure

  1. CHECK POWER SOURCE MODE CHANGING FUNCTION (SWITCH CONDITION) 
    1. Check the power source mode change.

      Refer to OPERATION CHECK [11/2018 - 12/2021]

      OK

      The power source mode changes to on (IG).

      Result

      Proceed to
      OK
      NG

    Result: 

    NG 

    GO TO SMART KEY SYSTEM (for Start Function) (Power Source Mode does not Change to ON (IG and ACC)). Refer to  Power Source Mode does not Change to ON (IG and ACC) [11/2018 - ] 

    Result: 

    OK 

    See step  2

  2. CHECK INDICATOR 
    1. With the engine switch on (IG), check that push engine switch while turning steering wheel in either direction is displayed on the multi-information display in the combination meter assembly.

      Result

      Result Proceed to
      Push engine switch while turning steering wheel in either direction is displayed. A
      Push engine switch while turning steering wheel in either direction is not displayed. B

    Result: 

    See step  4

    Result: 

    See step  3

  3. CHECK STEERING UNLOCK 
    1. Turn the steering wheel left and right, and then press the engine switch.
    2. Check that the steering is unlocked.

      Result

      Result Proceed to
      The steering is unlocked. A
      The steering is not unlocked. B

    Result: 

    END (STEERING LOCK IS NORMAL) 

    Result: 

    See step  4

  4. CHECK FOR DTC 
    1. Connect the Techstream to the DLC3.
    2. Turn the engine switch on (IG).
    3. Turn the Techstream on.
    4. Enter the following menus: Body Electrical / Smart Key / Trouble Codes.
    5. Check for DTCs and note any DTCs that are output.

      Body Electrical > Smart Key > Trouble Codes 

      Body Electrical > Power Source Control > Trouble Codes 

      Result

      Result Proceed to
      DTCs are not output. A
      DTCs are output. B

    Result: 

    GO TO DIAGNOSTIC PROCEDURE INDICATED BY OUTPUT DTC. Refer to  DIAGNOSTIC TROUBLE CODE CHART [08/2020 - 12/2021] 

    Result: 

    See step  5

  5. READ VALUE USING TECHSTREAM (UNLOCK REQUEST RECEIVE) 
    1. Enter the following menus: Body Electrical / Smart Key / Data List.
    2. Read the Data List according to the display on the Techstream.

      Body Electrical > Smart Key > Data List 

      Tester Display Measurement Item Range Normal Condition Diagnostic Note
      Unlock Request Receive Status of steering unlock command from certification ECU (smart key ECU assembly) OK or NG OK: Unlock request signal received within 10 seconds of engine switch being turned on (IG) or on (ACC) or of an engine start operation being performed
      NG: Engine switch not turned on (IG) or on (ACC) and engine start operation not being performed
      • The engine cannot be started when an unlock request signal cannot be received.
      • If OK is not displayed even though the steering unlock conditions are met, the certification ECU (smart key ECU assembly) may be malfunctioning.

      Body Electrical > Smart Key > Data List 

      Tester Display
      Unlock Request Receive

      OK

      Within 10 seconds of turning the engine switch on (ACC) or on (IG) or starting the engine, the Data List item changes to "OK".

      Result

      Proceed to
      OK
      NG

    Result: 

    NG 

    See step  12

    Result: 

    OK 

    See step  6

  6. READ VALUE USING TECHSTREAM (L CODE CHECK) 
    1. Enter the following menus: Body Electrical / Smart Key / Data List.
    2. Read the Data List according to the display on the Techstream.

      Body Electrical > Smart Key > Data List 

      Tester Display Measurement Item Range Normal Condition Diagnostic Note
      L Code Check Verification result between certification ECU (smart key ECU assembly) and steering lock ECU (steering lock actuator with ECU assembly) OK or NG OK: Verification result normal
      NG: Verification result abnormal
      When NG is displayed:
      • The ID code for the certification ECU (smart key ECU assembly) or steering lock ECU (steering lock actuator with ECU assembly) is not registered, or the certification ECU (smart key ECU assembly) or steering lock ECU (steering lock actuator with ECU assembly) is malfunctioning.
      • The steering cannot be locked.
      • The steering cannot be unlocked (the engine cannot be started).

      Body Electrical > Smart Key > Data List 

      Tester Display
      L Code Check

      OK

      OK is displayed on the Techstream.

      HINT: 

      Reasons for verification failure:

      • The steering lock ECU (steering lock actuator with ECU assembly) or certification ECU (smart key ECU assembly) is malfunctioning.
      • There is a problem with the communication between ECUs.
      • An ECU is replaced, but is not registered.
      • An ECU is replaced with an ECU which has a code already stored in it.

      Result

      Proceed to
      OK
      NG

    Result: 

    NG 

    See step  11

    Result: 

    OK 

    See step  7

  7. CHECK HARNESS AND CONNECTOR (STEERING LOCK ECU (STEERING LOCK ACTUATOR WITH ECU ASSEMBLY) - POWER SUPPLY AND BODY GROUND) 
    1. Disconnect the steering lock ECU (steering lock actuator with ECU assembly) connector.
      GTY860433Courtesy of © TOYOTA, LICENSE AGREEMENT TMS1002
      *a Front view of wire harness connector
      (to Steering Lock ECU (Steering Lock Actuator with ECU Assembly))
    2. Measure the resistance according to the value(s) in the table below.

      Standard Resistance

      Tester Connection Condition Specified Condition
      G56-1 (GND) - Body ground Always Below 1 Ω
      NOTE:

      If the result is not as specified, check for looseness in the ground cable connection.

    3. Measure the voltage according to the value(s) in the table below.

      Standard Voltage

      Tester Connection Condition Specified Condition
      G56-7 (B) - Body ground Always 11 to 14 V

      Result

      Proceed to
      OK
      NG

    Result: 

    NG 

    REPAIR OR REPLACE HARNESS OR CONNECTOR 

    Result: 

    OK 

    See step  8

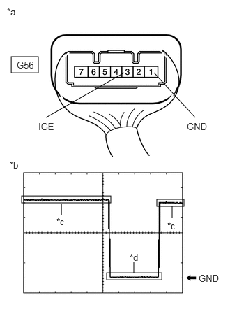
  8. CHECK STEERING LOCK ECU (STEERING LOCK ACTUATOR WITH ECU ASSEMBLY) (MOTOR ACTIVATION COMMAND SIGNAL) 
    1. Reconnect the steering lock ECU (steering lock actuator with ECU assembly) connector.
    2. Using an oscilloscope, check the waveform.

      OK

      Tester Connection Tool Setting Condition Specified Condition
      G56-3 (IGE) - G56-1 (GND) 2 V/DIV., 200 ms./DIV. Any door opened when following conditions are met, and then steering lock motor activated:
      • Shift state park (P)
      • Steering lock unlocked in advance by carrying key and turning engine switch on (IG)
      • After above conditions are met, engine switch turned off
      Pulse generation
      (See waveform)

      HINT: 

      • When taking measurements when the lock motor is stopped, it is not necessary to perform any operations.
      • In order to take measurements when the lock motor is operating, perform either of the following operations:
        • To unlock the steering, carry the key and turn the engine switch on (ACC) or on (IG).
        • To lock the steering, turn the engine switch off with the shift state park (P), and then open a door.
      GTY858116Courtesy of © TOYOTA, LICENSE AGREEMENT TMS1002
      *a Component with harness connected
      (Steering Lock ECU (Steering Lock Actuator with ECU Assembly))
      *b Steering Lock Motor not Operating
      *c Steering Lock Motor Operating
      *d Waveform

      Result

      Proceed to
      OK
      NG

    Result: 

    OK 

    REPLACE STEERING LOCK ECU (STEERING LOCK ACTUATOR WITH ECU ASSEMBLY). Refer to  DISASSEMBLY [11/2018 - 12/2021] 

    Result: 

    NG 

    See step  9

  9. CHECK HARNESS AND CONNECTOR (CERTIFICATION ECU (SMART KEY ECU ASSEMBLY) - STEERING LOCK ECU (STEERING LOCK ACTUATOR WITH ECU ASSEMBLY)) 
    1. Disconnect the G56 steering lock ECU (steering lock actuator with ECU assembly) connector.
    2. Disconnect the G54 certification ECU (smart key ECU assembly) connector.
    3. Measure the resistance according to the value(s) in the table below.

      Standard Resistance

      Tester Connection Condition Specified Condition
      G56-3 (IGE) - G54-25 (SLR+) Always Below 1 Ω
      G56-3 (IGE) or G54-25 (SLR+) - Other terminals and body ground Always 10 kΩ or higher

      Result

      Proceed to
      OK
      NG

    Result: 

    NG 

    REPAIR OR REPLACE HARNESS OR CONNECTOR 

    Result: 

    OK 

    See step  10

  10. CHECK STEERING LOCK ECU (STEERING LOCK ACTUATOR WITH ECU ASSEMBLY) 
    1. Reconnect the steering lock ECU (steering lock actuator with ECU assembly) connector.
    2. Measure the voltage according to the value(s) in the table below.

      Standard Voltage

      Tester Connection Condition Specified Condition
      G56-3 (IGE) - Body ground Always 11 to 14 V
      GTY894332Courtesy of © TOYOTA, LICENSE AGREEMENT TMS1002
      *a Component with harness connected
      (Steering Lock ECU (Steering Lock Actuator with ECU Assembly))

      Result

      Proceed to
      OK
      NG

    Result: 

    OK 

    REPLACE CERTIFICATION ECU (SMART KEY ECU ASSEMBLY). Refer to  REMOVAL [08/2020 - 12/2021] 

    Result: 

    NG 

    REPLACE STEERING LOCK ECU (STEERING LOCK ACTUATOR WITH ECU ASSEMBLY). Refer to  DISASSEMBLY [11/2018 - 12/2021] 

  11. CHECK STEERING LOCK ECU (STEERING LOCK ACTUATOR WITH ECU ASSEMBLY) 
    1. Replace the steering lock ECU (steering lock actuator with ECU assembly) with a new one and perform registration again.

      Refer to DISASSEMBLY [11/2018 - 12/2021]

      HINT: 

      Refer to Registration.

      Refer to REGISTRATION [08/2020 - 12/2021]

    2. Enter the following menus: Body Electrical / Smart Key / Data List.
    3. Read the Data List according to the display on the Techstream.

      Body Electrical > Smart Key > Data List 

      Tester Display Measurement Item Range Normal Condition Diagnostic Note
      L Code Check Verification result between certification ECU (smart key ECU assembly) and steering lock ECU (steering lock actuator with ECU assembly) OK or NG OK: Verification result normal
      NG: Verification result abnormal
      When NG is displayed:
      • The ID code for the certification ECU (smart key ECU assembly) or steering lock ECU (steering lock actuator with ECU assembly) is not registered, or the certification ECU (smart key ECU assembly) or steering lock ECU (steering lock actuator with ECU assembly) is malfunctioning.
      • The steering cannot be locked.
      • The steering cannot be unlocked (the engine cannot be started).

      Body Electrical > Smart Key > Data List 

      Tester Display
      L Code Check

      OK

      OK is displayed on the Techstream.

      Result

      Proceed to
      OK
      NG

    Result: 

    OK 

    END (STEERING LOCK ECU (STEERING LOCK ACTUATOR WITH ECU ASSEMBLY) WAS DEFECTIVE) 

    Result: 

    NG 

    REPLACE CERTIFICATION ECU (SMART KEY ECU ASSEMBLY). Refer to  REMOVAL [08/2020 - 12/2021] 

  12. CHECK STEERING LOCK ECU (STEERING LOCK ACTUATOR WITH ECU ASSEMBLY) 
    1. Measure the voltage according to the value(s) in the table below.
      GTY901012Courtesy of © TOYOTA, LICENSE AGREEMENT TMS1002
      *a Component with harness connected
      (Steering Lock ECU (Steering Lock Actuator with ECU Assembly))

      Standard Voltage

      Tester Connection Condition Specified Condition
      G56-4 (SLP1) - Body ground Always 11 to 14 V

      Result

      Proceed to
      OK
      NG

    Result: 

    NG 

    See step  15

    Result: 

    OK 

    See step  13

  13. READ VALUE USING TECHSTREAM (STEERING UNLOCK) 
    1. Check that the steering is locked.
    2. Enter the following menus: Body Electrical / Smart Key / Data List.
    3. Read the Data List according to the display on the Techstream.

      Body Electrical > Smart Key > Data List 

      Tester Display Measurement Item Range Normal Condition Diagnostic Note
      Steering Unlock Steering lock ECU (steering lock actuator with ECU assembly) unlock confirmation status Unset or Set Unset: Unlock not confirmed
      Set: Unlock confirmed
      When Unset is displayed, the steering is not unlocked (the engine cannot be started).

      Body Electrical > Smart Key > Data List 

      Tester Display
      Steering Unlock

      OK

      Set is displayed on the Techstream.

      Result

      Proceed to
      OK
      NG

    Result: 

    NG 

    REPLACE STEERING LOCK ECU (STEERING LOCK ACTUATOR WITH ECU ASSEMBLY). Refer to  DISASSEMBLY [11/2018 - 12/2021] 

    Result: 

    OK 

    See step  14

  14. READ VALUE USING TECHSTREAM (UNLOCK REQUEST RECEIVE) 
    1. Replace the certification ECU (smart key ECU assembly) with a new one.

      Refer to REMOVAL [08/2020 - 12/2021]

    2. Perform registration.

      HINT: 

      Refer to Registration.

      Refer to REGISTRATION [08/2020 - 12/2021]

    3. Enter the following menus: Body Electrical / Smart Key / Data List.
    4. Read the Data List according to the display on the Techstream.

      Body Electrical > Smart Key > Data List 

      Tester Display Measurement Item Range Normal Condition Diagnostic Note
      Unlock Request Receive Status of steering unlock command from certification ECU (smart key ECU assembly) OK or NG OK: Unlock request signal received within 10 seconds of engine switch being turned on (IG) or on (ACC) or of an engine start operation being performed
      NG: Engine switch not turned on (IG) or on (ACC) and engine start operation not being performed
      • The engine cannot be started when an unlock request signal cannot be received.
      • If OK is not displayed even though the steering unlock conditions are met, the certification ECU (smart key ECU assembly) may be malfunctioning.

      Body Electrical > Smart Key > Data List 

      Tester Display
      Unlock Request Receive

      OK

      Within 10 seconds of turning the engine switch on (ACC) or on (IG) or starting the engine, the Data List item changes to "OK".

      Result

      Proceed to
      OK
      NG

    Result: 

    OK 

    END (CERTIFICATION ECU (SMART KEY ECU ASSEMBLY) WAS DEFECTIVE) 

    Result: 

    NG 

    REPLACE STEERING LOCK ECU (STEERING LOCK ACTUATOR WITH ECU ASSEMBLY). Refer to  DISASSEMBLY [11/2018 - 12/2021] 

  15. CHECK HARNESS AND CONNECTOR (CERTIFICATION ECU (SMART KEY ECU ASSEMBLY) - STEERING LOCK ECU (STEERING LOCK ACTUATOR WITH ECU ASSEMBLY)) 
    1. Disconnect the G56 steering lock ECU (steering lock actuator with ECU assembly) connector.
    2. Disconnect the G54 certification ECU (smart key ECU assembly) connector.
    3. Measure the resistance according to the value(s) in the table below.

      Standard Resistance

      Tester Connection Condition Specified Condition
      G56-4 (SLP1) - G54-14 (SLP) Always Below 1 Ω
      G56-4 (SLP1) or G54-14 (SLP) - Other terminals and body ground Always 10 kΩ or higher

      Result

      Proceed to
      OK
      NG

    Result: 

    NG 

    REPAIR OR REPLACE HARNESS OR CONNECTOR 

    Result: 

    OK 

    See step  16

  16. READ VALUE USING TECHSTREAM (UNLOCK REQUEST RECEIVE) 
    1. Replace the steering lock ECU (steering lock actuator with ECU assembly) with a new one.

      Refer to DISASSEMBLY [11/2018 - 12/2021]

    2. Perform registration.

      HINT: 

      Refer to Registration.

      Refer to REGISTRATION [08/2020 - 12/2021]

    3. Enter the following menus: Body Electrical / Smart Key / Data List.
    4. Read the Data List according to the display on the Techstream.

      Body Electrical > Smart Key > Data List 

      Tester Display Measurement Item Range Normal Condition Diagnostic Note
      Unlock Request Receive Status of steering unlock command from certification ECU (smart key ECU assembly) OK or NG OK: Unlock request signal received within 10 seconds of engine switch being turned on (IG) or on (ACC) or of an engine start operation being performed
      NG: Engine switch not turned on (IG) or on (ACC) and engine start operation not being performed
      • The engine cannot be started when an unlock request signal cannot be received.
      • If OK is not displayed even though the steering unlock conditions are met, the certification ECU (smart key ECU assembly) may be malfunctioning.

      Body Electrical > Smart Key > Data List 

      Tester Display
      Unlock Request Receive

      OK

      Within 10 seconds of turning the engine switch on (ACC) or on (IG) or starting the engine, the Data List item changes to "OK".

      Result

      Proceed to
      OK
      NG

    Result: 

    OK 

    END (STEERING LOCK ECU (STEERING LOCK ACTUATOR WITH ECU ASSEMBLY) WAS DEFECTIVE) 

    Result: 

    NG 

    REPLACE CERTIFICATION ECU (SMART KEY ECU ASSEMBLY). Refer to  REMOVAL [08/2020 - 12/2021]