LEMON Manuals: Even more car manuals for everyone: 1960-2025
Home >> Toyota >> 2021 >> RAV4 LE, AWD >> Repair and Diagnosis (Single Page) >> Accessories & Equipment >> Infotainment >> Navigation System - Diagnostic Codes (1 Of 2) >> Navigation System >> DTC B1543: Extension Module Disconnected 2 [11/2018 - 08/2020] >> Procedure
April 5, 2026: LEMON Manuals is launched! Read the announcement.

DTC B1543: Extension Module Disconnected 2 [11/2018 - 08/2020]: Procedure

  1. CHECK MAP SCREEN 
    1. Turn the ignition switch to ACC and wait for 90 seconds.
    2. Press the "MAP" switch and check that the map screen is displayed normally.

      Result

      Result Proceed to
      Map screen is displayed normally A
      Map screen is not displayed normally B

      HINT: 

      • This DTC may be stored due to environmental reasons such as electrical noise or interference.
      • Clear past DTCs when the map screen is displayed normally. (Codes stored due to past environmental factors)

    Result: 

    USE SIMULATION METHOD TO CHECK. Refer to  HOW TO PROCEED WITH TROUBLESHOOTING [11/2018 - ] 

    Result: 

    See step  2

  2. CHECK DTC 
    1. Clear the DTCs.

      Refer to DTC CHECK / CLEAR [11/2018 - 10/2019] , or refer to DTC CHECK / CLEAR [10/2019 - 10/2022]

      Body Electrical > Navigation System > Clear DTCs 

    2. Turn the ignition switch off.
    3. Turn the ignition switch to ON and wait for 90 seconds.
    4. Recheck for DTCs and check that no DTCs are output.

      Refer to DTC CHECK / CLEAR [11/2018 - 10/2019] , or refer to DTC CHECK / CLEAR [10/2019 - 10/2022]

      Body Electrical > Navigation System > Trouble Codes 

      OK

      No DTCs are output.

      Result

      Proceed to
      OK
      NG

    Result: 

    OK 

    USE SIMULATION METHOD TO CHECK. Refer to  HOW TO PROCEED WITH TROUBLESHOOTING [11/2018 - ] 

    Result: 

    NG 

    See step  3

  3. CHECK HARNESS AND CONNECTOR (NAVIGATION ECU - BATTERY AND BODY GROUND) 
    1. *1: Only for models with the vehicle identification number on the certification label ending with the character A.

      *2: Except models with the vehicle identification number on the certification label ending with the character A.

    1. Disconnect the navigation ECU connector.
      GTY865436Courtesy of © TOYOTA, LICENSE AGREEMENT TMS1002
      *A Only for models with the vehicle identification number on the certification label ending with the character A.
      *B Except models with the vehicle identification number on the certification label ending with the character A.
      *a Front view of wire harness connector
      (to Navigation ECU)
    2. Measure the resistance according to the value(s) in the table below.

      Standard Resistance

      Tester Connection Condition Specified Condition
      G15-23 (GND) - Body ground*1 Always Below 1 Ω
      H7-23 (GND) - Body ground*2 Always Below 1 Ω
    3. Measure the voltage according to the value(s) in the table below.

      Standard Voltage

      Tester Connection Switch Condition Specified Condition
      G15-10 (+B) - Body ground*1 Ignition switch off 11 to 14 V
      H7-10 (+B) - Body ground*2 Ignition switch off 11 to 14 V

      Result

      Proceed to
      OK
      NG

    Result: 

    NG 

    REPAIR OR REPLACE HARNESS OR CONNECTOR 

    Result: 

    OK 

    See step  4

  4. CHECK NO. 2 NAVIGATION WIRE (NAVIGATION ECU - NO. 1 NAVIGATION WIRE) 
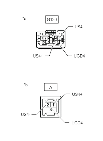
    1. Disconnect the G120 navigation ECU connector.
      GTY872757Courtesy of © TOYOTA, LICENSE AGREEMENT TMS1002
      *a Front view of wire harness connector
      (to Navigation ECU)
      *b Front view of wire harness connector
      (to No. 1 Navigation Wire)
    2. Disconnect the A No. 1 navigation wire connector.
    3. Measure the resistance according to the value(s) in the table below.

      Standard Resistance

      Tester Connection Condition Specified Condition
      G120-4 (US4+) - A-1 (US4+) Always Below 1 Ω
      G120-5 (US4-) - A-2 (US4-) Always Below 1 Ω
      G120-6 (UGD4) - A-3 (UGD4) Always Below 1 Ω

      Result

      Proceed to
      OK
      NG

    Result: 

    NG 

    REPLACE NO. 2 NAVIGATION WIRE. Refer to  REMOVAL [11/2018 - 10/2019]  , or refer to  REMOVAL [10/2019 - 10/2022] 

    Result: 

    OK 

    See step  5

  5. CHECK NO. 1 NAVIGATION WIRE (NO. 2 NAVIGATION WIRE - RADIO AND DISPLAY RECEIVER ASSEMBLY) 
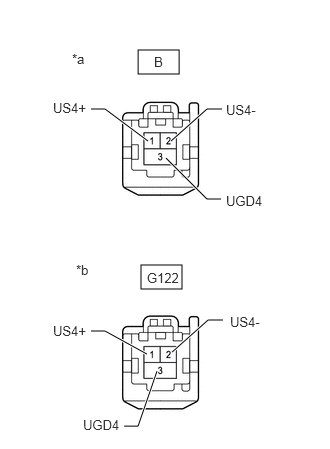
    1. Disconnect the B No. 2 navigation wire connector.
      GTY935355Courtesy of © TOYOTA, LICENSE AGREEMENT TMS1002
      *a Front view of wire harness connector
      (to No. 2 Navigation Wire)
      *b Front view of wire harness connector
      (to Radio and Display Receiver Assembly)
    2. Disconnect the G122 radio and display receiver assembly connector.
    3. Measure the resistance according to the value(s) in the table below.

      Standard Resistance

      Tester Connection Condition Specified Condition
      B-1 (US4+) - G122-1 (US4+) Always Below 1 Ω
      B-2 (US4-) - G122-2 (US4-) Always Below 1 Ω
      B-3 (UGD4) - G122-3 (UGD4) Always Below 1 Ω

      Result

      Proceed to
      OK
      NG

    Result: 

    NG 

    REPLACE NO. 1 NAVIGATION WIRE. Refer to  DISASSEMBLY [11/2018 - 12/2021] 

    Result: 

    OK 

    See step  6

  6. REPLACE NAVIGATION ECU 
    1. Replace the navigation ECU with a new one.

      Refer to REMOVAL [11/2018 - 10/2019] , or refer to REMOVAL [10/2019 - 10/2022]

      Result

      Proceed to
      NEXT

    Result: 

    NEXT 

    See step  7

  7. CHECK DTC 
    1. Clear the DTCs.

      Refer to DTC CHECK / CLEAR [11/2018 - 10/2019] , or refer to DTC CHECK / CLEAR [10/2019 - 10/2022]

      Body Electrical > Navigation System > Clear DTCs 

    2. Turn the ignition switch off.
    3. Turn the ignition switch to ON and wait for 90 seconds.
    4. Recheck for DTCs and check that no DTCs are output.

      Refer to DTC CHECK / CLEAR [11/2018 - 10/2019] , or refer to DTC CHECK / CLEAR [10/2019 - 10/2022]

      Body Electrical > Navigation System > Trouble Codes 

      OK

      No DTCs are output.

      Result

      Proceed to
      OK
      NG

    Result: 

    OK 

    END (NAVIGATION ECU IS DEFECTIVE) 

    Result: 

    NG 

    REPLACE RADIO AND DISPLAY RECEIVER ASSEMBLY. Refer to  REMOVAL [11/2018 - 10/2022]