LEMON Manuals: Even more car manuals for everyone: 1960-2025
Home >> Toyota >> 2021 >> RAV4 LE, AWD >> Repair and Diagnosis (Single Page) >> Transmission >> Transfer Case >> Transfer Case System (GF1A) - Service Information >> Transfer Assembly >> Components [11/2018 - ]
April 5, 2026: LEMON Manuals is launched! Read the announcement.

Components [11/2018 - ]

Fig 1: Transfer Assembly Replacement Components With Torque Specifications (1 Of 3)
GTY895878Courtesy of © TOYOTA, LICENSE AGREEMENT TMS1002
Callout Description Callout Description
*A for Type A *B for Type B
*1 NO. 1 PROPELLER SHAFT HEAT INSULATOR BRACKET SUB-ASSEMBLY *2 PROPELLER SHAFT HEAT INSULATOR
*3 REAR ENGINE MOUNTING BRACKET SUB-ASSEMBLY *4 REAR ENGINE MOUNTING INSULATOR
*5 TRANSFER AND TRANSAXLE SETTING STUD BOLT *6 TRANSFER ASSEMBLY
*7 WIRE HARNESS CLAMP BRACKET - -
Tightening torque for "Major areas involving basic vehicle performance such as moving/turning/stopping": N.m (kgf/cm, ft.lbf) N.m (kgf/cm, ft.lbf): Specified torque
* For use with SST and union nut wrench Non-reusable part
Adhesive 1324 * Precoated part
Fig 2: Transfer Assembly Replacement Components With Torque Specifications (2 Of 3)
GTY934828Courtesy of © TOYOTA, LICENSE AGREEMENT TMS1002
Callout Description Callout Description
*1 NO. 1 TRANSFER CASE COVER *2 NO. 1 TRANSFER CASE PLUG
*3 RING GEAR MOUNTING CASE BEARING LH *4 RING GEAR MOUNTING CASE BEARING RH
*5 SHAFT SNAP RING *6 TRANSFER CASE OIL SEAL RH
*7 TRANSFER RING GEAR *8 TRANSFER RING GEAR MOUNTING CASE
*9 GASKET *10 NO. 2 TRANSFER RING GEAR MOUNTING CASE WASHER
*11 NO. 1 RING GEAR MOUNTING CASE WASHER *12 TRANSFER CASE
Tightening torque for "Major areas involving basic vehicle performance such as moving/turning/stopping": N.m (kgf/cm, ft.lbf) MP grease
Non-reusable part - -
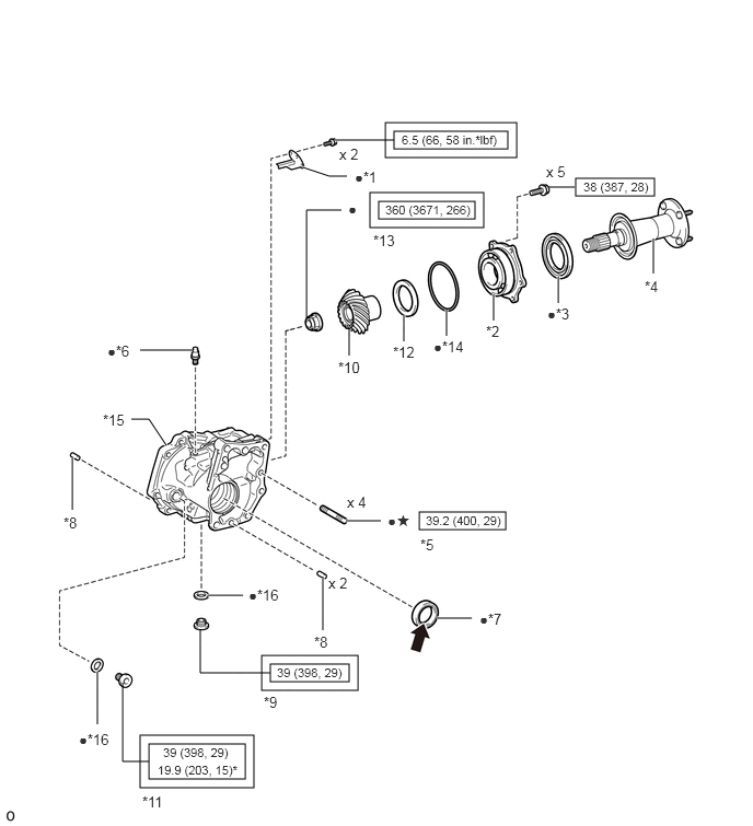
Fig 3: Transfer Assembly Replacement Components With Torque Specifications (3 Of 3)
GTY882829Courtesy of © TOYOTA, LICENSE AGREEMENT TMS1002
Callout Description Callout Description
*1 BREATHER OIL DEFLECTOR *2 FRONT TRANSFER DRIVEN PINION BEARING
*3 REAR TRANSFER OUTPUT SHAFT DUST DEFLECTOR *4 REAR TRANSFER OUTPUT SHAFT SUB-ASSEMBLY
*5 TRANSFER AND TRANSAXLE SETTING STUD BOLT *6 TRANSFER CASE BREATHER PLUG
*7 TRANSFER CASE OIL SEAL *8 TRANSFER CASE STRAIGHT PIN
*9 TRANSFER DRAIN PLUG *10 TRANSFER DRIVEN PINION
*11 TRANSFER FILLER PLUG *12 TRANSFER OUTPUT SHAFT WASHER
*13 TRANSFER GEAR NUT *14 O-RING
*15 TRANSFER CASE *16 GASKET
Tightening torque for "Major areas involving basic vehicle performance such as moving/turning/stopping": N.m (kgf/cm, ft.lbf) N.m (kgf/cm, ft.lbf): Specified torque
* For use with SST and union nut wrench Non-reusable part
MP grease * Precoated part