LEMON Manuals: Even more car manuals for everyone: 1960-2025
Home >> Toyota >> 2021 >> RAV4 LE, AWD >> Repair and Diagnosis >> External Pages >> Different variant/trim >> Section 23 (Smart Key System (For Start, HV) - Diagnostics - Introduction (1 Of 2)) >> SMART KEY SYSTEM (for Start Function, HV Model) >> System Diagram [10/2022 - ] >> System Diagram [10/2022 - ]
April 5, 2026: LEMON Manuals is launched! Read the announcement.

System Diagram [10/2022 - ]

WARNING: This page is about a different variant/trim than selected.
  1. SMART KEY SYSTEM (for Start Function) 
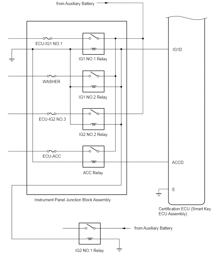
    Fig 1: Smart Key System Diagram (For Start Function) (1 Of 4)
    GTY871964Courtesy of © TOYOTA, LICENSE AGREEMENT TMS1002
    Fig 2: Smart Key System Diagram (For Start Function) (2 Of 4)
    GTY1116451Courtesy of © TOYOTA, LICENSE AGREEMENT TMS1002
    Fig 3: Smart Key System Diagram (For Start Function) (3 Of 4)
    GTY1121937Courtesy of © TOYOTA, LICENSE AGREEMENT TMS1002
    Fig 4: Smart Key System Diagram (For Start Function) (4 Of 4)
    GTY881051Courtesy of © TOYOTA, LICENSE AGREEMENT TMS1002
  2. SMART KEY SYSTEM (for Entry Function) 

    Refer to SYSTEM DIAGRAM [02/2019 - 10/2023] , or refer to SYSTEM DIAGRAM [10/2023 - ]