LEMON Manuals: Even more car manuals for everyone: 1960-2025
Home >> Toyota >> 2021 >> Sequoia TRD Pro >> Repair and Diagnosis (Single Page) >> Accessories & Equipment >> Infotainment >> Navigation System - Circuit & Symptom Tests >> Navigation System >> Vehicle Speed Signal Circuit between Stereo Component Amplifier and Combination Meter [08/2017 - 08/2019] >> Procedure
April 5, 2026: LEMON Manuals is launched! Read the announcement.

Vehicle Speed Signal Circuit between Stereo Component Amplifier and Combination Meter [08/2017 - 08/2019]: Procedure

  1. CHECK COMBINATION METER ASSEMBLY (OUTPUT WAVEFORM) 
    1. Check the output waveform.
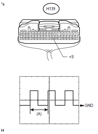
      GTY759051Courtesy of © TOYOTA, LICENSE AGREEMENT TMS1002
      1. Remove the combination meter assembly with the connector(s) still connected.
      2. Connect an oscilloscope to terminal H139-29 (+S) and body ground.
      3. Turn the ignition switch to ON.
      4. Turn a wheel slowly.
      5. Check the signal waveform according to the condition(s) in the table below.
        Item Condition
        Measurement terminal H139-29 (+S) - Body ground
        Tool setting 5 V/DIV., 20 ms./DIV.
        Vehicle condition Wheel being rotated

        OK

        The waveform is similar to that shown in the illustration.

        HINT: 

        When the system is functioning normally, one wheel revolution generates 4 pulses. As the vehicle speed increases, the width indicated by (A) in the illustration narrows.

        TEXT IN ILLUSTRATION

        *a Component with harness connected
        (Combination Meter Assembly)

    Result: 

    NG 

    GO TO METER / GAUGE SYSTEM 

    (Refer to HOW TO PROCEED WITH TROUBLESHOOTING [08/2015 - ] )

    Result: 

    OK 

    See step  2

  2. CHECK HARNESS AND CONNECTOR (STEREO COMPONENT AMPLIFIER ASSEMBLY - COMBINATION METER ASSEMBLY) 
    1. Disconnect the H162 stereo component amplifier assembly connector.
    2. Disconnect the H139 combination meter assembly connector.
    3. Measure the resistance according to the value(s) in the table below.

      Standard Resistance

      Tester Connection Condition Specified Condition
      H162-11 (SPD) - H139-29 (+S) Always Below 1 Ω
      H162-11 (SPD) - Body ground Always 10 kΩ or higher

    Result: 

    OK 

    PROCEED TO NEXT SUSPECTED AREA SHOWN IN PROBLEM SYMPTOMS TABLE 

    (Refer to PROBLEM SYMPTOMS TABLE [08/2017 - 08/2019] )

    Result: 

    NG 

    REPAIR OR REPLACE HARNESS OR CONNECTOR