LEMON Manuals: Even more car manuals for everyone: 1960-2025
Home >> Toyota >> 2021 >> Sequoia TRD Pro >> Repair and Diagnosis (Single Page) >> Accessories & Equipment >> Wiper/Washer Systems >> Wiper System / Washer System - Diagnostics & Circuit Tests >> Wiper And Washer System >> Washer Motor Circuit [08/2017 - 08/2019] >> Procedure
April 5, 2026: LEMON Manuals is launched! Read the announcement.

Washer Motor Circuit [08/2017 - 08/2019]: Procedure

  1. PERFORM ACTIVE TEST USING TECHSTREAM (REAR WIPER WASHER) 
    1. Connect the Techstream to the DLC3.
    2. Turn the ignition switch to ON.
    3. Turn the Techstream on.
    4. Enter the following menus: Body Electrical / Main Body / Active Test.
    5. According to the display on the Techstream, perform the Active Test.
      MAIN BODY

      Tester Display Test Part Control Range Diagnostic Note
      Rear Wiper Washer Motor Relay Rear Wiper Washer motor operation ON/OFF -

      OK

      Rear washer motor operates.

    Result: 

    OK 

    PROCEED TO NEXT CIRCUIT INSPECTION SHOWN IN PROBLEM SYMPTOMS TABLE 

    (Refer to PROBLEM SYMPTOMS TABLE [08/2017 - 08/2019] )

    Result: 

    NG 

    See step  2

  2. CHECK HARNESS AND CONNECTOR (BATTERY - REAR WASHER MOTOR) 
    1. Disconnect the rear washer motor and pump assembly connector.
      GTY749924Courtesy of © TOYOTA, LICENSE AGREEMENT TMS1002
      *a Front view of wire harness connector
      (to Rear Washer Motor and Pump Assembly)
    2. Measure the voltage according to the value(s) in the table below.

      Standard Voltage

      Tester Connection Switch Condition Specified Condition
      A42-1 - Body ground Ignition switch ON and rear washer switch OFF Below 1 V
      Ignition switch ON and rear washer switch ON 11 to 14 V
    3. Reconnect the rear washer motor and pump assembly connector.

    Result: 

    NG 

    See step  4

    Result: 

    OK 

    See step  3

  3. INSPECT REAR WASHER MOTOR AND PUMP ASSEMBLY 
    1. Remove the rear washer motor and pump assembly.
      GTY760550Courtesy of © TOYOTA, LICENSE AGREEMENT TMS1002
      *a Component without harness connected
      (Rear Washer Motor and Pump Assembly)
    2. Connect the battery positive (+) lead to terminal 1 and the negative (-) lead to terminal 2.
    3. Check that the rear washer motor operates.

      OK

      Rear washer motor operates.

    4. Reinstall the rear washer motor and pump assembly.

    Result: 

    OK 

    REPAIR OR REPLACE HARNESS AND CONNECTOR (REAR WASHER MOTOR - BODY GROUND) 

    Result: 

    NG 

    REPLACE REAR WASHER MOTOR AND PUMP ASSEMBLY 

    (Refer to REMOVAL [08/2017 - ] )

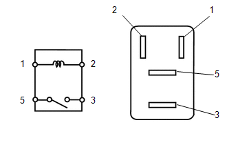
  4. INSPECT REAR WASHER RELAY 
    1. Remove the REAR WASHER relay from the engine room relay block.
      GTY215980Courtesy of © TOYOTA, LICENSE AGREEMENT TMS1002
    2. Measure the resistance according to the value(s) in the table below.

      Standard Resistance

      Tester Connection Condition Specified Condition
      3 - 5 Battery voltage is not applied to terminals 1 and 2 10 kΩ or higher
      Battery voltage is applied to terminals 1 and 2 Below 1 Ω
    3. Reinstall theREAR WASHER relay.

    Result: 

    NG 

    REPLACE REAR WASHER RELAY 

    Result: 

    OK 

    See step  5

  5. CHECK HARNESS AND CONNECTOR (REAR WASHER RELAY - BATTERY) 
    1. Remove the REAR WASHER relay from the engine room relay block.
      GTY757232Courtesy of © TOYOTA, LICENSE AGREEMENT TMS1002
      *a Front view of wire harness connector
      (to REAR WASHER Relay)
    2. Measure the voltage according to the value(s) in the table below.

      Standard Voltage

      Tester Connection Switch Condition Specified Condition
      REAR WASHER relay terminal 1 - Body ground Ignition switch ON 11 to 14 V
      REAR WASHER relay terminal 3 - Body ground Ignition switch ON 11 to 14 V
    3. Reinstall the REAR WASHER relay.

    Result: 

    NG 

    REPAIR OR REPLACE HARNESS OR CONNECTOR 

    Result: 

    OK 

    See step  6

  6. CHECK HARNESS AND CONNECTOR (REAR WASHER RELAY - REAR WASHER MOTOR) 
    1. Remove the REAR WASHER relay from the engine room relay block.
    2. Disconnect the A42 rear washer motor and pump assembly connector.
    3. Measure the resistance according to the value(s) in the table below.

      Standard Resistance

      Tester Connection Condition Specified Condition
      REAR WASHER relay terminal 5 - A42-1 Always Below 1 Ω
      REAR WASHER relay terminal 5 or A42-1 - Body ground Always 10 kΩ or higher
    4. Reinstall the REAR WASHER relay.
    5. Reconnect the rear washer motor and pump assembly connector.

    Result: 

    NG 

    REPAIR OR REPLACE HARNESS OR CONNECTOR 

    Result: 

    OK 

    See step  7

  7. CHECK HARNESS AND CONNECTOR (REAR WASHER RELAY - MAIN BODY ECU [MULTIPLEX NETWORK BODY ECU]) 
    1. Remove the REAR WASHER relay from the engine room relay block.
    2. Disconnect the H131 main body ECU (multiplex network body ECU) connector.
    3. Measure the resistance according to the value(s) in the table below.

      Standard Resistance

      Tester Connection Condition Specified Condition
      REAR WASHER relay terminal 2 - H131-19 (RWMR) Always Below 1 Ω
      REAR WASHER relay terminal 2 or H131-19 (RWMR) - Body ground Always 10 kΩ or higher
    4. Reinstall the REAR WASHER relay.
    5. Reconnect the main body ECU (multiplex network body ECU) connector.

    Result: 

    NG 

    REPAIR OR REPLACE HARNESS OR CONNECTOR 

    Result: 

    OK 

    See step  8

  8. CHECK HARNESS AND CONNECTOR (REAR WASHER MOTOR - BODY GROUND) 
    1. Disconnect the rear washer motor and pump assembly connector.
      GTY749924Courtesy of © TOYOTA, LICENSE AGREEMENT TMS1002
      *a Front view of wire harness connector
      (to Rear Washer Motor and Pump Assembly)
    2. Measure the resistance according to the value(s) in the table below.

      Standard Resistance

      Tester Connection Condition Specified Condition
      A42-2 - Body ground Always Below 1 Ω
    3. Reconnect the rear washer motor and pump assembly connector.

    Result: 

    OK 

    REPLACE MAIN BODY ECU (MULTIPLEX NETWORK BODY ECU). Refer to  REMOVAL [08/2017 - 08/2019] 

    Result: 

    NG 

    REPAIR OR REPLACE HARNESS OR CONNECTOR