LEMON Manuals: Even more car manuals for everyone: 1960-2025
Home >> Toyota >> 2021 >> Sequoia TRD Pro >> Repair and Diagnosis (Single Page) >> Body & Frame >> Windows >> Power Window Control System - Diagnostic Codes & Symptom Tests >> Power Window Control System >> Driver Side Power Window does not Operate with Power Window Master Switch [08/2019 - ] >> Procedure
April 5, 2026: LEMON Manuals is launched! Read the announcement.

Driver Side Power Window does not Operate with Power Window Master Switch [08/2019 - ]: Procedure

  1. CHECK LIN COMMUNICATION SYSTEM 
    1. Check for LIN communication system DTCs related to the power window control system (Refer to DTC CHECK / CLEAR [08/2019 - ] ).

      OK

      LIN communication system DTCs are not output.

    Result: 

    NG 

    GO TO LIN COMMUNICATION SYSTEM 

    (Refer to DIAGNOSTIC TROUBLE CODE CHART [08/2019 - ] )

    Result: 

    OK 

    See step  2

  2. CHECK DTC (B2312) 
    1. Check if DTC B2312 is output (Refer to DTC CHECK / CLEAR [08/2019 - ] ).

      OK

      DTC B2312 is not output.

    Result: 

    NG 

    GO TO DTC (B2312) 

    (Refer to DTC B2312: Power Window Switch Malfunction [08/2019 - ] )

    Result: 

    OK 

    See step  3

  3. READ VALUE USING TECHSTREAM (D-DOOR MOTOR) 
    1. Connect the Techstream to the DLC3.
    2. Turn the engine switch on (IG).
    3. Turn the Techstream on.
    4. Enter the following menus: Body Electrical / D-Door Motor / Data List.
    5. According to the display on the Techstream, read the Data List.
      D-DOOR MOTOR

      Tester Display Measurement Item/Range Normal Condition Diagnostic Note
      D Door P/W Up SW Driver side power window MANUAL UP switch signal / ON or OFF ON: Driver side power window manual UP switch operated
      OFF: Driver side power window switch not operated
      -
      D Door P/W Down SW Driver side power window MANUAL DOWN switch signal / ON or OFF ON: Driver side power window manual DOWN switch operated
      OFF: OFF: Driver side power window switch not operated
      -

      OK

      The Techstream display changes normally when the master switch is operated.

    Result: 

    OK 

    REPLACE FRONT POWER WINDOW REGULATOR MOTOR ASSEMBLY LH 

    (Refer to REMOVAL [08/2019 - ] )

    Result: 

    NG 

    See step  4

  4. CHECK HARNESS AND CONNECTOR (POWER WINDOW REGULATOR MASTER SWITCH ASSEMBLY - BATTERY AND BODY GROUND) 
    1. Disconnect the power window regulator master switch assembly connector.
      GTY752451Courtesy of © TOYOTA, LICENSE AGREEMENT TMS1002
      *a Front view of wire harness connector
      (to Power Window Regulator Master Switch Assembly)
    2. Measure the voltage and resistance according to the value(s) in the table below.

      Standard Voltage

      Tester Connection Condition Specified Condition
      M2-3 (B) - Body ground Always 11 to 14 V
      M2-13 (B) - Body ground Engine switch on (IG) 11 to 14 V

      Standard Resistance

      Tester Connection Condition Specified Condition
      M2-1 (E) - Body ground Always Below 1 Ω
    3. Reconnect the power window regulator master switch assembly connector.

    Result: 

    NG 

    REPAIR OR REPLACE HARNESS OR CONNECTOR 

    Result: 

    OK 

    See step  5

  5. CHECK HARNESS AND CONNECTOR (FRONT POWER WINDOW REGULATOR MOTOR ASSEMBLY LH - BATTERY AND BODY GROUND) 
    1. Disconnect the front power window regulator motor assembly LH connector.
      GTY746296Courtesy of © TOYOTA, LICENSE AGREEMENT TMS1002
      *a Front view of wire harness connector
      (to Front Power Window Regulator Motor Assembly LH)
    2. Measure the voltage and resistance according to the value(s) in the table below.

      Standard Voltage

      Tester Connection Condition Specified Condition
      M3-2 (B) - Body ground Always 11 to 14 V

      Standard Resistance

      Tester Connection Condition Specified Condition
      M3-1 (GND) - Body ground Always Below 1 Ω
    3. Reconnect the front power window regulator motor assembly LH connector.

    Result: 

    NG 

    REPAIR OR REPLACE HARNESS OR CONNECTOR 

    Result: 

    OK 

    See step  6

  6. CHECK HARNESS AND CONNECTOR (POWER WINDOW REGULATOR MASTER SWITCH - FRONT POWER WINDOW REGULATOR MOTOR LH) 
    1. Disconnect the M2 power window regulator master switch assembly connector.
    2. Disconnect the M3 front power window regulator motor assembly LH connector.
    3. Measure the resistance according to the value(s) in the table below.

      Standard Resistance

      Tester Connection Condition Specified Condition
      M2-4 (UP) - M3-10 (UP) Always Below 1 Ω
      M2-5 (DOWN) - M3-7 (DOWN) Always Below 1 Ω
      M2-4 (UP) - Body ground Always 10 kΩ or higher
      M2-5 (DOWN) - Body ground Always 10 kΩ or higher
    4. Reconnect the front power window regulator motor assembly LH connector.
    5. Reconnect the power window regulator master switch assembly connector.

    Result: 

    NG 

    REPAIR OR REPLACE HARNESS OR CONNECTOR 

    Result: 

    OK 

    See step  7

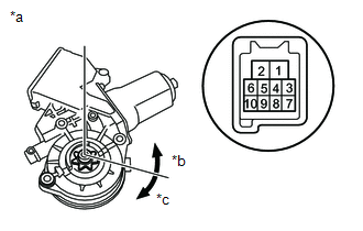
  7. INSPECT FRONT POWER WINDOW REGULATOR MOTOR ASSEMBLY LH 
    1. Remove the front power window regulator motor assembly LH (Refer to REMOVAL [08/2019 - ] ).
      GTY754876Courtesy of © TOYOTA, LICENSE AGREEMENT TMS1002
      *a Component without harness connected
      (Front Power Window Regulator Motor Assembly LH)
      *b Counterclockwise
      *c Clockwise
    2. Apply positive (+) battery voltage to the connector terminal 2(B).
      NOTE:
      • Do not apply positive (+) battery voltage to any terminals except terminal 2(B), to avoid damaging the pulse sensor inside the motor.
      • Reset the power window regulator motor (initialize the pulse sensor) after installing the power window regulator motor and regulator assembly onto the door.
    3. Apply negative (-) battery voltage to the connector terminals 1(GND) and 7 (DOWN) / 10(UP).
    4. Check that the motor gear rotates smoothly as follows.

      OK

      Measurement Condition Specified Condition
      Battery positive (+) → 2 (B)
      Battery negative (-) → (-): 1(GND) (3 sec. or more) → 1(GND) and 10(UP) (within 1 sec.) → 1(GND) (within 1 sec.) → 1(GND) and 10(UP)
      Motor gear rotates clockwise
      Battery positive (+) → 2 (B)
      Battery negative (-): 1(GND) (3 sec. or more) → 1(GND) and 7(DOWN) (within 1 sec.) → 1(GND) (within 1 sec.) → 1(GND) and 7(DOWN)
      Motor gear rotates counterclockwise
    5. Reinstall the front power window regulator motor assembly LH.

    Result: 

    OK 

    REPLACE POWER WINDOW REGULATOR MASTER SWITCH ASSEMBLY 

    (Refer to REMOVAL [08/2015 - ] )

    Result: 

    NG 

    REPLACE FRONT POWER WINDOW REGULATOR MOTOR ASSEMBLY LH 

    (Refer to REMOVAL [08/2019 - ] )