LEMON Manuals: Even more car manuals for everyone: 1960-2025
Home >> Toyota >> 2021 >> Venza LE >> Repair and Diagnosis (Single Page) >> Body & Frame >> Door Locks >> Smart Key System (For Start Function) - Diagnostic Codes & Symptom Tests (1 Of 2) >> SMART KEY SYSTEM (for Start Function) >> DTC B2799-86: Engine Immobiliser System Signal (Some Circuit Quantity, Reported via Serial Data) Invalid [07/2020 - ] >> Procedure
April 5, 2026: LEMON Manuals is launched! Read the announcement.

DTC B2799-86: Engine Immobiliser System Signal (Some Circuit Quantity, Reported via Serial Data) Invalid [07/2020 - ]: Procedure

  1. REGISTER ECU COMMUNICATION ID 
    1. Register the ECU communication ID code.

      Refer to REGISTRATION [07/2020 - 12/2021] , or refer to REGISTRATION [12/2021 - ]

      Result

      Proceed to
      NEXT

    Result: 

    NEXT 

    See step  2

  2. CHECK HYBRID VEHICLE CONTROL ECU (TERMINAL IMO) 
    1. Using an oscilloscope, check the waveform.
      GTY984955Courtesy of © TOYOTA, LICENSE AGREEMENT TMS1002
      *a Component with harness connected
      (Hybrid Vehicle Control ECU)
      *b Waveform
      *c Approximately 160 ms. *d Approximately 270 ms.

      OK

      Tester Connection Condition Tool Setting Specified Condition
      A33-39 (IMO) - Body ground Within 3 seconds of hybrid control system start or within 3 seconds of ignition switch turned to ON after cable disconnected and reconnected to auxiliary battery 2 V/DIV., 500 ms./DIV. Pulse generation
      (See waveform)

      Result

      Result Proceed to
      Normal waveform A
      Terminal IMO stuck low (2.4 V or less) B
      Waveform not output, has abnormal wavelength or shape or Terminal IMO stuck high (12V) C

    Result: 

    See step  6

    Result: 

    See step  8

    Result: 

    See step  3

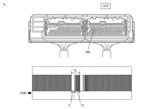
  3. CHECK HYBRID VEHICLE CONTROL ECU (TERMINAL IMI) 
    1. Using an oscilloscope, check the waveform.
      GTY985638Courtesy of © TOYOTA, LICENSE AGREEMENT TMS1002
      *a Component with harness connected
      (Hybrid Vehicle Control ECU)
      *b Waveform
      *c Approximately 160 ms. *d Approximately 270 ms.

      OK

      Tester Connection Condition Tool Setting Specified Condition
      A33-25 (IMI) - Body ground Within 3 seconds of hybrid control system start or within 3 seconds of ignition switch turned to ON after cable disconnected and reconnected to auxiliary battery 2 V/DIV., 500 ms./DIV. Pulse generation
      (See waveform)

      Result

      Proceed to
      OK
      NG

    Result: 

    NG 

    REPLACE ID CODE BOX (IMMOBILISER CODE ECU). Refer to  REMOVAL [07/2020 - 10/2022]  , or refer to  REMOVAL [10/2022 - ] 

    Result: 

    OK 

    See step  4

  4. REGISTER ECU COMMUNICATION ID 
    1. Register the ECU communication ID code.

      Refer to REGISTRATION [07/2020 - 12/2021] , or refer to REGISTRATION [12/2021 - ]

      Result

      Proceed to
      NEXT

    Result: 

    NEXT 

    See step  5

  5. CHECK WHETHER HYBRID CONTROL SYSTEM STARTS 
    1. Using an electrical key transmitter sub-assembly which is registered to the vehicle, turn the ignition switch to ON.
    2. Check that the hybrid control system starts 5 seconds after the ignition switch turned to ON.

      OK

      Hybrid control system starts normally.

      Result

      Proceed to
      OK
      NG

    Result: 

    OK 

    END (ECU COMMUNICATION ID HAS NOT BEEN REGISTERED) 

    Result: 

    NG 

    REPLACE HYBRID VEHICLE CONTROL ECU. Refer to  REMOVAL [07/2020 - 10/2022]  , or refer to  REMOVAL [10/2022 - ] 

  6. CHECK HYBRID VEHICLE CONTROL ECU 
    1. Disconnect the A33 hybrid vehicle control ECU connector.
    2. Measure the voltage according to the value(s) in the table below.

      Standard Voltage

      Tester Connection Condition Specified Condition
      A33-39 (IMO) - Body ground Ignition switch turned to ON using registered electrical key transmitter sub-assembly Terminal IMO stuck low (2.4 V or less)
      Terminal IMO stuck high (12 V) or abnormal waveform

      Result

      Result Proceed to
      Terminal IMO stuck low (2.4 V or less) A
      Terminal IMO stuck high (12 V) or abnormal waveform B

    Result: 

    REPLACE HYBRID VEHICLE CONTROL ECU. Refer to  REMOVAL [07/2020 - 10/2022]  , or refer to  REMOVAL [10/2022 - ] 

    Result: 

    See step  7

  7. CHECK HARNESS AND CONNECTOR (ID CODE BOX (IMMOBILISER CODE ECU) - HYBRID VEHICLE CONTROL ECU) 
    1. Disconnect the E55 ID code box (immobiliser code ECU) connector.
    2. Measure the resistance according to the value(s) in the table below.

      Standard Resistance

      Tester Connection Condition Specified Condition
      E55-3 (EFII) - A33-39 (IMO) Always Below 1 Ω
      E55-3 (EFII) or A33-39 (IMO) - Other terminals and body ground Always 10 kΩ or higher
      A33-25 (IMI) - E55-4 (EFIO) Always Below 1 Ω
      A33-25 (IMI) or E55-4 (EFIO) - Other terminals and body ground Always 10 kΩ or higher

      Result

      Proceed to
      OK
      NG

    Result: 

    OK 

    REPLACE ID CODE BOX (IMMOBILISER CODE ECU). Refer to  REMOVAL [07/2020 - 10/2022]  , or refer to  REMOVAL [10/2022 - ] 

    Result: 

    NG 

    REPAIR OR REPLACE HARNESS OR CONNECTOR 

  8. CHECK HARNESS AND CONNECTOR (ID CODE BOX (IMMOBILISER CODE ECU) - HYBRID VEHICLE CONTROL ECU) 
    1. Disconnect the E55 ID code box (immobiliser code ECU) connector.
    2. Disconnect the A33 hybrid vehicle control ECU connector.
    3. Measure the resistance according to the value(s) in the table below.

      Standard Resistance

      Tester Connection Condition Specified Condition
      A33-39 (IMO) - E55-3 (EFII) Always Below 1 Ω
      A33-39 (IMO) or E55-3 (EFII) - Other terminals and body ground Always 10 kΩ or higher

      Result

      Proceed to
      OK
      NG

    Result: 

    OK 

    REPLACE HYBRID VEHICLE CONTROL ECU. Refer to  REMOVAL [07/2020 - 10/2022]  , or refer to  REMOVAL [10/2022 - ] 

    Result: 

    NG 

    REPAIR OR REPLACE HARNESS OR CONNECTOR