LEMON Manuals: Even more car manuals for everyone: 1960-2025
Home >> Toyota >> 2023 >> GR86 Base, Automatic Trans >> Repair and Diagnosis (Single Page) >> Engine Performance >> System >> Engine Control System - Diagnostic Codes (6 Of 6) & Circuit Tests >> SFI System >> DTC P2270: O2 Sensor Signal Biased/Stuck Lean Bank 1 Sensor 2 [11/2021 - ] >> Monitor Description
April 5, 2026: LEMON Manuals is launched! Read the announcement.

Monitor Description

OUTLINE OF DIAGNOSIS 

Detect the stuck of heated oxygen sensor voltage in lean state.

When heated oxygen sensor voltage remains below the threshold value for predetermined time, diagnosis interrupts target air fuel ratio for control and raises output voltage.

Judge as NG detecting the stuck in lean state when heated oxygen sensor voltage remains below the threshold value even after the interrupt control.

COMPONENT DESCRIPTION 

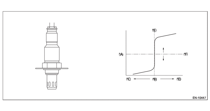
GTY1051996Courtesy of © TOYOTA, LICENSE AGREEMENT TMS1002
*A Electromotive force *B Air fuel ratio
*C Lean *D Rich
*E Theoretical air fuel ratio *F Comparative voltage

EXECUTION CONDITION 

Secondary parameters Execution condition
Battery voltage 10.9 V or higher
Sub feedback In operation
Amount of intake air 10 g/s (0.35 oz/s) or more
Rear oxygen element impedance 185Ω or less
Enable conditions at interrupt control are as follows
Continuous time when heated oxygen sensor output voltage is less than 0.55 V 5 s or more
Air fuel ratio reduced from target air fuel ratio 11%

GENERAL DRIVING CYCLE 

Perform the diagnosis only once after the enable conditions have been established.

DIAGNOSTIC METHOD 

If the duration of time while the following conditions are met is longer than the time indicated, judge as NG.

Judgment value 

Malfunction Criteria Threshold Value
Output voltage of heated oxygen sensor Less than 0.55 V

Time needed for diagnosis 

15 ms

Malfunction indicator light illumination 

Illuminates when malfunction occurs in 2 continuous driving cycles.