LEMON Manuals: Even more car manuals for everyone: 1960-2025
Home >> Toyota >> 2023 >> GR86 Base, Automatic Trans >> Repair and Diagnosis (Single Page) >> Engine Performance >> Testing & Diagnosis >> Engine Control System - Diagnostic Codes (6 Of 6) & Circuit Tests >> SFI System >> DTC P2196: A/F / O2 Sensor Signal Biased/Stuck Rich Bank 1 Sensor 1 [11/2021 - ] >> Monitor Description
April 5, 2026: LEMON Manuals is launched! Read the announcement.

Monitor Description

OUTLINE OF DIAGNOSIS 

Detect that α value remains rich.

Judge as NG when lambda value is determined as abnormal in accordance with driving conditions such as intake air amount, rear oxygen element impedance, main feedback control, and with air fuel ratio sensor α value.

α value = Actual air fuel ratio/Theoretical air fuel ratio
α > 1: Lean
α < 1: Rich

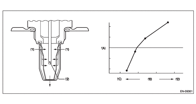
COMPONENT DESCRIPTION 

GTY1051067Courtesy of © TOYOTA, LICENSE AGREEMENT TMS1002
*A Electromotive force *B Air fuel ratio
*C Rich *D Lean
*1 Exhaust gas *2 Zirconia element oxygen

EXECUTION CONDITION 

Secondary parameters Execution condition
Battery voltage 10.9 V or higher
Main feedback In operation
Amount of intake air 6 g/s (0.21oz/s) or more
Rear oxygen element impedance 185 Ω or less

GENERAL DRIVING CYCLE 

Perform the diagnosis continuously after the enable conditions have been established.

DIAGNOSTIC METHOD 

If the duration of time while the following conditions are met is longer than the time indicated, judge as NG.

Judgment value 

Malfunction Criteria Threshold Value
α value Less than 0.85
Output voltage value of heated oxygen sensor Less than 0.15V

Time needed for diagnosis 

10000 ms

Malfunction indicator light illumination 

Illuminates when malfunction occurs in 2 continuous driving cycles.