LEMON Manuals: Even more car manuals for everyone: 1960-2025
Home >> Toyota >> 2023 >> Prius LE >> Repair and Diagnosis (Single Page) >> Transmission >> Transmission Control Systems >> Electronic A/T Shift Lever System - Diagnostic Codes & Circuit Tests >> Electronic Shift Lever System >> DTC P1752-31: Fail Safe Signal (Gear Shift Control Module "B" to "A") No Signal [12/2022 - ] >> Procedure
April 5, 2026: LEMON Manuals is launched! Read the announcement.

DTC P1752-31: Fail Safe Signal (Gear Shift Control Module "B" to "A") No Signal [12/2022 - ]: Procedure

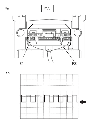
  1. INSPECT SHIFT ACTUATOR ECU (SHIFT CONTROL ACTUATOR ASSSEMBLY) (CHECK FS TERMINAL WAVEFORM) 

    Pre-procedure1

    • Connect an oscilloscope between the shift control ECU (transmission floor shift assembly) terminals specified in the table below.
    • Turn the ignition switch to ON.
    • Measure the waveform.
      GTY1157800Courtesy of © TOYOTA, LICENSE AGREEMENT TMS1002
      *a Component with harness connected
      (shift control ECU (transmission floor shift assembly))
      *b Waveform (Fail Safe Signal)
      Tester Connection Condition Equipment Setting
      K53-14 (FS) - K53-9 (E1) Ignition switch ON 10 V/DIV., 20 ms./DIV.

      HINT: 

      Perform the inspection with the connector of the shift control ECU and shift actuator ECU connected.

      Result

      Proceed to
      OK
      NG

    Post-procedure1

    • Turn the ignition switch off.

    Result: 

    OK 

    REPLACE SHIFT CONTROL ECU (TRANSMISSION FLOOR SHIFT ASSEMBLY). Refer to  REMOVAL [12/2022 - ] 

    Result: 

    NG 

    See step  2

  2. CHECK HARNESS AND CONNECTOR (SHIFT CONTROL ECU - SHIFT ACTUATOR ECU) 

    Pre-procedure1

    • Disconnect the K53 shift control ECU (transmission floor shift assembly) connector.
    • Disconnect the C50 shift actuator ECU (shift control actuator assembly) connector.
    • Measure the resistance according to the value(s) in the table below.

      Standard Resistance

      Tester Connection Condition Specified Condition Result
      K53-14 (FS) - C50-6 (FS) Always Below 1 Ω Ω
      K53-14 (FS) or C50-6 (FS) - Body ground and other terminals Always 10 kΩ or higher

      Result

      Proceed to
      OK
      NG

    Post-procedure1

    • Connect the shift actuator ECU (shift control actuator assembly) connector.
    • Connect the shift control ECU (transmission floor shift assembly) connector.

    Result: 

    OK 

    REPLACE SHIFT ACTUATOR ECU (SHIFT CONTROL ACTUATOR ASSSEMBLY). Refer to  REMOVAL [12/2022 - ] 

    Result: 

    NG 

    REPAIR OR REPLACE HARNESS OR CONNECTOR