LEMON Manuals: Even more car manuals for everyone: 1960-2025
Home >> Toyota >> 2024 >> RAV4 LE, AWD >> Repair and Diagnosis (Single Page) >> Accessories & Equipment >> Drivers Assistance Systems - ADAS >> Lane Control System - Diagnostics - Introduction >> Lane Control System >> System Diagram [11/2018 - 12/2021] >> System Diagram [11/2018 - 12/2021]
April 5, 2026: LEMON Manuals is launched! Read the announcement.

System Diagram [11/2018 - 12/2021]

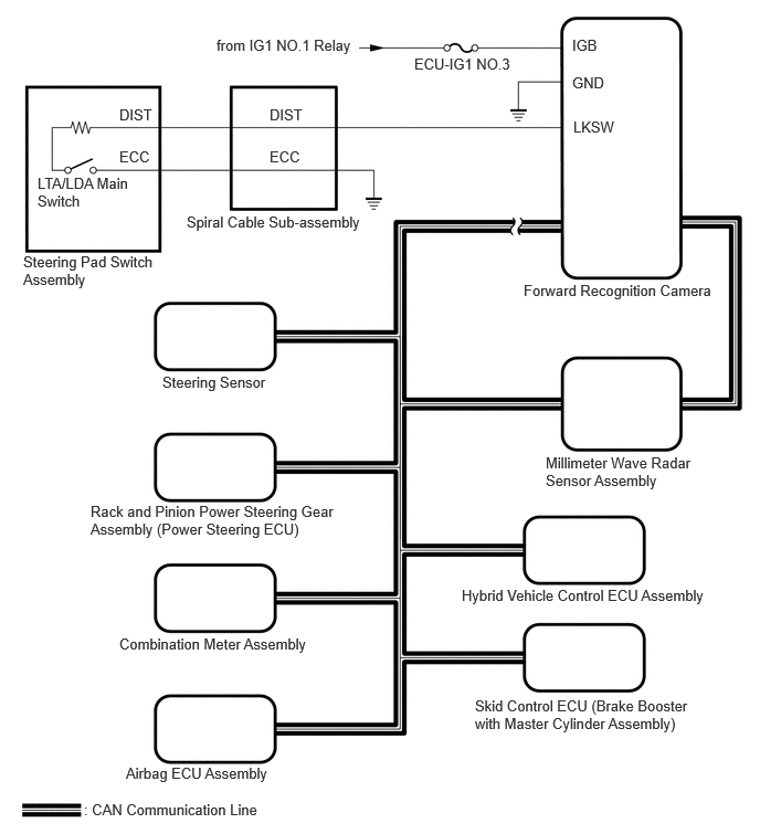
for HV Model: 

Fig 1: for HV Model [11/2018 - 12/2021]
GTY1114959Courtesy of © TOYOTA, LICENSE AGREEMENT TMS1002

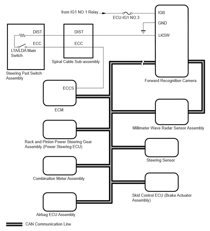
for Gasoline Model: 

Fig 2: for Gasoline Model [11/2018 - 12/2021]
GTY1114649Courtesy of © TOYOTA, LICENSE AGREEMENT TMS1002