LEMON Manuals: Even more car manuals for everyone: 1960-2025
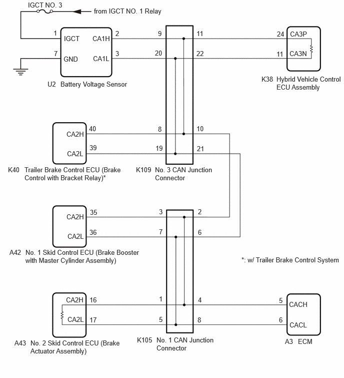
Home >> Toyota >> 2025 >> 4Runner TRD Pro >> Repair and Diagnosis (Single Page) >> Accessories & Equipment >> Communication Devices >> Can Communication System (HEV) - Circuit Tests (1 Of 3) & Diagnostic Codes >> CAN COMMUNICATION SYSTEM (for 1Motor-HEV Model) >> DTC U0077-88: Control Module Communication Bus "E" Off Bus Off; DTC U0137-87: Lost Communication With Trailer Brake Control Module Missing Message; DTC U029A-87: Lost Communication with Hybrid/EV Battery Sensor Module Missing Message; DTC U111A-00: Lost Communication with ECM/PCM "A" (ch2); DTC U111A-87: Lost Communication with ECM/PCM "A" (ch2) Missing Message; DTC U1150-87: Lost Communication with Hybrid Powertrain Control Module (ch2) Missing Message; DTC U1170-87: Lost Communication with Brake System Control Module (Secondary CAN Line) Missing Message; DTC U117D-87: Lost Communication with Brake System Control Module (ch4) Missing Message [12/2024 - ] >> Wiring Diagram
April 5, 2026: LEMON Manuals is launched! Read the announcement.

DTC U0077-88: Control Module Communication Bus "E" Off Bus Off; DTC U0137-87: Lost Communication With Trailer Brake Control Module Missing Message; DTC U029A-87: Lost Communication with Hybrid/EV Battery Sensor Module Missing Message; DTC U111A-00: Lost Communication with ECM/PCM "A" (ch2); DTC U111A-87: Lost Communication with ECM/PCM "A" (ch2) Missing Message; DTC U1150-87: Lost Communication with Hybrid Powertrain Control Module (ch2) Missing Message; DTC U1170-87: Lost Communication with Brake System Control Module (Secondary CAN Line) Missing Message; DTC U117D-87: Lost Communication with Brake System Control Module (ch4) Missing Message [12/2024 - ]: Wiring Diagram

GTY1279795Courtesy of © TOYOTA, LICENSE AGREEMENT TMS1002