LEMON Manuals: Even more car manuals for everyone: 1960-2025
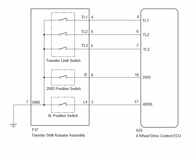
Home >> Toyota >> 2025 >> 4Runner TRD Pro >> Repair and Diagnosis (Single Page) >> Transmission >> Transfer Case >> Touch Select 2-4 And High-Low System (VF2DM) - Diagnostic Codes & Circuit Tests >> Touch Select 2-4 And High-Low System >> DTC P1784-62: 4WD/AWD Transfer Case Shift Motor Limit Switch and Transfer Case H4-L4 Position Switch Signal Compare Failure [12/2024 - ] >> Wiring Diagram
April 5, 2026: LEMON Manuals is launched! Read the announcement.

DTC P1784-62: 4WD/AWD Transfer Case Shift Motor Limit Switch and Transfer Case H4-L4 Position Switch Signal Compare Failure [12/2024 - ]: Wiring Diagram

GTY1278818Courtesy of © TOYOTA, LICENSE AGREEMENT TMS1002