LEMON Manuals: Even more car manuals for everyone: 1960-2025
Home >> Toyota >> 2025 >> GR86 Base, Automatic Trans >> Repair and Diagnosis (Single Page) >> Engine Performance >> System >> Engine Control System - Diagnostic Codes (6 Of 6) & Circuit Tests >> SFI System >> DTC P2610: ECM/PCM Engine Off Timer Performance [11/2021 - ] >> Monitor Description
April 5, 2026: LEMON Manuals is launched! Read the announcement.

Monitor Description

OUTLINE OF DIAGNOSIS 

Detect malfunction of soaking timer IC by the five diagnoses below.

Judge as NG when malfunction is detected 2 times or more consecutively in any diagnosis of Monitor #1 - 5.

Monitor Number Explanation Time required for diagnosis
Monitor #1
<Timer diagnosis>
Perform diagnosis of the soaking timer IC accuracy 128 ms
Monitor #2
<Full count diagnosis>
Perform diagnosis of the soaking timer IC counter function 128 ms
Monitor #3
<Soaking timer IC setting diagnosis>
Perform diagnosis of communication between ECM and soaking timer IC 128 ms
Monitor #4
<Timer diagnosis (during soaking)>
Perform diagnosis of the soaking timer IC accuracy during soaking None
Monitor #5
<Wake-up diagnosis>
Perform diagnosis of wake-up function None
GTY1160711Courtesy of © TOYOTA, LICENSE AGREEMENT TMS1002
GTY1160470Courtesy of © TOYOTA, LICENSE AGREEMENT TMS1002

COMPONENT DESCRIPTION 

The soak timer IC is built into the ECM.

EXECUTION CONDITION 

MONITOR#1 <TIMER DIAGNOSIS>

Secondary parameters Execution condition
Ignition switch OFF
Battery voltage 10.9 V or higher
Elapsed time after starting the engine More than 19 s
and
Less than 61439 s
MONITOR#2 <FULL COUNT DIAGNOSIS>

Secondary parameters Execution condition
Ignition switch OFF
Battery voltage 10.9 V or higher
Counter in ECM 4 s or more
MONITOR#3 <SOAKING TIMER IC SETTING DIAGNOSIS>

Secondary parameters Execution condition
Ignition switch OFF
Battery voltage 10.9 V or higher
MONITOR#4 <TIMER DIAGNOSIS (DURING SOAKING)>

Secondary parameters Execution condition
Ignition switch OFF
Battery voltage 10.9 V or higher
MONITOR#5 <WAKE-UP DIAGNOSIS>

Secondary parameters Execution condition
Ignition switch OFF
Time in the soaking timer IC More than 3600s

GENERAL DRIVING CYCLE 

Perform the diagnosis only once when the ignition switch is OFF and when the ignition switch is ON after the soaking of one hour or more.

DIAGNOSTIC METHOD 

Monitor#1 <Timer diagnosis> 

Start the count up operation of counters in ECM and in soaking timer IC when the engine is started.

Judge as timer malfunction if the difference between the counter in ECM and counter in soaking timer IC exceeds the allowable limit when the ignition switch is OFF.

GTY1160512Courtesy of © TOYOTA, LICENSE AGREEMENT TMS1002

Judge as NG when the following conditions are established.

Judgment value 

Malfunction Criteria Threshold Value
Counter in ECM - Counter in soaking timer IC / Counter in ECM Less than -0.24, or more than 0.24

Monitor#2 <Full count diagnosis> 

Reset the counter in soaking timer IC and start the count up operation.

Judge as full count diagnosis malfunction if counter in soaking timer IC is not the specified value after 4 seconds.

GTY1160575Courtesy of © TOYOTA, LICENSE AGREEMENT TMS1002

Judge as NG when the following conditions are established.

Judgment value 

Malfunction Criteria Threshold Value
Counter in soaking timer IC Not equal to 65535 counts

Monitor#3 <Soaking timer IC setting diagnosis> 

When setting the activation setting time to soaking timer IC, compare the writing value to soaking timer IC with read out value. Judge as malfunction if the values do not match 3 times in a row.

GTY1160668Courtesy of © TOYOTA, LICENSE AGREEMENT TMS1002

Judge as NG when the following conditions are established.

Judgment value 

Malfunction Criteria Threshold Value
Writing value and read out value when setting the soaking timer Unmatch

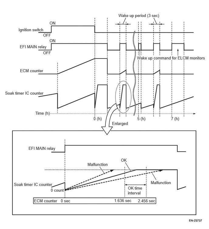
Monitor#4 <Timer diagnosis (during soaking)> 

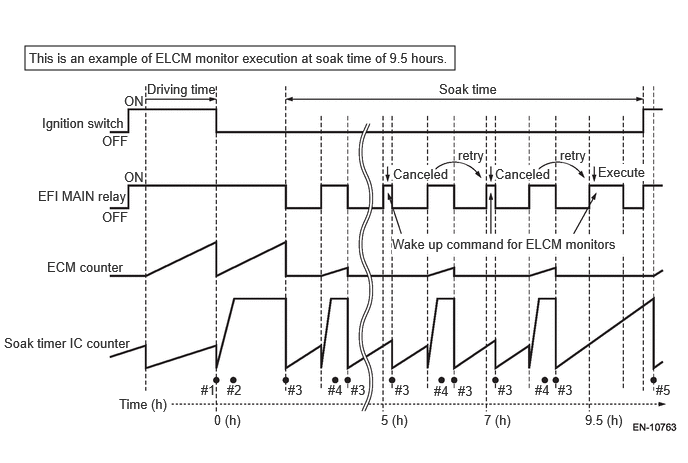
Wake-up at the predetermined interval until 5, 7 or 9.5 hours have passed after the ignition switch is OFF, and compare the counter in soaking timer IC with the counter in ECM.

Judge as malfunction if the counter in soaking timer IC is counted up to maximum value when the counter in ECM is 1636 ms, or if the counter in soaking timer IC is not counted up to maximum value when the counter in ECM is 2456 ms.

GTY1160704Courtesy of © TOYOTA, LICENSE AGREEMENT TMS1002

Judge as NG when the following conditions are established.

Judgment value 

Malfunction Criteria Threshold Value
Counter in ECM 1636 ms or less
Counter in soaking timer IC 65535 counts
Or,
Counter in ECM 2456 ms or more
Counter in soaking timer IC Not equal to 65535 counts

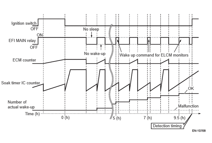
Monitor#5 <Wake-up diagnosis> 

Store the number of wake-up activation when the ECM wakes up by the soaking timer IC.

Next time when the ignition switch is ON, if the number of wake-up activation does not reach the predetermined value even though the counter in soaking timer IC operates 1 hour or more, judge as wake-up malfunction.

GTY1160396Courtesy of © TOYOTA, LICENSE AGREEMENT TMS1002

Judge as NG when the following conditions are established.

Judgment value 

Malfunction Criteria Threshold Value
Number of wake-up Not equal to wake-up indication count

Time needed for diagnosis 

Monitor#1: 0.128 s

Monitor#2: 0.128 s

Monitor#3: 0.128 s

Monitor#4: Less than 1 s

Monitor#5: Less than 1 s

Malfunction indicator light illumination 

Illuminates when malfunction occurs in 2 continuous driving cycles.