LEMON Manuals: Even more car manuals for everyone: 1960-2025
Home >> Toyota >> 2025 >> Land Cruiser Base >> Repair and Diagnosis (Single Page) >> Accessories & Equipment >> Anti-Theft Systems >> Smart Key System (For Start) - Diagnostic Codes (1 Of 2) >> SMART KEY SYSTEM (for Start Function) >> DTC B2799-86: Engine Immobilizer System Signal (Some Circuit Quantity, Reported via Serial Data) Invalid [02/2024 - ] >> Procedure
April 5, 2026: LEMON Manuals is launched! Read the announcement.

DTC B2799-86: Engine Immobilizer System Signal (Some Circuit Quantity, Reported via Serial Data) Invalid [02/2024 - ]: Procedure

  1. REGISTER ECU COMMUNICATION ID 
    1. Register the ECU communication ID code.

      Refer to REGISTRATION [02/2024 - ]

      Result

      Proceed to
      NEXT

    Result: 

    NEXT 

    See step  2

  2. CHECK ID CODE BOX (IMMOBILIZER CODE ECU) (TERMINAL EFII) 
    1. Using an oscilloscope, check the waveform.
      GTY1215079Courtesy of © TOYOTA, LICENSE AGREEMENT TMS1002
      *a Component with harness connected
      (ID Code Box (Immobilizer Code ECU))
      *b Waveform
      *c Approximately 160 ms. *d Approximately 270 ms.

      OK

      Tester Connection Condition Tool Setting Specified Condition
      E83-3 (EFII) - Body ground Within 3 seconds of hybrid control system start or within 3 seconds of ignition switch turned to ON after cable disconnected and reconnected to auxiliary battery 2 V/DIV., 500 ms./DIV. Pulse generation
      (See waveform)

      Result

      Result Proceed to
      Normal waveform A
      Terminal EFII stuck low (2.4 V or less) B
      Waveform not output, or has abnormal wavelength or shape, or terminal EFII stuck high (12 V) C

    Result: 

    See step  7

    Result: 

    See step  9

    Result: 

    See step  3

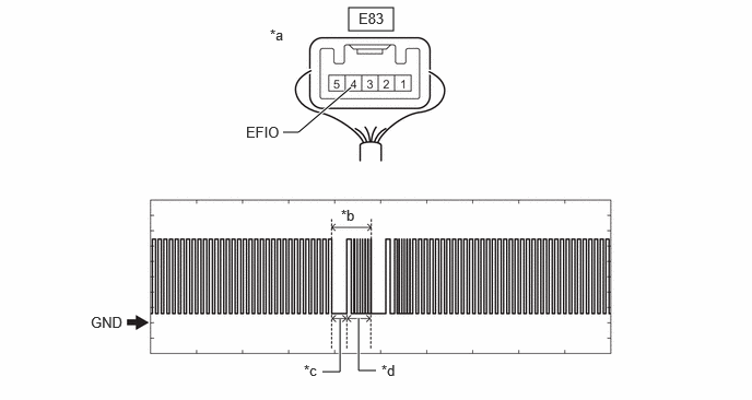
  3. CHECK ID CODE BOX (IMMOBILIZER CODE ECU) (TERMINAL EFIO) 
    1. Using an oscilloscope, check the waveform.
      GTY1219049Courtesy of © TOYOTA, LICENSE AGREEMENT TMS1002
      *a Component with harness connected
      (ID Code Box (Immobilizer Code ECU))
      *b Waveform
      *c Approximately 160 ms. *d Approximately 270 ms.

      Measurement Condition

      Tester Connection Condition Tool Setting Specified Condition
      E83-4 (EFIO) - Body ground Within 3 seconds of hybrid control system start or within 3 seconds of ignition switch turned to ON after cable disconnected and reconnected to auxiliary battery 2 V/DIV., 500 ms./DIV. Pulse generation
      (See waveform)

      Result

      Proceed to
      OK
      NG

    Result: 

    NG 

    See step  6

    Result: 

    OK 

    See step  4

  4. REGISTER ECU COMMUNICATION ID (ID CODE BOX (IMMOBILIZER CODE ECU) - ECM) 
    1. Register the ECU communication ID codes.

      Refer to REGISTRATION [02/2024 - ]

      Result

      Proceed to
      NEXT

    Result: 

    NEXT 

    See step  5

  5. CHECK WHETHER HYBRID CONTROL SYSTEM STARTS 

    Pre-procedure1

    1. Using an electrical key transmitter sub-assembly which is registered to the vehicle, turn the ignition switch to ON.

      Procedure1

    2. Check that the hybrid control system starts 5 seconds after the ignition switch turned to ON.

      OK

      Hybrid control system starts normally.

      Result

      Proceed to
      OK
      NG

      Post-procedure1

    3. None

    Result: 

    OK 

    END (ECU COMMUNICATION ID HAS NOT BEEN REGISTERED) 

    Result: 

    NG 

    REPLACE ECM 

    Refer to REMOVAL [02/2024 - ]

  6. CHECK HARNESS AND CONNECTOR (ID CODE BOX (IMMOBILIZER CODE ECU) - ECM) 

    Pre-procedure1

    1. Disconnect the E83 ID code box (immobilizer code ECU) connector.
    2. Disconnect the A9 ECM connector

      Procedure1

    3. Measure the resistance according to the value(s) in the table below.

      Standard Resistance

      Tester Connection Condition Specified Condition
      E83-4 (EFIO) - A9-55 (IMI) Always Below 1 Ω
      E83-4 (EFIO) or A9-55 (IMI) - Other terminals and body ground Always 10 kΩ or higher

      Result

      Proceed to
      OK
      NG

      Post-procedure1

    4. None

    Result: 

    OK 

    REPLACE ID CODE BOX (IMMOBILIZER CODE ECU) 

    Refer to REMOVAL [02/2024 - ]

    Result: 

    NG 

    REPAIR OR REPLACE HARNESS OR CONNECTOR 

  7. CHECK ECM 

    Pre-procedure1

    1. Disconnect the A9 ECM connector

      Procedure1

    2. Measure the voltage according to the value(s) in the table below.

      Standard Voltage

      Tester Connection Condition Specified Condition
      A9-54 (IMO) - Body ground Ignition switch turned to ON using registered electrical key transmitter sub-assembly Terminal IMO stuck low (2.4 V or less)
      Terminal IMO stuck high (12 V) or abnormal waveform

      Result

      Result Proceed to
      Terminal IMO stuck low (2.4 V or less) A
      Terminal IMO stuck high (12 V) or abnormal waveform B

      Post-procedure1

    3. None

    Result: 

    REPLACE ECM 

    Refer to REMOVAL [02/2024 - ]

    Result: 

    See step  8

  8. CHECK HARNESS AND CONNECTOR (ID CODE BOX (IMMOBILIZER CODE ECU) - ECM) 

    Pre-procedure1

    1. Disconnect the E83 ID code box (immobilizer code ECU) connector.

      Procedure1

    2. Measure the resistance according to the value(s) in the table below.

      Standard Resistance

      Tester Connection Condition Specified Condition
      E83-3 (EFII) - A9-54 (IMO) Always Below 1 Ω
      E83-3 (EFII) or A9-54 (IMO) - Other terminals and body ground Always 10 kΩ or higher
      E83-4 (EFIO) - A9-55 (IMI) Always Below 1 Ω
      E83-4 (EFIO) or A9-55 (IMI) - Other terminals and body ground Always 10 kΩ or higher

      Result

      Proceed to
      OK
      NG

      Post-procedure1

    3. None

    Result: 

    OK 

    REPLACE ID CODE BOX (IMMOBILIZER CODE ECU) 

    Refer to REMOVAL [02/2024 - ]

    Result: 

    NG 

    REPAIR OR REPLACE HARNESS OR CONNECTOR 

  9. CHECK HARNESS AND CONNECTOR (ID CODE BOX (IMMOBILIZER CODE ECU) - ECM) 

    Pre-procedure1

    1. Disconnect the E83 ID code box (immobilizer code ECU) connector.
    2. Disconnect the A9 ECM connector.

      Procedure1

    3. Measure the resistance according to the value(s) in the table below.

      Standard Resistance

      Tester Connection Condition Specified Condition
      E83-3 (EFII) - A9-54 (IMO) Always Below 1 Ω
      E83-3 (EFII) or A9-54 (IMO) - Other terminals and body ground Always 10 kΩ or higher

      Result

      Proceed to
      OK
      NG

      Post-procedure1

    4. None

    Result: 

    OK 

    REPLACE ECM 

    Refer to REMOVAL [02/2024 - ]

    Result: 

    NG 

    REPAIR OR REPLACE HARNESS OR CONNECTOR