LEMON Manuals: Even more car manuals for everyone: 1960-2025
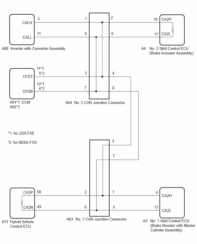
Home >> Toyota >> 2025 >> Prius LE >> Repair and Diagnosis (Single Page) >> Accessories & Equipment >> Communication Devices >> Can Communication System (HEV) - Circuit Tests (1 Of 3) & Diagnostic Codes >> CAN COMMUNICATION SYSTEM (for HEV Model) >> DTC U111A-87: Lost Communication with ECM/PCM "A" (ch2) Missing Message; DTC U1150-00: Lost Communication with Hybrid Powertrain Control Module (ch2); DTC U1150-87: Lost Communication with Hybrid Powertrain Control Module (ch2) Missing Message; DTC U1154-87: Lost Communication with Drive Motor Control Module "A" (ch2) Missing Message; DTC U1159-87: Lost Communication with Electronic Brake Booster Control Module "A" (ch3) Missing Message; DTC U1170-08: Lost Communication with Brake System Control Module (ch2) Bus Signal / Message Failure; DTC U1170-87: Lost Communication with Brake System Control Module (ch2) Missing Message; DTC U117D-87: Lost Communication with Brake System Control Module (ch4) Missing Message; DTC U11BC-87: Lost Communication with Hybrid/EV Powertrain Control Module (ch6) Missing Message [12/2022 - ] >> Wiring Diagram
April 5, 2026: LEMON Manuals is launched! Read the announcement.

DTC U111A-87: Lost Communication with ECM/PCM "A" (ch2) Missing Message; DTC U1150-00: Lost Communication with Hybrid Powertrain Control Module (ch2); DTC U1150-87: Lost Communication with Hybrid Powertrain Control Module (ch2) Missing Message; DTC U1154-87: Lost Communication with Drive Motor Control Module "A" (ch2) Missing Message; DTC U1159-87: Lost Communication with Electronic Brake Booster Control Module "A" (ch3) Missing Message; DTC U1170-08: Lost Communication with Brake System Control Module (ch2) Bus Signal / Message Failure; DTC U1170-87: Lost Communication with Brake System Control Module (ch2) Missing Message; DTC U117D-87: Lost Communication with Brake System Control Module (ch4) Missing Message; DTC U11BC-87: Lost Communication with Hybrid/EV Powertrain Control Module (ch6) Missing Message [12/2022 - ]: Wiring Diagram

GTY1140208Courtesy of © TOYOTA, LICENSE AGREEMENT TMS1002