LEMON Manuals: Even more car manuals for everyone: 1960-2025
Home >> Toyota >> 2025 >> Prius LE >> Repair and Diagnosis (Single Page) >> Transmission >> Transmission Control Systems >> Electronic A/T Shift Lever System - Diagnostic Codes & Circuit Tests >> Electronic Shift Lever System >> DTC P18A8-62: Gear Shift Control Module "A"/"B" IGCT-Scene Signal Compare Failure [03/2023 - ] >> Procedure
April 5, 2026: LEMON Manuals is launched! Read the announcement.

DTC P18A8-62: Gear Shift Control Module "A"/"B" IGCT-Scene Signal Compare Failure [03/2023 - ]: Procedure

  1. CHECK HARNESS AND CONNECTOR (IGS1 TERMINAL VOLTAGE) 

    Pre-procedure1

    • Disconnect the C49 shift actuator ECU (shift control actuator assembly) connector.
    • Connect the cable to the negative (-) auxiliary battery terminal.
    • Turn the ignition switch to ON.
    • Measure the voltage according to the value(s) in the table below.

      Standard Voltage

      Tester Connection Switch Condition Specified Condition Result
      C49-5 (IGC1) - Body ground Ignition switch ON 11 to 14 V V

      Result

      Proceed to
      OK
      NG

    Post-procedure1

    • Turn the ignition switch off.
    • Disconnect the cable from the negative (-) auxiliary battery terminal.
    • Reconnect the shift actuator ECU (shift control actuator assembly) connector.

    Result: 

    OK 

    REPLACE SHIFT CONTROL ACTUATOR ASSEMBLY (SHIFT ACTUATOR ECU) 

    Refer to REMOVAL [12/2022 - ]

    Result: 

    NG 

    See step  2

  2. INSPECT IGCT SCENE RELAY 

    Pre-procedure1

    • Remove the IGCT SCENE relay from the No. 3 relay block.
    • Measure the resistance according to the value(s) in the table below.
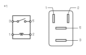
      GTY1131773Courtesy of © TOYOTA, LICENSE AGREEMENT TMS1002
      *1 IGCT SCENE Relay

      Standard Resistance

      Tester Connection Condition Specified Condition Result
      3 - 5 Auxiliary battery voltage not applied between terminals 1 and 2 10 kΩ or higher
      3 - 5 Auxiliary battery voltage applied between terminals 1 and 2 Below 1 Ω Ω

      Result

      Proceed to
      OK
      NG

    Post-procedure1

    • Install the IGCT SCENE relay.

    Result: 

    OK 

    REPAIR OR REPLACE HARNESS OR CONNECTOR (IGC1 POWER SUPPLY CIRCUIT) 

    Result: 

    NG 

    REPLACE IGCT SCENE RELAY