Activating Intake Manifold change-over valve N156
- Press → button.
Indicated on display
| Output Diagnostic Test Mode -> Intake Manifold change-over valve N156 |
The twin path intake manifold change-over valve must click until the next final control is activated by pressing the → button.
NOTE:
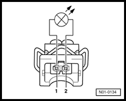
- If there is sufficient vacuum the twin path Intake manifold change-over valve N156 activates the valve actuating element. The change-over valve is located below the intake manifold, on the right-side next to the secondary air injection valve. Checking Intake manifold change-over valve → Intake Manifold change-over valve N156 , checking .
If the valve does not click:
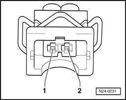
- Disconnect 2-pin harness connector from Intake manifold change-over valve N156 - arrow -.
- Using adapter cables from VW 1594 connect voltage tester VAG 1527B to disconnected harness connector. LED must flash (bright/darker).
If LED flashes:
- Proceed with output DTM until completed.
- Switch ignition off.
- Replace Intake Manifold change-over valve N156.
- Check DTC memory. If necessary, repair any malfunctions and erase DTC memory → Diagnostic Trouble Code (DTC) memory, checking and erasing (scan tool functions 02 and 05) .
- Display readiness code → Readiness code (function 15), displaying . If DTC memory has been erased, the readiness code must be generated again → Readiness code (function 15), generating .
If LED does not flash:
- Proceed with output DTM until completed.
- Switch ignition off.
- Remove wiper arms and plenum chamber cover. → 92 WINDSHIELD WIPER & WASHER SYSTEM
- Connect Test box VAG 1598/31 to control module wiring harness. Engine control module is not connected by this action.
- Check wire between test box socket 104 and 2-pin harness connector terminal 4 on relay plate for open circuit using wiring diagram. Wire resistance: max. 1.5 Ω
- Using wiring diagram, check wire between terminal 1 of relay plate and Fuel Pump (FP) relay J17 for open circuit. Wire resistance: max. 1.5 Ω
If no wiring malfunction is detected:
- Replace Motronic ECM J220 → Engine Control Module (ECM), replacing .