LEMON Manuals: Even more car manuals for everyone: 1960-2025
Home >> Volkswagen >> 2001 >> GTI GLX >> Repair and Diagnosis >> Engine Mechanical >> Fuel System >> 2.8L & 3.2L - Generic Scan Tool, Engine Code(S): AFP, BDF, BJS [A4 Platform] (28 Ignition/Glow Plug System - St Generic Scan Tool) >> 38 Automatic Transmission - Gears, Hydraulic controls >> Electrical components for regulating automatic transmissions 01M and 09A >> Multi-Function Transmission Range (TR) Switch, checking >> Checking wires to Transmission Control Module (TCM)
April 5, 2026: LEMON Manuals is launched! Read the announcement.

Checking wires to Transmission Control Module (TCM)

Vehicles with 01M transmission 

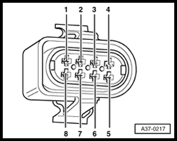
Fig 1: Identifying Multi-Function Transmission Range (TR) Switch Terminals
GW00001138Courtesy of VOLKSWAGEN UNITED STATES, INC.

Terminal 1+socket 63

Terminal 2+socket 40

Terminal 3 + socket 1

Terminal 5 + socket 18

Terminal 6 + socket 62

Terminal 7 + socket 23

Wire resistance: max. 1.5 Ω

Vehicles with 09A transmission 

Fig 2: Locating 8-Pin Connector To Transmission Control Module
GW00001139Courtesy of VOLKSWAGEN UNITED STATES, INC.

Terminal 2+socket 40

Terminal 3 + socket 45

Terminal 3 + socket 68

Terminal 4 + socket 41

Terminal 5 + socket 18

Terminal 6 + socket 1

Terminal 6 + socket 24

Terminal 7 + socket 19

Wire resistance: max. 1.5 Ω

Continuation for all vehicles 

Specified value: ∞ Ω

If no malfunctions are found in wires:

Vehicles with 01M transmission 

Refer to 37 AUTOMATIC TRANSMISSION - CONTROLS, HOUSING

Vehicles with 09A transmission 

Refer to 37 - AUTOMATIC TRANSMISSION - CONTROLS, HOUSING

Continuation for all vehicles 

If no malfunctions are detected in the wires and the selector lever cable adjustment is OK: