LEMON Manuals: Even more car manuals for everyone: 1960-2025
Home >> Volkswagen >> 2008 >> R32 >> Repair and Diagnosis (Single Page) >> Engine Performance >> Ignition System >> 3.2L - Ignition/Glow Plug System - Engine Code(S): CBRA (As Of 07.2007) >> 28 Ignition/Glow Plug System >> Ignition System, Servicing >> Camshaft Position Sensor 2 G163, Checking
April 5, 2026: LEMON Manuals is launched! Read the announcement.

Camshaft Position Sensor 2 G163, Checking

NOTE:

Use only gold-plated terminals when servicing terminals in harness connectors of Camshaft Position (CMP) Sensor 2 -G163-.

Special tools and workshop equipment required 

Test requirements 

Test procedure 

-- Perform a preliminary check to verify the customers complaint. Refer to PRELIMINARY CHECK .

Start diagnosis

-- Disconnect the Camshaft Position (CMP) Sensor 2 -G163- electrical harness connector -2-.

Fig 1: Identifying CMP Sensor G40, CMP Sensor 2 G163 And Connectors
GWWN13-0653Courtesy of VOLKSWAGEN GROUP OF AMERICA, INC.

-- Switch the ignition on.

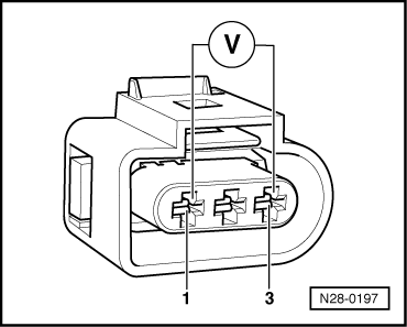
-- Using a Multimeter, Check the Camshaft Position (CMP) Sensor 2 -G163- electrical harness connector terminals 1 to 3 for voltage.

Fig 2: Identifying Voltage Check Of Camshaft Position (CMP) Sensor G40 Electrical Harness Connector Terminals 1 To 3
GWWN28-0197Courtesy of VOLKSWAGEN GROUP OF AMERICA, INC.

Specified value: about 5.0 V

-- Switch the ignition off.

If the specification was obtained:

-- Replace Camshaft Position (CMP) Sensor 2 -G163-.

If the specification was not obtained:

Checking wiring 

If the specified value was not obtained:

If the manufacturers test box is being used. Perform the following step.

-- Install the test box.

If the manufacturers test box is not being used. Perform the following step.

-- Remove the Engine Control Module (ECM) -J623-. Refer to ENGINE CONTROL MODULE J623, REPLACING .

-- Using a Multimeter, Check the Camshaft Position (CMP) Sensor 2 -G163- electrical harness connector to the Engine Control Module (ECM) electrical harness connector T121 for resistance.

Fig 3: Identifying 3-Pin Electrical Harness Connector
GWWN24-1001Courtesy of VOLKSWAGEN GROUP OF AMERICA, INC.
Camshaft Position (CMP) Sensor 2 -G163- electrical harness connector terminals Engine Control Module (ECM) electrical harness connector T121 terminals or test box sockets
1 98
2 87
3 108

Specified value: 1.5 Ω Max.

If the specified value was not obtained:

-- Check the wiring connection for an open circuit, short circuit to Battery (+) or Ground (GND).

-- Check the wiring connection for damage, corrosion, loose or broken terminals.

-- If necessary, repair the faulty wiring connection.

-- Erase the DTC memory. Refer to DIAGNOSTIC MODE 04 - ERASE DTC MEMORY .

-- Perform a road test to verify repair.

If the DTC does not return:

Repair complete, Generate readiness code. Refer to READINESS CODE DESCRIPTION .

-- End diagnosis.

If the DTC returns and no malfunction is found in the wiring and the voltage supply was OK:

-- Replace the Engine Control Module (ECM) -J623-. Refer to ENGINE CONTROL MODULE J623, REPLACING .

-- Assembly is performed in the reverse of the removal.

Final procedures 

After repair work, the following work steps must be performed in the following sequence:

  1. Check the DTC memory.  Refer to DIAGNOSTIC MODE 03 - READ DTC MEMORY .
  2. If necessary, erase the DTC memory.  Refer to DIAGNOSTIC MODE 04 - ERASE DTC MEMORY .
  3. If the DTC memory was erased, generate readiness code.  Refer to READINESS CODE .

End of diagnosis