LEMON Manuals: Even more car manuals for everyone: 1960-2025
Home >> Volkswagen >> 2017 >> Passat R-Line >> Repair and Diagnosis (Single Page) >> Quick Lookups >> Wiring Diagrams >> OEM Connector End Views -- PASSAT >> Conn. Views: Component W/Prefix W To Z >> Front Passenger Seat Heating Element With Seat Occupant Detection Control Module -ZX14- >> Overview
April 5, 2026: LEMON Manuals is launched! Read the announcement.

Front Passenger Seat Heating Element With Seat Occupant Detection Control Module -ZX14-: Overview

Passenger Occupant Detection System Pressure Sensor -G452- 

6-PIN CONNECTOR -T6AD- 

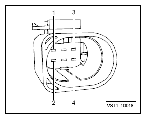
Fig 1: Front Passenger Seat Heating Element With Seat Occupant Detection Control Module Connector End View (ZX14)
G12755751Courtesy of VOLKSWAGEN GROUP OF AMERICA, INC.
Cavity Function
1 Signal (+), heater
2 Ground (31).
3 Signal
4 Ground (31)
5 Signal monitor
6 ...