LEMON Manuals: Even more car manuals for everyone: 1960-2025
Home >> ZAP >> 2009 >> XL >> Repair and Diagnosis >> Steering >> Manual Steering >> Steering System >> Front Wheel Alignment Parameters >> Inspection & Adjustment
April 5, 2026: LEMON Manuals is launched! Read the announcement.

Inspection & Adjustment

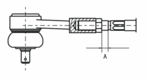
Adjustment of the Toe-in

  1. Loosen the lock nut of tie rod.
  2. Rotate the tie rod joint and adjust the Toe-in.

Attention: 

Fig 1: Installed Position Of Outer Tie Rod End
G00498400Courtesy of LIUZHOU WULING SPECIAL PURPOSE VEHICLE MANUFACTURING CO. ,LTD