LEMON Manuals: Even more car manuals for everyone: 1960-2025
Home >> Acura >> 1994 >> Integra GS-R, 2D Coupe >> Repair and Diagnosis (Single Page) >> Transmission >> Automatic Trans >> Diagnosis - Mp7A >> Operation >> Transmission Control Module
April 5, 2026: LEMON Manuals is launched! Read the announcement.

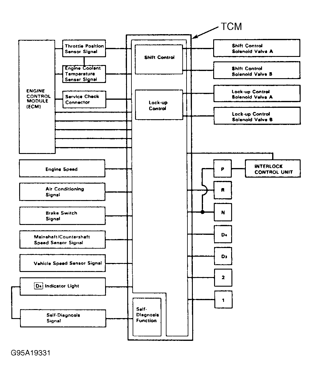
Transmission Control Module

The Transmission Control Module (TCM) receives information from various input devices and uses this information to control shift and lock-up control solenoid valves. See Figure . The TCM contains self-diagnostic system which stores fault code if failure or problem exists in transaxle electronic control system. The fault code may be retrieved to determine transaxle problem area. See SELF-DIAGNOSTIC SYSTEM  . Fault code may also be referred to as Diagnostic Trouble Code (DTC). The TCM is located behind driver's side kick panel. See Figure .